Kia Optima Hybrid: механическая система двигателя / процедуры отключения при высоком напряжении

Процедуры отключения при высоком напряжении
Обязательно прочтите и соблюдайте «Общую информацию по технике безопасности». и осторожность» перед выполнением любых работ, связанных с высоким напряжением. система. Несоблюдение инструкций по технике безопасности может привести к серьезным электрические травмы.
Компоненты высокого напряжения: блок аккумуляторной батареи высокого напряжения, Блок реле питания (PRA), ЭБУ BMS, гибридный блок управления питанием (HPCU), Гибридный приводной двигатель, HSG, электрический компрессор кондиционера, низковольтный преобразователь постоянного тока в постоянный (LDC), силовой кабель, электрический компрессор и т. д.
1.
Выключите зажигание и отсоедините отрицательную (-) клемму вспомогательной аккумуляторной батареи 12 В.
2.
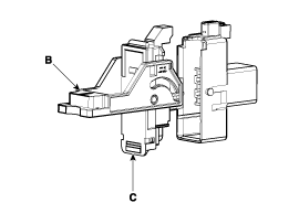
Снимите предохранительную заглушку.
(1)
Снимите крышку предохранительной заглушки (А).

(2)
Отстегните крючок (А) и снимите предохранительную заглушку (С), потянув за рычаг (В) в направлении стрелки.

3.
Подождите более 5 минут, чтобы конденсатор в системе высокого напряжения мог полностью разрядиться.
4.
Измерьте напряжение между клеммами инвертора, чтобы убедиться, что конденсатор в инверторе полностью разряжен.
(1)
Снимите воздушный фильтр в сборе и воздуховод (см. Механическая система двигателя — «Воздушный фильтр»).
(2)
Отсоедините кабель питания инвертора (А).

Отсоедините кабель питания инвертора, как описано ниже.

(3)
Измерьте напряжение между клеммой инвертора (+) и клеммой инвертора (-).

Менее 30 В: Цепь высокого напряжения правильно закрыта
Более 30 В: Неисправность в цепи высокого напряжения

Если измеренное напряжение превышает 30 В, несмотря на то, что предохранительная вилка был удален должным образом, может быть серьезная проблема в высоком цепь напряжения. В этом случае проверьте DTC и никогда не касайтесь верхнего система напряжения.
Общие сведения о безопасности и предостережения

Меры предосторожности     Поскольку гибридные автомобили содержат аккумуляторную батарею высокого напряжения, неправильное обращение с высоковольтной системой или транспортными средствами может привести к серьезным авариям, таким как электрическая ...

Технические характеристики

... Технические характеристики ОписаниеСпецификацииОграничениеОбщиеТипРядный, DOHC?Количество цилиндров4?Диаметр88 мм (3,464 дюйма)?Ход97 мм (3,819 дюйма)?Общий рабочий объем2359 см3 (143,90 куб.дюйма)?Степень сжатия13,0 ± 0,3 ...

Дополнительная информация:

Kia Optima Hybrid (TF HEV) 2016-2020 Руководство по техническому обслуживанию: Переключатель стеклоочистителя-омывателя ветрового стекла Процедуры ремонта


Осмотр Проверьте целостность цепи между клеммами при включении переключателя стеклоочистителя и омывателя. Если это не нормальное состояние, замените стеклоочиститель и переключатель стеклоочистителя. Переключатель стеклоочистителя Снятие переключателя шайбы 1. Снимите верхний и нижний кожухи рулевой колонки, открутив 3 винта. 2. Снимите переключатель стеклоочистителей...

Kia Optima Hybrid (TF HEV) 2016-2020 Руководство по техническому обслуживанию: Электрический стояночный тормоз (EPB) Описание и работа


Описание Описание EPB EPB — это электронный стояночный тормоз. EPB отличается от существующих парковочных систем, которые работают с помощью педали тормоза или рычажного типа. Система EPB посылает сигнал на ECU, когда водитель нажимает переключатель EPB. ЭБУ управляет исполнительным механизмом EPB, состоящим из ...