Kia Optima Hybrid: электрическая система двигателя / процедуры отключения при высоком напряжении

Процедуры отключения при высоком напряжении
Обязательно прочтите и соблюдайте «Общую информацию по технике безопасности». и осторожность» перед выполнением любых работ, связанных с высоким напряжением. система. Несоблюдение инструкций по технике безопасности может привести к серьезным электрические травмы.
Компоненты высокого напряжения: блок аккумуляторной батареи высокого напряжения, Блок реле питания (PRA), ЭБУ BMS, гибридный блок управления питанием (HPCU), Гибридный приводной двигатель, HSG, электрический компрессор кондиционера, низковольтный преобразователь постоянного тока в постоянный (LDC), силовой кабель, электрический компрессор и т. д.
1.
Выключите зажигание и отсоедините отрицательную (-) клемму вспомогательной аккумуляторной батареи 12 В.
2.
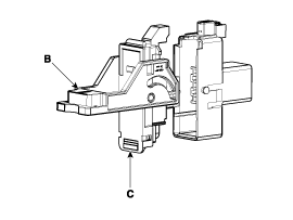
Снимите предохранительную заглушку.
(1)
Снимите крышку предохранительной заглушки (А).

(2)
Отстегните крючок (А) и снимите предохранительную заглушку (С), потянув за рычаг (В) в направлении стрелки.

3.
Подождите более 5 минут, чтобы конденсатор в системе высокого напряжения мог полностью разрядиться.
4.
Измерьте напряжение между клеммами инвертора, чтобы убедиться, что конденсатор в инверторе полностью разряжен.
(1)
Снимите воздушный фильтр в сборе и воздуховод (см. Механическая система двигателя — «Воздушный фильтр»).
(2)
Отсоедините кабель питания инвертора (А).

Отсоедините кабель питания инвертора, как описано ниже.

(3)
Измерьте напряжение между клеммой инвертора (+) и клеммой инвертора (-).

Менее 30 В: Цепь высокого напряжения правильно закрыта
Более 30 В: Неисправность в цепи высокого напряжения

Если измеренное напряжение превышает 30 В, проверьте, удален полностью. При измерении более 30 В, несмотря на то, что предохранительная вилка удалены, это может привести к серьезным проблемам в цепи высокого напряжения. В этом В этом случае проверьте DTC и никогда не прикасайтесь к системе высокого напряжения.
Общие сведения о безопасности и предостережения

Меры предосторожности     Поскольку гибридные автомобили содержат аккумуляторную батарею высокого напряжения, неправильное обращение с высоковольтной системой или транспортными средствами может привести к серьезным авариям, таким как электрическая ...

Технические характеристики

... Спецификация Элементы системы зажиганияСпецификацияКатушка зажиганияПервичное сопротивление0,62 ± 10 % (?)Вторичное сопротивление7,0 ± 15 % (k?)Свечи зажиганияТипFXU16HR11Зазор1,0 ~ 1,1 мм (0,0394 ~ 0,0433 дюйма) ...

Дополнительная информация:

Kia Optima Hybrid (TF HEV) 2016-2020 Руководство по техническому обслуживанию: Электроприводы дверных замков Процедуры ремонта


Осмотр привода замка передней двери Осмотр 1. Снимите обивку передней двери. (См. группу BD - "Передняя дверь") 2. Снимите модуль передней двери. 3. Отсоедините 7-контактный разъем от привода. 4. Проверьте работу привода, подключив питание и массу в соответствии с таблицей. Во избежание повреждений...

Kia Optima Hybrid (TF HEV) 2016-2020 Руководство по техническому обслуживанию: Реле стеклоподъемников Процедуры ремонта


Диагностика осмотра с помощью GDS 1. Он сможет быстро диагностировать дефекты стеклоподъемников с помощью GDS. GDS может принудительно управлять приводом, контролировать входные/выходные значения и выполнять самодиагностику. 2. Выберите модель и «BCM». 3. Выберите «SJB» для проверки. 4. Выберите «Текущие данные», если будете проверять текущие данные...