Kia Optima Hybrid: система контроля выбросов / процедуры отключения при высоком напряжении

Процедуры отключения при высоком напряжении
Обязательно прочтите и соблюдайте «Общую информацию по технике безопасности». и осторожность» перед выполнением любых работ, связанных с высоким напряжением. система. Несоблюдение инструкций по технике безопасности может привести к серьезным электрические травмы.
Компоненты высокого напряжения: блок аккумуляторной батареи высокого напряжения, Блок реле питания (PRA), ЭБУ BMS, гибридный блок управления питанием (HPCU), Гибридный приводной двигатель, HSG, электрический компрессор кондиционера, низковольтный преобразователь постоянного тока в постоянный (LDC), силовой кабель, электрический компрессор и т. д.
1.
Выключите зажигание и отсоедините отрицательную (-) клемму вспомогательной аккумуляторной батареи 12 В.
2.
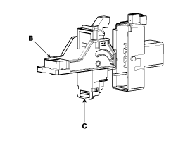
Снимите предохранительную заглушку.
(1)
Снимите крышку предохранительной заглушки (А).

(2)
Отстегните крючок (А) и снимите предохранительную заглушку (С), потянув за рычаг (В) в направлении стрелки.

3.
Подождите более 5 минут, чтобы конденсатор в системе высокого напряжения мог полностью разрядиться.
4.
Измерьте напряжение между клеммами инвертора, чтобы убедиться, что конденсатор в инверторе полностью разряжен.
(1)
Снимите воздушный фильтр в сборе и воздуховод (см. Механическая система двигателя — «Воздушный фильтр»).
(2)
Отсоедините кабель питания инвертора (А).

Отсоедините кабель питания инвертора, как описано ниже.

(3)
Измерьте напряжение между клеммой инвертора (+) и клеммой инвертора (-).

Менее 30 В: Цепь высокого напряжения правильно закрыта
Более 30 В: Неисправность в цепи высокого напряжения

Если измеренное напряжение превышает 30 В, проверьте, удален полностью. При измерении более 30 В, несмотря на то, что предохранительная вилка удалены, это может привести к серьезным проблемам в цепи высокого напряжения. В этом В этом случае проверьте DTC и никогда не прикасайтесь к системе высокого напряжения.
Общие сведения о безопасности и предостережения

Меры предосторожности     Поскольку гибридные автомобили содержат аккумуляторную батарею высокого напряжения, неправильное обращение с высоковольтной системой или транспортными средствами может привести к серьезным авариям, таким как электрическая ...

Технические характеристики

Технические характеристики Электромагнитный клапан управления продувкой (PCSV) ? Параметр Технические характеристики Сопротивление катушки (?) 19,0 ~ 22,0 [20°C(68°F)] Датчик давления в топливном баке (FTPS) ? Тип: Пьезорезистивный датчик давления ...

Дополнительная информация:

Kia Optima Hybrid (TF HEV) 2016-2020 Руководство по обслуживанию: Описание и работа датчика TPMS


Описание 1. Функция • Определяя давление, температуру, ускорение и состояние батареи, передайте информацию в ECU по радиоканалу. • Местоположение колеса распознается путем сравнения импульса колеса системы ECS (ABS) и значений ускорения датчика (верхняя линия). 2. Строение и особенности...

Kia Optima Hybrid (TF HEV) 2016-2020 Руководство по обслуживанию: Компоненты и расположение компонентов


Расположение компонентов 1. Переключатель звукового сигнала2. Реле звукового сигнала (моторный отсек)3. Рог (низкий)4. Часовая пружина5. Рог (высокий) ...