Kia Optima Hybrid: автоматическая трансмиссия / процедуры отключения при высоком напряжении

Процедуры отключения при высоком напряжении
Обязательно прочтите и соблюдайте «Общую информацию по технике безопасности». и осторожность» перед выполнением любых работ, связанных с высоким напряжением. система. Несоблюдение инструкций по технике безопасности может привести к серьезным электрические травмы.
Компоненты высокого напряжения: блок аккумуляторной батареи высокого напряжения, Блок реле питания (PRA), ЭБУ BMS, гибридный блок управления питанием (HPCU), Гибридный приводной двигатель, HSG, электрический компрессор кондиционера, низковольтный преобразователь постоянного тока в постоянный (LDC), силовой кабель, электрический компрессор и т. д.
1.
Выключите зажигание и отсоедините отрицательную (-) клемму вспомогательной аккумуляторной батареи 12 В.
2.
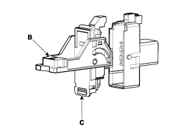
Снимите предохранительную заглушку.
(1)
Снимите крышку предохранительной заглушки (А).

(2)
Отстегните крючок (А) и снимите предохранительную заглушку (С), потянув за рычаг (В) в направлении стрелки.

3.
Подождите более 5 минут, чтобы конденсатор в системе высокого напряжения мог полностью разрядиться.
4.
Измерьте напряжение между клеммами инвертора, чтобы убедиться, что конденсатор в инверторе полностью разряжен.
(1)
Снимите воздушный фильтр в сборе и воздуховод (см. Механическая система двигателя — «Воздушный фильтр»).
(2)
Отсоедините кабель питания инвертора (А).

Отсоедините кабель питания инвертора, как описано ниже.

(3)
Измерьте напряжение между клеммой инвертора (+) и клеммой инвертора (-).

Менее 30 В: Цепь высокого напряжения правильно закрыта
Более 30 В: Неисправность в цепи высокого напряжения

Если измеренное напряжение превышает 30 В, несмотря на то, что предохранительная вилка был удален должным образом, может быть серьезная проблема в высоком цепь напряжения. В этом случае проверьте DTC и никогда не касайтесь верхнего система напряжения.
Общие сведения о безопасности и предостережения

Меры предосторожности     Поскольку гибридные автомобили содержат аккумуляторную батарею высокого напряжения, неправильное обращение с высоковольтной системой или транспортными средствами может привести к серьезным авариям, таким как электрическая ...

Технические характеристики

... Технические характеристики ЭлементТехнические характеристикиТип трансмиссииA6MF2HМодель двигателяБензиновый 2,4Торсионный демпферДМФ Тип длинноходныйРазмер торсионного демпфераO 281,4 мм (11,0787 дюйма)Сцепление двигателяМногодисковое мокрое сцеплениеМасляное ...

Дополнительная информация:

Kia Optima Hybrid (TF HEV) 2016-2020 Руководство по обслуживанию: NVLD (обнаружение утечки естественного вакуума) Описание и работа


Описание NVLD (обнаружение утечки естественного вакуума) расположен между адсорбером и воздушным фильтром топливного бака. НВЛД предназначен для обнаружения утечек, эквивалентных пробоине 0,5 мм в топливном баке, адсорбере и шлангах. Когда двигатель работает, температура топлива в топливном баке немного повышается. ...

Kia Optima Hybrid (TF HEV) 2016-2020 Руководство по техническому обслуживанию: Компоненты блока отопителя и расположение компонентов


Расположение компонентов Компоненты 1. Уплотнение воздуховода2. Корпус воздуховода3. Входная дверь4. Впускной привод5. Корпус впускного воздуховода (A)6. Воздушный фильтр климат-контроля7. Крышка воздушного фильтра климат-контроля8. Верхний корпус воздуходувки9. Нижний корпус вентилятора10. Модуль вентилятора PWM11. Двигатель вентилятора ...