Kia Optima Hybrid: Предохранители и реле / ​​Блок реле (моторный отсек) Процедуры ремонта

осмотр
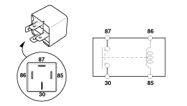
Проверка силового реле (тип A)
Не используйте плоскогубцы.
Плоскогубцы могут повредить реле, из-за чего двигатель может заглохнуть или не запуститься.
Осторожно снимите реле с помощью съемника реле.
Проверьте целостность цепи между клеммами.
A : Реле обогревателя заднего стекла
B : реле EWP
C : Реле антиобледенителя
D : Реле ACC
E : реле IG1
F : реле IG2
G : Реле звукового сигнала охранной сигнализации
H : Реле вентилятора
I : Реле топливного насоса
J : Реле звукового сигнала
1.
Должна быть преемственность между № 30 и № 87. клеммы, когда питание и земля подключены к № 85 и № 86 терминалы.
2.
Не должно быть непрерывности между клеммами № 30 и № 87 при отключении питания.

Проверка силового реле (тип B)
Проверьте целостность цепи между клеммами.
А : Реле стеклоочистителя
B : Реле датчика дождя
1.
Должна быть преемственность между № 30 и № 87. клеммы, когда питание и земля подключены к № 85 и № 86 терминалы.
2.
Между клеммами № 30 и № 87 должна быть непрерывность при отключении питания.

Проверка силового реле (тип C)
Проверьте целостность цепи между клеммами.
A : Реле управления двигателем
1.
Должна быть преемственность между № 30, 87а и № 87. клеммы, когда питание и земля подключены к № 85 и № 86 терминалы.
2.
Не должно быть непрерывности между клеммами №30, 87а и №87 при отключении питания.

Проверка силового реле (тип D)
Проверьте целостность цепи между клеммами.
A : реле OPCU
B : Реле вентилятора охлаждения
1.
Должна быть преемственность между № 30 и № 87. клеммы, когда питание и земля подключены к № 85 и № 86 терминалы.
2.
Не должно быть непрерывности между клеммами № 30 и № 87 при отключении питания.

Проверка предохранителей
1.
Убедитесь, что в держателях предохранителей нет люфта и что предохранители надежно закреплены.
2.
Правильно ли указаны номиналы предохранителей для каждой цепи?
3.
Есть ли перегоревшие предохранители?
Если необходимо заменить предохранитель, обязательно используйте новый предохранитель одинаковая емкость. Всегда определяйте, почему предохранитель перегорел первым и полностью устранить проблему перед установкой нового предохранителя.
Мульти предохранитель
Multi Fuse предназначен для оптимизации пакета машинного отделения.

Многоцелевой предохранитель необходим для полной замены при повреждении только одного предохранителя.
При замене многофункционального предохранителя точно ориентируйтесь на схему «Моторный отсек — расположение компонентов».
Правильно используйте номиналы нескольких предохранителей для каждой цепи.
Снимите крышку гайки (А) при снятии гайки.
Блок реле (моторный отсек) Компоненты и расположение компонентов

Компоненты ...

Блок реле (в салоне) Компоненты и расположение компонентов

Компоненты ...

Дополнительная информация:

Kia Optima Hybrid (TF HEV) 2016-2020 Руководство по обслуживанию: Компоненты и расположение компонентов


Компоненты 1. Передний ремень безопасности2. Регулятор высоты3. Задний ремень безопасности [правый]4. Задний центральный ремень безопасности5. Задний ремень безопасности [левый]6. Замок заднего ремня безопасности...

Kia Optima Hybrid (TF HEV) 2016-2020 Руководство по техническому обслуживанию: Методы ремонта датчика температуры испарителя


Проверка 1. Зажигание выключено. 2. Отсоедините датчик температуры испарителя. 3. С помощью мультитестера измерьте сопротивление между выводами «1» и «2» датчика температуры испарителя. Спецификация Температура ядра испарителя[°C(°F)]Сопротивление[K?]-10 / (14)43,350 / (32)27,6210 / (50)18,0720 / (68)12,1130 ...