Kia Sorento: Rear Differential Carrier Reassembly - Differential Carrier Assembly - Driveshaft and axle - Kia Sorento XM 2011-2023 Service Manual Kia Sorento: сборка заднего кронштейна дифференциала

XM второго поколения (2011-2023 гг.) / Kia Sorento XM 2011-2023 Руководство по ремонту / Карданный вал и ось / Дифференциальная несущая сборка / Сборка держателя заднего дифференциала

Регулировка высоты ведущей шестерни
Отрегулируйте высоту ведущей шестерни в следующем порядке.
1.
Ниже приведены специальные инструменты для измерения высоты шестерни.

2.
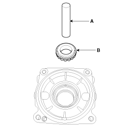
Контргайка специального инструмента (A), сальник шестерни (B), передняя часть шестерни подшипник (C), внутренний подшипник (D) и специальный опорный корпус инструмента (E) монтируется следующим образом.

Момент затяжки стопорной гайки (А) :
88,3~137,3 Н·м (9,0~14,0 кгс·м, 65,1~101,3 фунт-фут)

3.
Поместите основной корпус (A) на корпус дифференциала (B).

4.
Крышка подшипника (B) установлена ​​на основном корпусе (A).

Момент затяжки : 54,0~63,7 Нм (5,5~6,5 кгс·м, 39,8~47,0 фунт-фут)

5.
С помощью щупа измерьте зазор между основным корпусом (A) и крышку подшипника (В). Затем выберите регулировочную прокладку внутреннего подшипника.

6.
Установите выбранную регулировочную шайбу внутреннего подшипника (А).

Регулировочная шайба внутреннего подшипника
Деталь №
Толщина
дюйм
53040-3C138
1,38
0,054
53040-3C141
1,41
0,055
53040-3C144
1,44
0,057
53040-3C147
1,47
0,058
53040-3C150
1,50
0,059
53040-3C153
1,53
0,06
53040-3C156
1,56
0,061
53040-3C159
1,59
0,063
53040-3C162
1,62
0,064
53040-3C165
1,65
0,065
53040-3C168
1,68
0,066
53040-3C171
1,71
0,067
53040-3C174
1,74
0,068
53040-3C177
1,77
0,067

Сборка корпуса заднего дифференциала
1.
С помощью SST (09530-3T100) установите внутренний подшипник шестерни. наружная обойма (А).

2.
С помощью SST (09530-3T100) установите внешний подшипник шестерни. внешняя раса.

3.
С помощью круглой трубы (А) запрессуйте задний подшипник шестерни (В).

4.
Установите прокладку подшипника ведущей шестерни (В) на ведущую шестерню. (А).
Необходимо использовать новую прокладку.

5.
Используя круглую трубу (A), нажмите на передний подшипник (B).

6.
С помощью SST (09530-3T600) установите сальник шестерни.

7.
С помощью SST (09530-3T300) установите стопорную гайку шестерни (A).

Момент затяжки : 186,33~441,3 Н·м (19,0~45,0 кгс.м, 137,43~325,48 фунт-фут)

Необходимо использовать новую стопорную гайку.
8.
затяните стопорную гайку.

Стандарт (предварительный натяг подшипника-шестерни) :
92,22~179,46 Н·м (9,2~18,3 кгс.м, 66,54~132,36 фунт-фут)

Поддерживайте постоянную скорость вращения (60 об/мин).

Сборка корпуса шестерни в сборе
1.
С помощью SST (09453-3B200) установите передний/задний подшипник (A).

2.
Установите водило шестерни и зубчатый венец.

Момент затяжки :
137,3~156,9 Н·м (14,0~16,0 кгс.м, 101,3~115,7 фунт-фут)

Затягивая уплотнительный болт, делайте это по диагонали.

3.
Установите наружные кольца левого и правого боковых подшипников (А) на носитель шестерни.

4.
Зафиксируйте наружные кольца левого и правого боковых подшипников (А) обеими руками. и установите его на картер дифференциала.

5.
Вставьте левую и правую регулировочную прокладку между дифференциалом. боковой подшипник и держатель. Затем установите крышку подшипника (А) с отметка.

Момент затяжки :
53,9~63,7 Нм (5,5~6,5 кгс·м, 39,8~47,0 фунт-фут)

6.
Отрегулируйте регулировочную шайбу и подтвердите стандарт люфта.

стандарт: 0,10 ~ 0,15 мм (0,004~0,006 дюйма)

Толщина регулировочной шайбы должна быть регулируется, если люфт небольшой.
Уменьшить толщину левого бокового дифференциала проложить и увеличить толщину правого бокового дифференциала прокладка столько, сколько уменьшилась левая сторона.
7.
Отрегулируйте зазор в сборе шестерни.

Стандарт: 0 ~ 0,05 мм (0 ~ 0,002 дюйма)

8.
Измеряет предварительную нагрузку.

Стандарт
Преднатяг подшипника шестерни: 0,25~0,84 Нм (2,5~8,5 кгс·см, 0,18~0,62 фунт-фут)

9.
Нанесите герметик (А) на поверхность задней крышки.

Герметик: МС 721-40

Удалите остатки герметика перед нанесением покрытия.
Равномерно нанесите герметик толщиной 2-3 мм по всему периметру. поверхность задней крышки.

10.
Установите заднюю крышку дифференциала (А).

Момент затяжки :
39,2~49,0 Нм (4,0~5,0 кгс·м, 28,9~36,2 фунт-фут)

11.
Установите сливную пробку (А) и заливную пробку (В).

Заливная пробка:
39,2~58,8 Нм (4,0~6,0 кгс·м, 28,9~43,4 фунт-фут)
Сливная пробка :
49,0~68,6 Нм (5,0~7,0 кгс·м, 36,2~50,6 фунт-фут)

12.
Используя SST (09530-2W100, 09231-H1100), установите левый и правый боковой сальник.

13.
Установите задний дифференциал в сборе на автомобиль и впрысните масло.

Указанный смазочный материал:
Гипоидное трансмиссионное масло API GL-5, SAE 75W/90 (SHELL SPIRAX X или эквивалент)
Количество масла:
0,53 ± 0,05 л (уровень дифференциального масла должен быть между нижняя часть заливного отверстия и точка примерно на 8 мм ниже заливного отверстия.)

Разборка корпуса заднего дифференциала
Разборка корпуса заднего дифференциала 1. Слейте масло, отвернув сливную пробку (А) и заливную пробку (В) перед демонтаж корпуса заднего дифференциала. ...
Подвесная система
...
Смотрите также:

Замена датчика температуры испарителя
1. Отсоедините отрицательную (-) клемму аккумуляторной батареи. 2. Снимите нагреватель и вентилятор в сборе. (См. Нагреватель — «Нагреватель») ...

Совместная установка TJ
1. Оберните ленту вокруг шлица приводного вала (TJ), чтобы предотвратить повреждение ботинок. 2. Используя установочные метки (D), сделанные во время разборки, в качестве...

Спецификация
...