Kia Soul EV: Процедуры ремонта переднего сиденья/чехла подушки переднего сиденья

Kia Soul EV (PS EV) 2015-2020 Руководство по техническому обслуживанию / Кузов (внутри и снаружи) / Переднее сиденье / Процедуры ремонта чехла подушки переднего сиденья

Замена
Наденьте перчатки, чтобы защитить руки.
Поддевая плоской отверткой, оберните ее защитную ленту и наклейте защитную ленту вокруг соответствующих частей, чтобы предотвратить повреждение.
Используйте инструмент для снятия пластиковой панели, чтобы удалить детали внутренней отделки, чтобы не повредить поверхность.
Будьте осторожны, чтобы не погнуть и не поцарапать обивку и панели.
1.
Снимите внутреннюю крышку щитка переднего сиденья.
(См. Переднее сиденье — «Внутренняя крышка экрана переднего сиденья»)
2.
Снимите наружную крышку щитка переднего сиденья.
(См. Переднее сиденье — «Внешняя крышка щитка переднего сиденья»)
3.
Снимите нижнюю защиту переднего сиденья (А).

4.
Отсоедините разъемы (А).

5.
Отсоедините воздуховод подушки сиденья (В), потянув за стопорный штифт (А).

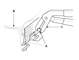
6.
Вытяните крючки (А) и чехол подушки переднего сиденья (С) из рамы подушки переднего сиденья (В).

7.
Снимите чехол подушки переднего сиденья (А) с рамы подушки переднего сиденья.

8.
После удаления ленты-липучки (A) и зажимов для зажимов (B) изнутри чехла подушки переднего сиденья отделите переднее сиденье чехол для подушки (С).

9.
Установите в порядке, обратном снятию.
Во избежание образования складок убедитесь, что материал равномерно натянут на чехол (B), прежде чем закреплять зажимы (A).
Замените кольцевые зажимы новыми с помощью специального инструмента (C) (09880-4F000).

Компоненты чехла подушки переднего сиденья и расположение компонентов
Расположение компонента 1. Чехол подушки переднего сиденья ...
Компоненты рамы переднего сиденья в сборе и расположение компонентов
Расположение компонента 1. Каркас спинки переднего сиденья в сборе2. Сборка каркаса подушки переднего сиденья ...
Дополнительная информация:

Руководство по обслуживанию Kia Soul EV (PS EV) 2015-2020: Компоненты педали тормоза и расположение компонентов


Компоненты 1. Датчик хода педали тормоза 2. Выключатель стоп-сигнала 3. Педаль тормоза...

Kia Soul EV (PS EV) 2015-2020 Руководство по техническому обслуживанию: Порядок ремонта дисковых тормозов и колодок


осмотр Проверьте колодки на чрезмерный износ, диски на биение и износ и суппорты на утечку жидкости. Передний тормоз Проверка толщины переднего тормозного диска 1. Проверьте тормозные колодки на предмет износа и выцветания. 2. Проверьте тормозной диск на наличие повреждений и трещин. 3. Удалите всю ржавчину и загрязнения с...