Kia Soul EV: Система управления автоматическим освещением / Принципиальные схемы

Kia Soul EV (PS EV) 2015-2020 Руководство по техническому обслуживанию / Электрическая система кузова / Система автоматического управления освещением / Принципиальные схемы

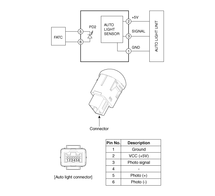
Принципиальная электрическая схема

Компоненты и расположение компонентов
Расположение компонента 1. Датчик автоматического освещения2. Головные фонари3. Переключатель освещения (Авто)4. Задние фонари5. BCM (модуль управления кузовом) ...
Процедуры ремонта автоматического выключателя света
осмотр 1. Включите переключатель автоматического освещения, затем проверьте целостность цепи между клеммами разъема многофункционального переключателя. ...
Дополнительная информация:

Kia Soul EV (PS EV) 2015-2020 Руководство по техническому обслуживанию: Процедуры ремонта реле предварительной зарядки


осмотр • Обязательно прочтите и соблюдайте «Общую информацию по технике безопасности». и осторожность» перед выполнением любых работ, связанных с высоким напряжением. система. Несоблюдение инструкций по технике безопасности может привести к серьезным электрические травмы. • Будь су...

Kia Soul EV (PS EV) 2015-2020 Руководство по обслуживанию: Общая информация


Основные сервисные символы Есть пять основных символов, используемых для дополнения иллюстрации. Эти символы указывают на то, что определенные материалы должны применяться в каждой части во время обслуживания. Символ Значение Не используйте деталь повторно. Замените новым. Смажьте деталь моторным или трансмиссионным маслом. ...