Kia Stinger: силовая передача / паровой шланг и крышка топливного бака

Kia Stinger CK 2018-2023 Руководство по ремонту / Обслуживание / Силовая передача / Паровой шланг и крышка топливного бака

Процедуры ремонта
осмотр

Паровой шланг

1.

Проверьте все хомуты на затяжку и соединения на герметичность.

2.

Визуально проверьте паропроводы и шланги на наличие трещин, утечек, ослабленных соединений, или деформации.

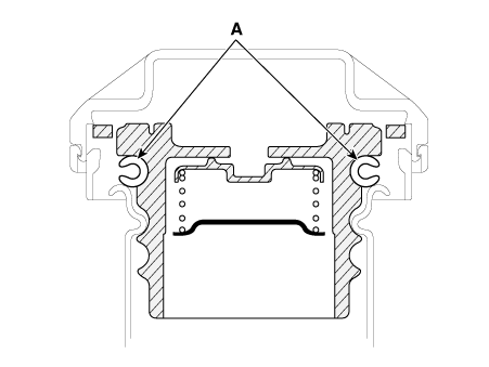
Крышка топливного бака

1.

Визуально проверьте, что узел крышки топливного бака и прокладка (А) не повреждены. деформированы или повреждены.

Свеча зажигания
Процедуры ремонта осмотр [При осмотре автомобиля] 1. Разгоните двигатель примерно до 3000 об/мин 3 или более раз. 2. Убрать искру...
Жидкость (АТФ)
Процедуры ремонта Жидкость для автоматической коробки передач (ATF) Проверка уровня 1. Запустите двигатель, чтобы прогреть ATF. ...
Дополнительная информация:

Kia Stinger CK 2018-2023 Руководство по техническому обслуживанию: Реостат


Компоненты и расположение компонентов Компоненты Процедуры ремонта Удаление 1. Отсоедините отрицательную (-) клемму аккумуляторной батареи. 2. Снимите нижнюю панель аварийной подушки. (См. Кузов — «Нижняя панель аварийной площадки») ...

Руководство по эксплуатации Kia Stinger CK 2018-2023: Багажная сетка (держатель)


Чтобы предметы не смещались в грузовом отсеке, можно использовать держатели, расположенные в багажном отделении для крепления багажной сетки. ОСТОРОЖНОСТЬ Во избежание повреждения товара или транспортного средства следует соблюдать осторожность при перевозке хрупкие или громоздкие предметы в багажном отделении. ПРЕДУПРЕЖДЕНИЕ Чтобы не попасть в глаза...