Kia Cee'd: Кожух и диск сцепления / Процедуры ремонта

Удаление
1.
Снимите коробку передач в сборе.
G 1,6 MPI (см. Система механической коробки передач — «Механическая коробка передач»)
G 1,4 MPI (см. Система механической коробки передач — «Механическая коробка передач»)
D 1.6 TCI-U2 (см. Система механической коробки передач — «Механическая коробка передач»)
D 1.4 TCI-U2 (см. Система механической коробки передач — «Механическая коробка передач»)
G 1.6 GDI (см. Система механической трансмиссии — «Механическая трансмиссия»)
G 1.6 T-GDI (см. Система механической коробки передач — «Механическая коробка передач»)
2.
Снимите болты крышки сцепления. Будьте осторожны, чтобы не погнуть и не перекрутить болты. Ослабьте болты в диагональных направлениях.

осмотр
1.
Осмотрите износ диафрагменной пружины, которая находится в контакте с концентрическим подшипник рабочего цилиндра.
2.
Проверьте кожух сцепления и поверхность диска на предмет износа или трещин.
3.
Проверьте накладку диска сцепления на предмет проскальзывания или масляных пятен.
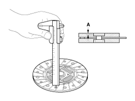
4.
Измерьте глубину от поверхности накладки сцепления до заклепки. Если измерено значение меньше указанного ниже, замените его.
Стандартное значение
Глубина заклепки диска сцепления (A): 0,3 мм (0,0118 дюйма)

Монтаж
При переустановке бывшей в употреблении крышки крышка должна быть установлена ​​вместе с муфтой. диск в комплекте.
1.
Нанесите смазку на шлицевую часть диска и шлицевую часть входного вала коробки передач. часть по мере необходимости.
Рекомендуемая смазка: CASMOLY L9508.
Количество: 0,2 г
Возможные проблемы при несоблюдении
Когда не применяется: Чрезмерный износ шлицев и плохая может произойти срабатывание сцепления.
При чрезмерном нанесении: Смазка может разбрызгиваться центробежная сила, которая может повредить диск сцепления. Это может привести к потере силы трения и проскальзыванию.
2.
Поверхность с маркировкой «T/M SIDE» должна быть обращена к коробке передач.
Возможные проблемы при установке диска наоборот направление.
Ошибка переключения коробки передач или странный звук могут возникать из-за к разъединению сцепления.

3.
Установите диск сцепления и крышку с помощью SST (A: 09411-1P000).

4.
Установите болты крышки сцепления. Чтобы не погнуть и не перекрутить, затяните их в диагональных направлениях.
Момент затяжки:
Бензин: 14,7 ~ 21,6 Н·м (1,5 ~ 2,2 кгс·м, 10,8 ~ 15,9 фунт-фут)
Дизель: 11,8 ~ 14,7 Н·м (1,2 ~ 1,5 кгс·м, 8,7 ~ 10,8 фунт-фут)
Слабо затяните все болты крышки сцепления, затем затяните спецификации в диагональном направлении. Это может предотвратить скручивание, вибрацию крышки и подъем нажимной пластины.
Установите все компоненты с указанным моментом затяжки. В противном случае могут возникнуть проблемы с коробкой передач с крутящим моментом сцепления. или крепежный болт может ослабнуть.

5.
Установите коробку передач в сборе.
G 1,6 MPI (см. Система механической коробки передач — «Механическая коробка передач»)
G 1,4 MPI (см. Система механической коробки передач — «Механическая коробка передач»)
D 1.6 TCI-U2 (см. Система механической коробки передач — «Механическая коробка передач»)
D 1.4 TCI-U2 (см. Система механической коробки передач — «Механическая коробка передач»)
G 1.6 GDI (см. Система механической трансмиссии — «Механическая трансмиссия»)
G 1.6 T-GDI (см. Система механической коробки передач — «Механическая коробка передач»)
Компоненты и расположение компонентов
Компоненты 1. Вилка выключения сцепления 2. Крышка сцепления в сборе 3. Диск сцепления в сборе 4. Подшипник выключения сцепления ...
Переключатель сцепления
...
Дополнительная информация:

Руководство по эксплуатации Ford Escape 2020-2023: Индикаторы адаптивного круиз-контроля. Переключение с адаптивного круиз-контроля на круиз-контроль
Индикаторы адаптивного круиз-контроля Загорается при переключении включен адаптивный круиз-контроль. цвет индикатора меняется на указать состояние системы. Белый цвет означает, что система включена, но неактивный. Зеленый цвет означает, что вы установили скорость и система активна. Переход с адаптивного C...

Руководство по обслуживанию Kia Cee'd JD: Датчик кислорода с подогревом (HO2S) Описание и работа
Описание Датчик кислорода с подогревом (HO2S) состоит из циркония и оксида алюминия и устанавливается как до, так и после коллекторного каталитического нейтрализатора. Датчик выходное напряжение меняется в зависимости от соотношения воздух/топливо. Датчик должен быть горячим, чтобы работать n ...

avtotema.org