Kia Picanto: Карданный вал в сборе / Динамический демпфер

Руководство по ремонту и обслуживанию Kia Picanto JA 2017-2023 гг. / Карданный вал и ось / Сборка карданного вала / Динамический демпфер

Компоненты и расположение компонентов
Компоненты
[Правый]

1. Сборка БЖ
2. Клип
3. Ремешок для обуви BJ
4. Сапоги для минета
5. Лента динамического демпфера
6. Динамический демпфер
7. Вал
8. Ремешок для ботинок TJ
9. Ботинок TJ
10. Паук в сборе
11. Стопорное кольцо
12. Корпус ТЖ
13. Стопорное кольцо

[левый]

1. Сборка БЖ
2. Стопорное кольцо BJ
3. Ремешок для обуви BJ
4. Сапоги для минета
5. Вал
6. Ремешок для ботинок TJ
7. Ботинок TJ
8. Паук в сборе
9. Стопорное кольцо
10. Дело Т.Дж.
11. Стопорное кольцо

Процедуры ремонта
Замена
1.
Снимите передний приводной вал.
(См. Приводной вал и ось - «Передний карданный вал»)
2.
Снимите TJ-соединение в сборе.
(См. Приводной вал и ось - «TJ шарнир»)
3.
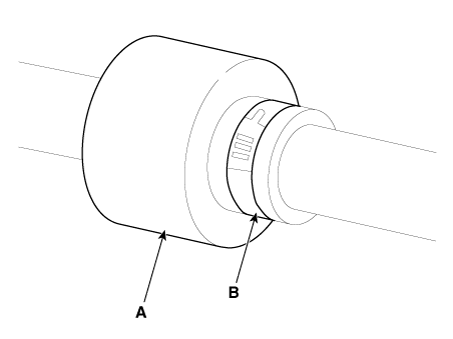
Снимите обе стороны ленты (B) динамического демпфера (A).

4.
Закрепите приводной вал (А) тисками (В), как показано на рисунке.

5.
Применять мыльный порошок на валу, чтобы предотвратить повреждение между валом шлиц и динамический демпфер, когда динамический демпфер удален.
6.
Осторожно отделите динамический демпфер (A) от вала (B).

Монтаж
1.
Нанесите на вал мыльный порошок, чтобы предотвратить повреждение между шлицем вала и динамическим демпфером.
2.
Установите динамический демпфер.
3.
Установите ленту динамического демпфера (A).
4.
С помощью SST (09495-3K000) закрепите хомуты чехлов TJ (B).
Зазор (A): 2,0 мм (0,0787 дюйма) или менее

5.
Установите TJ-соединение в сборе.
(См. приводной вал в сборе — «TJ шарнир»)
6.
Установите передний карданный вал.
(См. узел приводного вала — «Передний приводной вал»)
7.
Проверьте переднее выравнивание.
(См. Система подвески — «Выравнивание»)
ТиДжей Джойнт
Компоненты и расположение компонентов Компоненты [Правый] 1. Сборка BJ 2. Зажим 3. Лента ботинка BJ 4. Ботинок BJ 5. Лента динамического демпфера 6. Динамический демпфер 7. Вал 8. Лента ботинка TJ 9. Ботинок TJ 10. Spi ...
Минет в сапогах
Компоненты и расположение компонентов Компоненты [Правый] 1. Сборка BJ 2. Зажим 3. Лента ботинка BJ 4. Ботинок BJ 5. Лента динамического демпфера 6. Динамический демпфер 7. Вал 8. Лента ботинка TJ 9. Ботинок TJ 10. Spi ...
Дополнительная информация:

Руководство по ремонту и обслуживанию Kia Picanto JA 2017-2023: датчик вакуумного усилителя тормозов


Описание и работа Описание В чтобы обеспечить адекватную помощь тормозному усилию в любой ситуации, усилитель тормозов оснащен датчиком частичного разрежения. тормоз Датчик давления вакуума в усилителе находится рядом с усилителем тормозов. Процедуры ремонта Осмотр...

Руководство по эксплуатации Kia Picanto JA 2017-2023: Лампа фары (ближний/дальний свет) замена (фара типа B)


1. Откройте капот. 2. Снимите крышку лампы фары. повернув его против часовой стрелки. 3. Отсоедините лампу фары. розетка-разъем. 4. Выньте патрон лампы из фару в сборе, повернув патрон лампы против часовой стрелки, пока выступы на патроне лампы совмещены со слоу...