Kia Picanto: система задней подвески/задний амортизатор

Руководство по ремонту и обслуживанию Kia Picanto JA 2017-2023 гг. / Подвесная система / Система задней подвески / Задний амортизатор

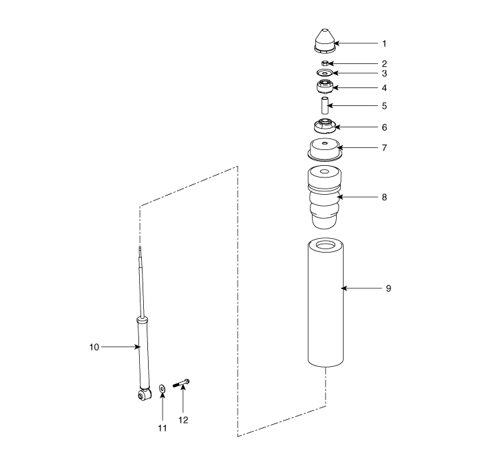
Компоненты и расположение компонентов
Компоненты

1. Обложка
2. Контргайка
3. Фиксатор
4. Верхняя втулка
5. Воротник
6. Нижняя втулка
7. Верхняя крышка
8. Стопор бампера
9. Пылезащитный чехол
10. Амортизатор в сборе
11. Шайба
12. Болт

Процедуры ремонта
Замена
1.
Снимите шину колеса (А).
Момент затяжки:
107,9–127,5 Н·м (11,0–13,0 кгс·м, 79,6–94,0 фунт·фут)

Будьте осторожны, чтобы не повредить колесные гайки при снятии переднего колеса и шины.
2.
Снимите крышку заднего амортизатора.

3.
Снимите крышку заднего амортизатора.

4.
Снимите гайку заднего амортизатора с помощью специального инструмента (09546-3X100).
Момент затяжки :
21,6–31,4 Н·м (2,2–3,2 кгс·м, 15,9–23,1 фунт·фут)

5.
Отверните болт и снимите задний амортизатор.
Момент затяжки:
98,0–117,6 Н·м (10,0–12,0 кгс·м, 72,3–86,7 фунт-фут)

Установите трансмиссионный домкрат под торсионную балку, чтобы снять амортизатор на холостом ходу.
6.
Установите в порядке, обратном снятию.
осмотр
1.
Проверьте резиновые детали на предмет износа и износа.
2.
Сожмите и выдвиньте шток поршня (А) и убедитесь в отсутствии аномального сопротивления или необычного звука во время работы.

Утилизация
1.
Полностью выдвиньте шток поршня.
2.
Просверлите отверстие в секции (А) для удаления газа из баллона.
Выделяющийся газ безвреден, но будьте осторожны со стружкой, которая может подняться при сверлении.
Система задней подвески
Компоненты и расположение компонентов Компоненты [Тип диска] 1. Торсионная балка 2. Тормозной диск 3. Тормозной суппорт [Тип барабана] 1. Ось с торсионной балкой 2. Барабанный тормоз 3. Трос стояночного тормоза ...
Задняя винтовая пружина
Процедуры ремонта Замена 1. Снимите шину колеса (А). Момент затяжки: 107,9–127,5 Н·м (11,0–13,0 кгс·м, 79,6–94,0 фунт·фут) Будь ка...
Дополнительная информация:

Руководство по ремонту и обслуживанию Kia Picanto JA 2017-2023: Защита переднего колеса


Процедуры ремонта Замена Наденьте перчатки, чтобы защитить руки. • Используйте инструмент для снятия пластиковой панели, чтобы удалить детали внутренней отделки, не повредив поверхность. • Будьте осторожны, чтобы не согнуть...

Руководство по ремонту и обслуживанию Kia Picanto JA 2017-2023: Крышка бензобака


Описание и работа Описание А храповое затяжное устройство на резьбовой крышке топливного бака уменьшает велика вероятность неправильной установки, что приведет к герметизации заливной горловины. После прокладки на крышке заливной горловины и фланце заливной горловины соприкасаются друг с другом, храповик производит...