Kia Rio: Контроллер / Блок управления отопителем и кондиционером (РУЧНОЙ)

Kia Rio 2017-2023 YB Руководство по ремонту / Отопление, вентиляция, кондиционирование воздуха / Контроллер / Блок управления отопителем и кондиционером (РУЧНОЙ)

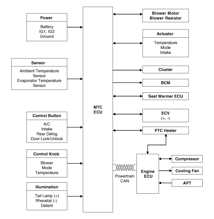
Компоненты и расположение компонентов
Компоненты

Функция контакта разъема

НЕТ.
Соединитель А
Соединитель Б
1
Низкий
Батарея
2
Общий
ИСГ Аккумулятор
3
Высокий
Освещение (+)
4
Средний_LOW
Датчик (+5В)
5
Средний_Высокий

6
Высокий
Обратная связь привода впуска
7

Датчик испарителя (+)
8
Датчик окружающей среды (+)
9

10

11
Впускной привод (FRE)
12
Впускной привод (REC)
13
HTD
14
Переключатель заднего обогревателя
15
Вентилятор по сигналу на общий
16
Освещение (-)
17
IGN2
18
IGN1
19

20
Макс. вентилятор по сигналу
21
Реле PTC 3
22
Реле PTC 2
23
PTC по сигналу
24
Фиксатор вне (-)
25

26
Шасси_CAN (высокий уровень)
27
Шасси_CAN (Низкий)
28

29
ЭКВ (+)
30
ЭКВ (-)
31
Масса датчика
32
Земля

Принципиальные диаграммы
Схематическая диаграмма

Процедуры ремонта
Замена
1.

Отсоедините отрицательную (-) клемму аккумуляторной батареи.

2.

Снимите нижнюю панель аварийной подушки.

(См. Кузов — «Нижняя панель аварийной площадки»)

3.

Снимите аудиоблок.

(См. Электрическая система кузова — «Аудиоблок»)

4.

Снимите перчаточный ящик.

(См. Crash Pad — «Корпус перчаточного ящика»)

5.

Снимите душевой канал (А) со стороны водителя, предварительно ослабив винт.

6.

Отсоедините кабель управления режимами (А).

7.

Снимите душевой патрубок со стороны пассажира (А), предварительно ослабив винт.

8.

Отсоедините кабель контроля температуры (А).

9.

После ослабления крепежных винтов снимите контроллер кондиционера и отопителя. блок (А).

10.

Отсоедините разъемы контроллера кондиционера и отопителя (А).

11.

Для установки выполните процедуру удаления в обратном порядке.

Контроллер
...
Блок управления отопителем и кондиционером (FATC)
Компоненты и расположение компонентов Компоненты Функция контактов разъема Нет. Соединитель А Соединитель Б 1 Батарея ...
Дополнительная информация:

Руководство по эксплуатации Kia Rio 2017-2023 YB: Держатель багажной сетки


Чтобы предметы не смещались в багажном отделении, вы можете использовать 4 держателя, расположенных в багажном отделении для крепления багажной сетки. При необходимости рекомендуем обратиться к авторизованному дилеру Киа. ОСТОРОЖНОСТЬ Во избежание повреждения товара или транспортного средства следует соблюдать осторожность при перевозке фраги ...

Kia Rio 2017-2023 YB Руководство по обслуживанию: Комбинация приборов


Компоненты и расположение компонентов Компоненты [Стандартный тип ("3,5")] [Тип контроля ("3.5")] Информация о выводах разъема Соединитель А Нет. Описание ...