#заголовок

Hyundai Sonata: общая информация/инструменты специального обслуживания

Специальные сервисные инструменты
Инструмент (номер и название)
Иллюстрация
Использовать
Приспособление для установки переднего сальника коленчатого вала
(09455-21200)

Установка переднего сальника
Установщик маслосъемного колпачка штока клапана
(09222-2B100)

Установка сальника штока клапана
Компрессор и держатель клапанной пружины
А : (09222-3K000)
Б : (09222-3K100)

Снятие и установка впускного или выпускного клапана
Установщик заднего сальника коленвала
А : (09231-H1100)
Б : (09231-2B200)

Установка заднего сальника коленвала
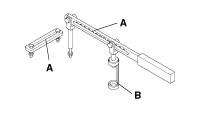
Стопор зубчатого венца
(09231-2B100) (А)
(09231-3N100) (Б)

Снятие и установка болта крепления шкива коленчатого вала.
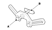
Стопор зубчатого венца
(09231-3D100) (А)
(09231-2W100) (Б)

Снятие и установка болта крепления шкива коленчатого вала.
Съемник масляного поддона
(09215-3C000)

Снятие масляного поддона
Адаптер угла крутящего момента
(09221-4A000)

Установка болтов и гаек, требующих углового метода
Ключ для масляного фильтра
(09263-2E000)

Снятие и установка масляного фильтра

Поиск неисправностей
Поиск неисправностей СимптомПодозреваемая областьСпособ устраненияПропуски зажигания в двигателе с ненормальным внутренним шумом в нижней части двигателя.Ослабленный или неправильно установленный маховик двигателя.Отремонтируйте или замените маховик по мере необходимости.Износ ...
Сборка двигателя и трансмиссии
...
Дополнительная информация:

Руководство по эксплуатации Hyundai Sonata LF 2014-2019: Условия несрабатывания подушки безопасности
При определенных столкновениях на низкой скорости подушки безопасности могут не раскрыться. Подушки безопасности предназначены не для развертывания в таких случаях, поскольку они могут не давать преимуществ, кроме защита ремней безопасности. Передние подушки безопасности не предназначены для срабатывания при ударе сзади, потому что пассажиры отодвинуты назад б...

Hyundai Sonata LF 2014-2019 Руководство по ремонту: Процедуры ремонта TPMS приемника
Замена 1. Отсоедините отрицательный (-) кабель аккумуляторной батареи. 2. Снимите перчаточный ящик. (Обратитесь к разделу «Тело» — «Аварийная площадка») 3. Снимите неисправную деталь и установите кронштейн в сборе на новую деталь. 4. Закрепите новую деталь на автомобиле и установите разъем. 5. Снова подключите аккумулятор и включите зажигание. 6. После ...

avtotema.org