Hyundai Elantra: головка блока цилиндров в сборе / CVVT и распределительный вал, описание и работа

Описание
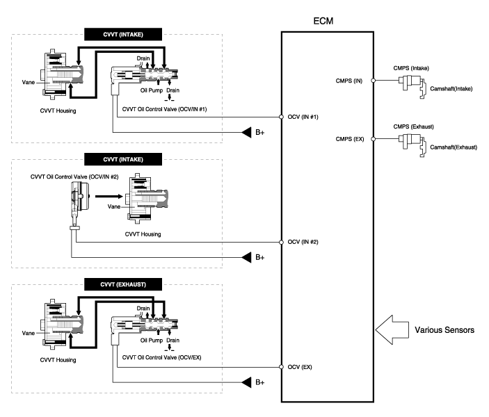
Система непрерывного изменения фаз газораспределения (CVVT) опережает или задерживает фазы газораспределения впускного и выпускного клапанов в соответствии с управляющим сигналом ECM, который рассчитывается по частоте вращения двигателя и нагрузка.
При управлении CVVT происходит перекрытие или недопуск клапана, что обеспечивает лучшую экономию топлива и уменьшает выхлопные газы (NOx, HC) и улучшает работу двигателя за счет снижения насосных потерь, внутреннего Эффект EGR, улучшение стабильности сгорания, улучшение объемный КПД и увеличение работы расширения.
Эта система состоит из
-
масляный регулирующий клапан CVVT (OCV), который снабжает двигатель масло в фазовращатель или вытекает моторное масло из фазовращателя в в соответствии с управляющим сигналом ECM PWM (Pulse With Modulation),
-
и Cam Phaser, который изменяет фазу кулачка, используя гидравлическую силу моторного масла.
Моторное масло, вытекающее из клапана управления маслом CVVT изменяет фазу кулачка в направлении (опережение впуска/запаздывание выпуска) или направление, противоположное двигателю (замедление впуска/опережение выпуска) вращение за счет вращения ротора, соединенного с распределительным валом внутри кулачковый фазер.

Принцип работы
CVVT имеет механизм, вращающий лопасть ротора с гидравлическая сила, создаваемая моторным маслом, подаваемым на опережение или камеру замедления в соответствии с управлением масляным клапаном CVVT.
На крышке цепи со стороны впуска установлен отдельный электромагнитный клапан для закрытия и освобождения отдельного стопорного штифта.

[Системный режим CVVT]

(1) Низкая скорость/низкая нагрузка
(2) Частичная нагрузка


(3) Низкая скорость/высокая нагрузка
(4) Высокая скорость/высокая нагрузка



Вождение
Состояние
Выхлопной клапан
Впускной клапан
Клапан
Сроки
Эффект
Клапан
Сроки
Эффект
(1) Низкая скорость
/Низкая нагрузка
Полностью
Продвигать
* Нижний клапан клапана
* Улучшение стабильности горения
Полностью
Замедлить
* Нижний клапан клапана
* Улучшение стабильности горения
(2) Частичная нагрузка
Замедлить
* Снижение НС
Замедлить
* Задерживает время закрытия впускного клапана, чтобы уменьшить насосные потери
* Увеличивает работу расширения
(3) Низкая скорость
/Высокая нагрузка
Замедлить
* Увеличение работы расширения
Продвигать
* Предотвращение обратного потока на впуске (улучшение объемной эффективности)
(4) Высокая скорость
/Высокая нагрузка
Продвигать
* Снижение насосных потерь
Замедлить
* Улучшение объемной эффективности

Компоненты и расположение компонентов CVVT и распределительного вала
Компоненты 1. Крышка подшипника распределительного вала2. Крышка переднего подшипника распредвала 3. выпускной распределительный вал4. Впускной распределительный вал5. Выхлоп CVVT в сборе6. Впускной CVVT в сборе ...
Процедуры ремонта CVVT и распределительного вала
Удаление • Используйте накладки на крылья, чтобы не повредить окрашенные поверхности. • Во избежание повреждений осторожно отсоединяйте разъемы проводки, удерживая часть разъема. ...
Дополнительная информация:

Hyundai Elantra AD (2016-2020) Руководство по эксплуатации: Диапазон трансмиссии
Индикатор в комбинации приборов показывает положение рычага переключения передач, когда ключ зажигания находится в положении ON. П (Парк) Всегда полностью останавливайтесь перед переключением на P (Парковка). Чтобы переключиться из режима P (Парковка), вы должны сильно нажать на педаль тормоза и убедиться, что у тебя нога не в порядке...

Hyundai Elantra AD (2016-2020) Руководство по техническому обслуживанию: Компоненты заднего амортизатора и расположение компонентов
Компоненты 1. Пылезащитный колпачок амортизатора2. Контргайка3. Узел изолятора 4. Резиновый бампер5. Пылезащитный чехол6. Амортизатор ...