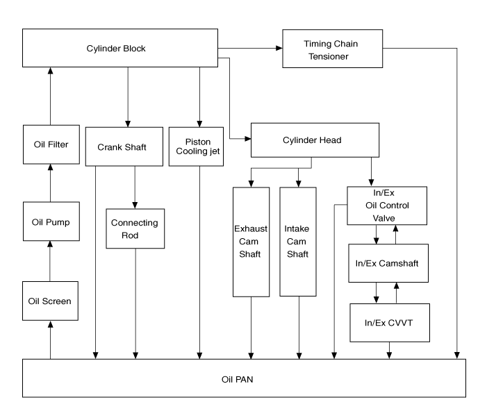
Hyundai Genesis: система смазки / схема моторного масла

Схема потока моторного масла

Процедуры ремонта моторного масла
Замена • Длительный и повторяющийся контакт с минеральным маслом приведет к в удалении естественных жиров с кожи, что приводит к ее сухости, раздражение и де...
Компоненты корпуса масляного фильтра и расположение компонентов
Компоненты 1. Крышка масляного фильтра2. уплотнительное кольцо3. Элемент масляного фильтра4. Корпус масляного фильтра5. Сальник ...
Дополнительная информация:

Hyundai Genesis (DH) 2013-2016 Руководство по обслуживанию: Описание и работа узла защелки питания


Описание 1. Поток блокировки защелки питания А. При открытом багажнике закрывается, боек блокируется. Б. КОГОТЬ вращается (1-й шаг закрытия). С. При обнаружении закрытия 1-го шага стяжной трос начинает вращаться. Д. Рычаг зажима начинает работать. Э. CLAW вращается для ...

Hyundai Genesis (DH) 2013-2016 Руководство по техническому обслуживанию: Описание и работа блока автоматической коррекции фар


Описание В зависимости от условий вождения и состояния загрузки транспортное средство, направление освещения фары изменено, чтобы держать водителя дальности видимости и для защиты зрения водителя от бликов, прицеливания при безопасном вождении. Встроенный датчик ECU, установленный на задних приводах центрального рычага ...