Hyundai Genesis: Процедуры ремонта опоры дифференциала в сборе / процедуры ремонта опоры заднего дифференциала

Удаление
1.
Снимите заднее колесо и шину (А) с задней ступицы.

Момент затяжки:
88,3 ~ 107,9 Н·м (9,0 ~ 11,0 кгс·м, 65,1 ~ 79,6 фунт-фут)

Будьте осторожны, чтобы не повредить болты ступицы при снятии заднего колеса и шины (А).

2.
При включенном тормозе снимите шплинт (А) с задней ступицы и снимите корончатую гайку (В).

Момент затяжки :
196,1 ~ 274,5 Н·м (20,0 ~ 28,0 кгс·м, 144,7 ~ 202,5 ​​фунт-фут)

3.
Снимите скобу (А).

Момент затяжки :
49,0 ~ 63,7 Н·м (5,0 ~ 6,5 кгс·м, 36,2 ~ 47,0 фунт-фут)

4.
Снимите глушитель.
(См. Механическая система двигателя — «Глушитель»)
5.
Ослабьте крепежные болты, а затем алюминиевую крышку (А).

Момент затяжки:
6,9 ~ 13,7 Н·м (0,7 ~ 1,4 кгс·м, 5,1 ~ 10,1 фунт-фут)

6.
Запишите положение установочных меток (C) на резиновом соединение гребного винта (А) и напарника и соответствующие метки на картере дифференциала (B), а затем снимите карданный вал стяжной болт (D).

Момент затяжки :
88,3 ~ 107,9 Н·м (9,0 ~ 11,0 кгс·м, 65,1 ~ 79,6 фунт-фут)

Запишите положение установочных меток перед снятием карданный вал, чтобы предотвратить затягивание болта и шайбы в неправильном положении или в неправильном направлении.
Соединение болта и шайбы в неправильном направлении может привести к разбалансировке карданного вала. Это может вызвать карданный вал вибрирует на высоких скоростях.
Если карданный вал чрезмерно вибрирует на высоких скоростях после его замены или снятия с исходного монтажного положения, используйте оборудование для балансировки валов, чтобы правильно отрегулировать баланс вал.

7.
Снимите задний приводной вал.
(См. Задний карданный вал в сборе — «Задний карданный вал»)
8.
Ослабьте болт крепления дифференциала (A-4ea) и снимите дифференциал в сборе (B).

Момент затяжки:
78,5 ~ 98,1 Н·м (8,0 ~ 10,0 кгс·м, 72,3 ~ 65,1 фунт-фут)

9.
Установите в порядке, обратном снятию.
Разборка
Разборка корпуса заднего дифференциала
1.
Слейте масло, сняв сливную пробку (А).
Используйте новую шайбу (А) при повторной установке сливной пробки.

2.
Поместите узел корпуса дифференциала в SST (09530-3T300).

3.
Снимите заливную пробку (А).
Используйте новую шайбу (А) при повторной установке заливной пробки.

4.
Снимите вспомогательный вал. (с лямбда двигателем)

5.
Снимите боковой сальник (А) с помощью отвертки.
Используйте новый сальник при повторной установке корпуса заднего дифференциала.

6.
Ослабьте болты (А), чтобы снять крышку (В).

Используйте молоток и долото при снятии задней крышки дифференциала.

7.
Снимите пробку сапуна (А).

8.
Снимите крышки подшипников (А).
Пометьте каждую крышку подшипника, чтобы их можно было установить в том же положении и в том же направлении.

9.
Снимите редуктор в сборе (А) с помощью рычагов.

10.
Прикрепите метки «Левая» или «Правая» к наружным кольцам и прокладкам подшипников, чтобы их можно было установить в прежнее положение.

Разборка узла держателя шестерни
1.
Ослабьте болты уплотнения, а затем снимите водило шестерни (А) и зубчатый венец (В).
Нанесите метки совмещения на водило шестерни и зубчатый венец.

2.
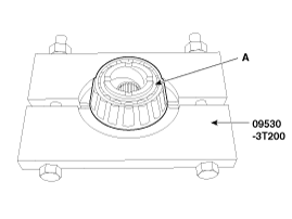
Снимите боковые подшипники с помощью SST (09530-3T200 или 09530-3C100).
При наличии двигателя Lambda используйте SST 09530-3T200, а при наличии двигателя Tau используйте SST (09530-3C100).
[С лямбда-двигателем]

[С двигателем Тау]

Для облегчения снятия подшипников можно использовать аэрозольную смазку.

3.
Снимите подшипники, а затем прикрепите к каждому подшипнику ярлыки «Левый» или «Правый».

Разборка шестерни в сборе
1.
Поместите узел корпуса дифференциала в SST (09530-3T300).
При наличии двигателя Tau используйте дополнительный SST (09530-3C300).
[С лямбда-двигателем]

[С двигателем Тау]

Вставьте штифт на фланце картера дифференциала в отверстия в SST, как показано ниже.

2.
Снимите стопорную гайку шестерни (А).

3.
Снимите ведущую шестерню с помощью пресса.

Установите опоры на пресс, как показано ниже, чтобы предотвратить повреждение установочного штифта (A) на фланце картера дифференциала.

4.
Снимите сальник шестерни (А) с помощью рычага или отвертки.

5.
Снимите переднее и заднее кольца подшипника шестерни с помощью молотка и зубила.
Найдите конец долота в канавках на корпусе ниже.
[Передний]

[Задний]

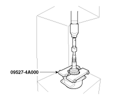
6.
Запрессуйте ведущую шестерню с помощью SST (09527-4A000) и затем снимите прокладку подшипника шестерни (А), передний подшипник (В) и регулировочные прокладки внутреннего подшипника (C) по порядку.

Сборка
Используйте уже принятый шов для контроля внутреннего подшипник переднего дифференциала в сборе. (Используйте одинаковую толщину контрольный шов на случай разрушения)
Задний дифференциал в сборе заменяется новым. один, когда корпус дифференциала или корпус дифференциала в сборе терпит неудачу. Шум или вибрация могут быть сделаны из-за текущего внутреннего подшипник, не совпадающий со швом управления передачей, когда водило или блок картера дифференциала заменяется как единое целое.
1.
Установите внешнее кольцо внутреннего подшипника шестерни (A) с помощью SST (09530-3T100).

2.
Установите внешнее кольцо подшипника внешней шестерни (A) с помощью SST (09530-3T100).

3.
Установите регулировочную шайбу внутреннего подшипника (А) на ведущую шестерню (В).

4.
Запрессуйте задний подшипник шестерни (A) с помощью круглой трубы (B).

5.
Установите стопорную гайку из нержавеющей стали (A), фланец (B), масло для шестерни. уплотнение (C), передний подшипник шестерни (D), прокладку (E) и привод шестерню (F) к картеру дифференциала.

(1)
С помощью круглой трубы (A) запрессуйте задний подшипник шестерни (B).

(2)
Установите прокладку подшипника ведущей шестерни (В) на ведущую шестерню ведущей шестерни (А).

Не используйте пространство повторно. Обязательно установите новый.
(3)
Используя круглую трубу (A), запрессуйте передний подшипник (B).

(4)
С помощью SST (09530-3T600) установите сальник шестерни.

(5)
Используя круглую трубу (A), нажмите на соединительный фланец (B).

6.
Установите стопорную гайку шестерни.

Предварительный натяг должен быть 11,5~16,5 кгс.см и контргайка из нержавеющей стали. необходимо затягивать с моментом 0,9~1,4 Н·м (9,0~14,0 кгс·см, 0,7~1,0 фунт-фут).
Измерения предварительной нагрузки поддерживают постоянную скорость вращения (60 об/мин).
7.
Установите боковой подшипник (A) с помощью SST (09453-3B200).
При наличии двигателя Tau используйте SST (09530-3C300).
[С лямбда-двигателем]

[С двигателем Тау]

8.
Установите водило шестерни и зубчатый венец.

Момент затяжки :
137,3 ~ 156,9 Н·м (14,0 ~ 16,0 кгс·м, 101,3 ~ 115,7 фунт-фут)

Затяните болты уплотнения в диагональной последовательности.

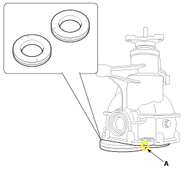
9.
Установите левую и правую боковые регулировочные прокладки на картер дифференциала.

10.
Установите наружные кольца левого и правого боковых подшипников (А) на водилу шестерни.

11.
Удерживайте наружные кольца левого и правого боковых подшипников обеими руками. руками и установите корпус шестерни в сборе (А) на дифференциал. случай.

12.
Установите крышку подшипника (А), совместив установочные метки.

Момент затяжки :
53,9 ~ 63,7 Нм (5,5 ~ 6,5 кгс·м, 39,8 ~ 47,0 фунт-фут)

13.
Измерьте предварительную нагрузку.

Общая предварительная загрузка
Лямбда двигатель:
1,33 ~ 2,39 Нм (13,5 ~ 24,2 кгс·см, 0,98 ~ 1,76 фунт-фут)
Тау Двигатель:
1,36 ~ 2,47 Нм (13,8 ~ 25,0 кгс·см, 1,00 ~ 1,82 фунт-фут)

14.
Проверьте люфт.

Люфт :
0,10 ~ 0,15 мм (0,004 ~ 0,006 дюйма)

Если люфт превышает предельное значение, выполните регулировку с помощью прокладок боковых подшипников.
Если регулировка невозможна, замените боковую шестерню и ведущую шестерню в комплекте.
15.
Проверьте контакт ведущей шестерни.
(1)
Равномерно покройте зубья зубчатого венца тонким слоем маркировочной пасты.

(2)
Поместите зубчатый венец в ведущую шестерню, делая каждая окрашенная метка совмещена, и несколько раз поверните зубчатый венец или фланец по часовой стрелке и против часовой стрелки, чтобы проверить, включены ли зубья шестерни правильно.

(3)
Проверьте пятно контакта зубьев зубчатого венца.
Зубной контакт
Состояние контакта
Решение
Стандартный контакт



1. Контакт колеса

Увеличьте толщину регулировочной шайбы высоты шестерни и расположите ведущую шестерню ближе к центру ведущей шестерни.
Кроме того, для регулировки люфта переместите ведущую шестерню дальше от ведущей шестерни.

2. Контакт лицом к лицу

3. Контакт с носком

Уменьшите толщину регулировочной шайбы высоты шестерни и расположите ведущую шестерню дальше от центра ведущей шестерни.
Кроме того, для регулировки люфта переместите ведущую шестерню ближе к ведущей шестерне.

4. Фланговый контакт


1.
Рисунок контакта зуба – это метод оценки результата регулировка высоты ведущей шестерни и люфта главной передачи. регулировка высоты ведущей шестерни и люфта главной передачи должна повторять до тех пор, пока рисунок контакта зубьев не будет похож на стандартный схема контакта зубов.
2.
Если пятно контакта зубьев неправильное, ведущая шестерня и ведущая шестерня превышают свои пределы. Обе шестерни должны быть заменены в набор.
16.
Установите сапун (А).

Момент затяжки :
9,8 ~ 19,6 Нм (1,0 ~ 2,0 кгс·м, 7,2 ~ 14,5 фунт-фут)

17.
Нанесите герметик (А) на поверхность задней крышки.

Герметик: LT5060

Удалите остатки герметика перед нанесением покрытия.
Равномерно нанести на поверхность задней крышки толщиной 2~3 мм.

18.
Установите заднюю крышку дифференциала (А).

Момент затяжки :
39,2 ~ 49,0 Нм (4,0 ~ 5,0 кгс·см, 28,9 ~ 36,2 фунт-фут)

19.
Установите левый и правый сальники с помощью SST (09530-3T000).

20.
Установите сливную пробку (А) и заливную пробку (В).

Момент затяжки :
заливная пробка:
39,2 ~ 58,8 Нм (4,0 ~ 6,0 кгс·см, 28,9 ~ 43,4 фунт-фут)
Сливная пробка :
49,0 ~ 68,6 Нм (5,0 ~ 7,0 кгс·см, 36,2 ~ 50,6 фунт-фут)

21.
Установите сопутствующий вал.

22.
Установите задний дифференциал в сборе на автомобиль и заполните его маслом.

Тип масла (~2015.02.28): Гипоидное трансмиссионное масло MS517-15 GT 75W/90 (GL-5)
(SHELL HD AXLE OIL 75W90), эквивалент SK HK G-5 75W90
Емкость масла (л): 1,4 ± 0,05
Тип масла (2015.03.01~): Гипоидное трансмиссионное масло MS517-15 GT 75W/85 (GL-5)
(эквивалент SK HK SYN GEAR OIL 75W/85)
Емкость масла (л): 1,4 ± 0,05

осмотр
1.
После очистки проверьте детали на наличие повреждений или истирания. Следуйте приведенному ниже методу, если обнаружены какие-либо проблемы.
Элемент
Идентифицировать
Комплект шестерен (ведущая шестерня и ведомая шестерня)
Комплект шестерен необходимо заменить новым, если зубья шестерни повреждены (трещины/ямки/вмятины).
Несущий
Подшипник необходимо заменить новым, если ролик подшипника или обойма повреждены (трещины/ямки/вмятины).
Сальник
При разборке сальник необходимо заменить новым.
Дифференциальная несущая
Картер необходимо заменить новым, если внутри поврежден опорный подшипник (трещины/ямки/вмятины) или обнаружена трещина внутри снаружи.
Сопутствующий фланец
Сальник шестерни необходимо заменить новым, если контактная поверхность повреждена (трещины/ямки/вмятины).
Открытый тип
Комплект шестерен дифференциала
(Боковая шестерня дифференциала и шестерня дифференциала)
Комплект шестерен необходимо заменить новым, если зубья шестерни или поверхность зубьев повреждены (трещины/ямки/вмятины).
Шайба дифференциала
(шайба боковой шестерни дифференциала и шайба шестерни дифференциала)
Шайба должна быть заменена новой, если поверхность шайбы повреждена (трещины/ямки/вмятины).

Компоненты и расположение компонентов кронштейна заднего дифференциала
Компонент 1. Каретка заднего дифференциала в сборе Компонент [С лямбда-двигателем] 1. Контргайка шестерни 2. Соединительный фланец 3. Сальник шестерни 4. Передний подшипник шестерни 5. Картер дифференциала ...
Подвесная система
...
Дополнительная информация:

Hyundai Genesis (DH) 2013-2016 Руководство по техническому обслуживанию: Порядок ремонта


Основы обслуживания системы хладагента Восстановление хладагента Используйте только сервисное оборудование, которое включено в список UL и сертифицирован на соответствие требованиям SAE J2210 по удалению HFC-134a(R-134a) из системы кондиционирования воздуха. • Хладагент кондиционера или смазочный ва...

Руководство по эксплуатации Hyundai Genesis (DH) 2013-2016: Рекомендуемая вязкость по SAE число


ОСТОРОЖНОСТЬ Всегда следите за чистотой территории вокруг заливной пробки, сливной пробка или щуп перед проверкой или слив любой смазки. Это особенно важно в пыльные или песчаные участки и когда автомобиль используется на грунтовых дорогах дороги. Очистка штекера и области щупа предотвратят д ...