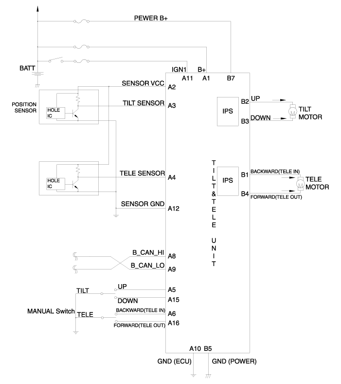
Hyundai Genesis: схемы IMS (интегрированная система памяти) / управления наклоном и телескопом (SCM)

Принципиальная электрическая схема

НЕТ.
Функция (разъем А)
НЕТ.
Функция (разъем B)
1
B+ (ЭБУ)
1
Телемотор назад (телевход)
2
Датчик VCC
2
Наклонить двигатель вверх
3
Датчик наклона
3
Наклонить двигатель вниз
4
Телесенсор
4
Теле мотор вперед (теле выход)
5
Переключатель наклона вверх
5
Заземление питания
6
Теле-назад (теле-вход) 5 Вт
6
-
7
-
7
Мощность В+
8
B_CAN_Высокий
8
-
9
B_CAN_Низкий
9
-
10
ЗАЗЕМЛЕНИЕ ЭБУ
10
-
11
IGN1
11
-
12
Земля датчика
12
-
13
-
13
-
14
-
14
-
15
Переключатель наклона вниз
15
-
16
Переключатель Tele forward (теле out)
16
-
17
-
17
-
18
-
18
-
19
-
19
-
20
-
20
-

Управление наклоном и телескопом (SCM) Описание и работа
Описание Функция работы наклона и телескопирования в SCM содержит следующие функции. 1. Ручное управление с помощью переключателей направления (наклон вверх/вниз, телескоп вперед/назад). 2. Пла ...
Процедуры ремонта системы управления наклоном и телескопом (SCM)
осмотр Настройка режима Ims с помощью GDS 1. Вы можете включить или выключить опцию управления наклоном и телескопом IMS с помощью пользовательской программы опций. 2. Выберите модель и меню «модуль управления кузовом». 3. Сел...
Дополнительная информация:

Hyundai Genesis (DH) 2013-2016 Руководство по обслуживанию: Принципиальные схемы приемника TPMS


Принципиальная электрическая схема 1. Принципиальная электрическая схема 2. Клеммы разъема приемника. 3. Функция разъема приемника. Нет Описание функции1BatteryVBAT2IG ONBattery на IG ON3CAN_HighCAN_High4CAN_LowCAN_Low5GroundBattery на землю6-- ...

Hyundai Genesis (DH) 2013-2016 Руководство по эксплуатации: Спортивный режим


Независимо от того, стоит автомобиль или в движении спортивный режим выбирается толкая рычаг переключения передач из положения D (Движение) в ворота с ручным управлением. Чтобы вернуться к работе в диапазоне D (Движение), верните рычаг переключения передач в главные ворота. В спортивном режиме переключение передач рычаг назад...