Hyundai i-20 manuels

Hyundai i-20 (GB) 2014-2023 Руководство по эксплуатации автомобиля: Общая информация

ОБЩАЯ ИНФОРМАЦИЯ ОТ ПОИСК НЕИСПРАВНОСТЕЙ
ПЕРЕД УСТРАНЕНИЕМ НЕИСПРАВНОСТЕЙ
1.
Проверьте предохранители в блоке предохранителей/реле.
2.
С помощью средства проверки батареи (MCR-570 KIT) проверьте аккумулятор, состояние заряда, очистите и затяните соединения.
(См. Электрическая система двигателя — «Аккумуляторная батарея».)
Не заряжайте батарею быстро, если кабель заземления аккумуляторной батареи был отсоединен, в противном случае диоды генератора могут быть повреждены.
Не пытайтесь запустить двигатель с ослаблен кабель заземления аккумулятора или проводка может быть серьезно поврежден.
3.
Проверьте натяжение ремня генератора (D).
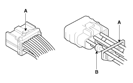
ОБРАЩЕНИЕ С РАЗЪЕМАМИ
1.
Убедитесь, что разъемы чистые, а клеммные провода не свободны.
2.
Убедитесь, что многогнездные соединители покрыты смазка (кроме водонепроницаемых разъемов).
3.
Все разъемы оснащены системой push-lock. (В).

4.
Некоторые разъемы имеют зажим сбоку, что позволяет прикрепите к опоре на корпусе или на другом компоненте. Этот клип имеет запирающий замок.
5.
Некоторые смонтированные разъемы не могут быть отключены, если только вы снимаете замок и вынимаете разъем из держателя (В).

6.
Никогда не пытайтесь отсоединить разъемы, потянув за провода. ; вместо этого потяните за корпус разъема.
7.
Всегда устанавливайте пластиковые крышки на место.

8.
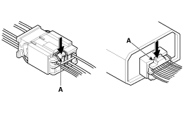
Перед подключением разъемов убедитесь, что клеммы (А) на месте и не погнуты.

9.
Убедитесь, что пробка (А) и резиновые уплотнения (В) не не рыхлый.

10.
Задняя часть некоторых разъемов покрыта смазкой. добавлять смазать при необходимости. Если смазка (А) загрязнена, замените ее.

11.
Вставьте разъем целиком и убедитесь, что он надежно зафиксирован.
12.
Расположите провода так, чтобы открытый конец крышек был ориентированы вниз.

ОБРАЩЕНИЕ С КАБЕЛЯМИ И ЖГУТАМИ
1.
Закрепите кабели и жгуты на раме с помощью зажимов. в указанных местах.
2.
Аккуратно снимите зажимы; не повредить их замки (В).

3.
Вставьте зажим (А) под основание зажима и через отверстие под углом и сожмите выступы расширения, чтобы освободить зажим.

4.
После установки зажимов жгута убедитесь, что жгут не соприкасается с движущейся частью.
5.
Держите жгуты подальше от выхлопных труб и других горячие детали, острые края опор и отверстий, винты и болты.
6.
Поместите кольца правильно в их канавки (A). Не позволяй скрутите кольца (B).

ПРОВЕРКИ И РЕМОНТ
1.
Не используйте кабели или жгуты с поврежденной изоляцией.
Замените или отремонтируйте кабели, обмотав порез лентой. изолирующий.
2.
После установки деталей убедитесь, что провода не зажаты.
3.
При использовании электрического испытательного оборудования соблюдайте инструкции производителя и инструкции, описанные в данном руководстве.
4.
Если возможно, вставьте инструмент для разборки со стороны электрического провода. (кроме водонепроницаемых соединителей).

5.
Используйте зонд с заостренным концом.
См. руководство пользователя в комплекте для ремонта проводки. (№ публикации: TRK 015.)

УСТРАНЕНИЕ НЕИСПРАВНОСТЕЙ ЗА 5 ШАГОВ
1.
Проверьте проблему
Включите все компоненты проблемной цепи, чтобы проверить жалобы клиентов. Обратите внимание на симптомы. Не начинать разборку или тест, прежде чем локализовать область, где возникает проблема.
2.
Проанализируйте диаграмму
По схеме найдите неисправную цепь.
Определите, как должна работать схема, построив график пути тока от источника питания, через элементы цепи, на землю. Если несколько цепей выходят из строя одновременно вероятными причинами являются погода, предохранитель или заземление.
Основываясь на симптомах и вашем понимании того, как это работает цепи, определите одну или несколько возможных причин проблемы.
3.
Изолируйте проблему, проверив цепь.
Выполните тесты цепи, чтобы проверить диагноз, сделанный на шаге 2. Имейте в виду, что логичная и простая процедура является ключом к эффективное устранение неполадок.
Сначала проверьте наиболее вероятные причины отказа. Старайтесь тестировать в легкодоступных местах.
4.
Определите проблему
После выявления конкретной проблемы приступайте к ремонту. Обязательно используйте надлежащие инструменты и безопасные процедуры.
5.
Убедитесь, что цепь работает
Включите все элементы ремонтируемой цепи во всех режимах, чтобы убедитесь, что проблема была полностью идентифицирована. Если проблема была в перегоревшем предохранителе, проверьте все зависимые цепи этого предохранителя. Убедитесь, что не возникает новых проблем и исходная проблема не повторяется.
Сброс люка и стеклоподъемника
При открытии/закрытии стеклоподъемника, люка, когда кабель аккумулятора (-) снят или установлен, или при замене предохранителя, инициализация стеклоподъемников должна быть выполнена из-за удалено значение двигателя по умолчанию.
Система
Перезагрузить
стеклоподъемник
машина
Вам нужно сбросить мотор стеклоподъемника на его настройки по умолчанию в следующих случаях:
Открывая/закрывая электрические стеклоподъемники, если питание аккумулятора подключено к стеклу электричество не подается в связи с заменой батареи, разряд батареи и замена предохранителя.
Как только батарея отключена, разряжена или соответствующий предохранитель заменяется или переустанавливается, сбросьте автоматическую оконную систему в соответствии с приведенной ниже процедурой.
1)
Установите ключ зажигания в положение ON.
2)
Потяните переключатель электрического стеклоподъемника вверх так, чтобы окно полностью закрылось, затем поднимите его около 1 секунды.
Люк на крыше
Во время открывания/закрывания люка, когда питание батарея не питается или разряжается, при замене предохранителя при этом или при активации люка с помощью аварийной ручки, люк следует инициализировать следующим образом.
Вам нужно сбросить мотор люка на его настройки по умолчанию в следующих случаях:
При открытии/закрытии люка, если питание аккумуляторной батареи, подключенной к электродвигателю люка, не не поставляется в связи с заменой батареи, разрядка аккумулятора и замена предохранитель.
Автоматическое открытие или закрытие люка, функция в одно касание не работает должным образом.
Люк снова открывается во время автоматического закрытия даже если в люк не попал предмет (функция безопасности)

1)
Поверните ключ зажигания в положение ON, затем полностью закройте люк.
2)
Отпустите рычаг управления панорамной крышей.
3)
Нажмите и удерживайте кнопку CLOSE не менее минус 10 секунд до движения люка немного.
4)
Отпустите рычаг управления панорамной крышей.
5)
Нажмите и удерживайте кнопку ЗАКРЫТЬ еще раз в течение 5 секунд, пока панорамный люк делает следующие вещи;
• Открытие жалюзи и окон → Закрытие окон → Закрытие жалюзи Затем отпустите рычаг.
6)
Сбросьте процедуру после ее завершения.

Аудиосистема, маршрутный компьютер и сброс часов
При подсоединении кабеля аккумулятора после его отсоединения, когда подзарядка аккумулятора после разрядки или во время установки предохранитель памяти, расположенный на боковой панели водителя после его удаления, важно перезагрузить системы, указанные в таблице ниже.
Кроме того, при замене или переустановке их предохранителей после удаления, сбросьте их в соответствии с таблицей ниже. Пожалуйста при обслуживании обращайтесь к таблице ниже.
Система
Перезагрузить
МАРШРУТНЫЙ КОМПЬЮТЕР
Если батарея отключена и снова подключена, функции, установленные на компьютере, путь инициализируется. Поэтому вы должны предоставить эту информацию. клиенту.
ЧАСЫ
Когда клеммы аккумулятора или соответствующие предохранители отключены, нужно сбросить время в головном аудиоустройстве. (Ссылаться к руководству по эксплуатации аудиосистемы)
Аудио
Если батарея отсоединена и снова подключена, радиостанции клиента инициализируются. Поэтому необходимо зарегистрировать радиостанции клиента перед обслуживанием. После обслуживания отрегулируйте клиентские радиостанции в аудио.

Электрическая система кузова
...

Аудио
...
Другие материалы:

ДАТЧИК ПОЛОЖЕНИЯ КОЛЕНЧАТОГО ВАЛА (CKPS) Описание и работа
Описание Датчик положения коленчатого вала (ДКП) — один из самых распространенных датчиков важные части системы управления двигателем, определяющие положение коленчатого вала. Если входной сигнал CKPS отсутствует, двигатель может остановиться. Этот датчик...

Процедуры ремонта рулевой колонки и вала
ДЕПОЗИТ 1. Отсоедините отрицательный кабель аккумулятора от аккумулятора, затем подождите. не менее 30 секунд. 2. Поверните руль так, чтобы передние колеса были обращены вперед. 3. ...