Hyundai Palisade: предохранители и реле / ​​блок реле (моторный отсек)

Hyundai Palisade (LX2) 2020-2023 Руководство по ремонту / Электрическая система кузова / Предохранители и реле / Блок реле (моторный отсек)

Процедуры ремонта
осмотр
1.
Отсоедините отрицательную (-) клемму аккумуляторной батареи.
2.
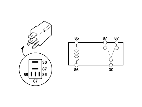
Вытащите реле из блока реле в моторном отсеке.
Силовое реле (тип А)
Hyundai Palisade. Repair procedures
Не используйте плоскогубцы.
Плоскогубцы повредят реле, что может привести к поломке двигателя. заглохнуть или не завестись.
Осторожно снимите реле с помощью съемника реле.
Проверьте целостность цепи между клеммами.
1.
Между клеммами № 30 и № 87 должна быть непрерывность, когда питание и земля подключаются к клеммам №85 и №86.
2.
Между клеммами №30 и №87 не должно быть непрерывности. при отключении питания.
[Релейный блок в машинном отделении]

Hyundai Palisade. Repair procedures

Hyundai Palisade. Repair procedures

Hyundai Palisade. Repair procedures

Силовое реле (тип B)
Проверьте целостность цепи между клеммами.
A : Реле стеклоочистителя (низкий уровень)
B : Реле стеклоочистителя (высокий уровень)
C : Реле стеклоочистителя Frt
1.
Между клеммами № 30 и № 87 должна быть непрерывность, когда питание и земля подключаются к клеммам №85 и №86.
2.
Между клеммами № 30 и № 87 должна быть непрерывность, когда питание отключено.

Hyundai Palisade. Repair procedures

Hyundai Palisade. Repair procedures

Hyundai Palisade. Repair procedures

Силовое реле (тип C)
Проверьте целостность цепи между клеммами.
A : Реле вентилятора охлаждения
B : Реле вентилятора Frt
C : Реле заднего обогрева
1.
Между клеммами № 30 и № 87 должна быть непрерывность, когда питание и земля подключаются к клеммам №85 и №86.
2.
Между клеммами №30 и №87 не должно быть непрерывности. при отключении питания.

Hyundai Palisade. Repair procedures

Hyundai Palisade. Repair procedures

Hyundai Palisade. Repair procedures

Замена блока печатной платы
1.
Отсоедините отрицательную (-) клемму аккумуляторной батареи.
2.
Выдвиньте 4 крючка в блоке реле в машинном отделении в направлении стрелки. и установите блок печатной платы (A).

Hyundai Palisade. Repair procedures

3.
Отсоедините разъем и снимите блок печатной платы (А).
Предохранитель
1.
Убедитесь, что в держателях предохранителей нет люфта и что предохранители держится надежно.
2.
Правильно ли указаны номиналы предохранителей для каждой цепи?
3.
Есть ли перегоревшие предохранители?
Если необходимо заменить предохранитель, обязательно используйте новый предохранитель такой же мощности. Всегда сначала определяйте, почему перегорел предохранитель, и полностью устраняйте неисправность. проблему перед установкой нового предохранителя.
Мульти предохранитель

Hyundai Palisade. Repair procedures

Hyundai Palisade. Repair procedures
Многофункциональный предохранитель (А) необходим для замены в массе при его повреждении только один предохранитель.
При замене многофункционального предохранителя см. "Моторный отсек". - расположение компонентов».
Правильно используйте номиналы нескольких предохранителей для каждой цепи.

Компоненты и расположение компонентов

..

Блок реле (пассажирский салон)

Описание и работа Описание и работа ICU (интегрированный центральный блок управления) ICU (Integrated Central Control Unit) — интегрированная модель интеллектуального узла. блок и центральный шлюз...

Дополнительная информация:

Hyundai Palisade (LX2) 2020-2023 Руководство по техническому обслуживанию: Вентилятор охлаждения


С..

Hyundai Palisade (LX2) 2020-2023 Руководство по техническому обслуживанию: Фотодатчик


Описание и работа Описание Фотодатчик расположен в центре форсунок оттайки. Фотодатчик содержит фотогальванический (чувствительный к солнечному свету) диод. солнечное излучение, полученное его светоприемной частью, генерирует электродвижущую способность сила пропорциональна количеству полученного излучения, которое передается к модулю автоматического контроля температуры, чтобы компенсация солнечного излучения будет выполняться...

Категории

Как работает система подушек безопасности Работать?

Hyundai Palisade. Operate?

SRS состоит из следующих компоненты:

1. Модуль передней подушки безопасности водителя
2. Модуль передней подушки безопасности пассажира
3. Модули боковых подушек безопасности
4. Модули шторок безопасности
5. Втягивающее устройство предварительного натяжения
6. Сигнальная лампа подушки безопасности
7. Модуль управления SRS (SRSCM)/ Датчик опрокидывания
8. Датчики лобового столкновения
9. Датчики бокового удара
10.Боковые датчики давления
11. Система классификации пассажиров
12. Модуль коленной подушки безопасности водителя

читать далее