Hyundai Tucson manuels

Hyundai Tucson Automotive Service Manual: шатуны

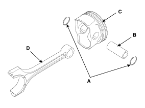
Компоненты и расположение компонентов

КОМПОНЕНТЫ

1. Поршневое кольцо
2. Эластичное кольцо
3. Поршневой палец
4. Плунжер
5. Шатуны
6. Верхний подшипник шатуна
7. Нижний подшипник шатуна
8. Крышка шатунного подшипника

Процедуры ремонта

РАЗБОРКА
Для этой процедуры требуется снятие двигателя.
Используйте защиту крыльев, чтобы предотвратить повреждение окрашенных поверхностей.
Во избежание повреждения головки блока цилиндров подождите, пока температура охлаждающей жидкости двигателя ниже нормальной температуры перед укладкой.
При обращении с металлической прокладкой будьте осторожны, чтобы не не сгибайте его и не повреждайте контактную поверхность.
Во избежание повреждений отсоедините разъемы проводки осторожно, удерживая разъемы.
Пометьте все кабели и шланги метками, чтобы предотвратить любые проблемы с подключением.
Поверните шкив коленчатого вала так, чтобы поршень № 1 был в ВМТ (верхней мертвой точке).
1.
Снимите двигатель в сборе с автомобиля.
(См. двигатель и трансмиссия - «Двигатель и трансмиссия»)
2.
Снимите коробку передач в сборе с двигателя в сборе.
Автоматическая коробка передач
(См. систему автоматической коробки передач — «Коробка передач автоматическая коробка передач")
3.
Автоматическая коробка передач: Снимите ведущий диск.
(См. Блок цилиндров — «Приводной диск»)
4.
Снимите задний сальник.
(См. Блок цилиндров — «Заднее сальник»)
5.
Установите двигатель на опору двигателя для разборки.
6.
Снимите цепь привода ГРМ.
(См. Система синхронизации - «Цепь синхронизации»)
7.
Снимите водяной насос.
(См. Система охлаждения — «Водяной насос».)
8.
Снимите патрубок подачи воды и термостат.
См. Система охлаждения — «Термостат».
9.
Снимите впускной коллектор.
(См. Система выпуска и впуска — «Коллектор допуск")
10.
Снимите компрессор кондиционера.
(см. отопление, кондиционирование, вентиляцию - "Компрессор")
11.
Снимите выпускной коллектор.
(См. Система выпуска и впуска — «Коллектор выхлоп")
12.
Снимите головку блока цилиндров в сборе.
(См. головку блока цилиндров — «Головка блока цилиндров»)
13.
Снимите масляный фильтр.
(См. Система смазки — «Моторное масло»)
14.
Снимите масляный фильтр.
(См. Система смазки — «Масляный поддон»)
15.
Снимите датчик детонации (А).
16.
Снимите OPS (датчик давления масла) (B).
17.
Снимите CKPS (датчик положения коленчатого вала) (С).

18.
Проверьте боковой люфт шатуна.
19.
Проверьте масляный зазор шатунного подшипника.
20.
Снимите поршень и шатун в сборе.
(1)
С помощью скребка удалите углеродистые отложения с верхняя часть цилиндра.
(2)
Снимите крышки шатунных подшипников (А).

Пометьте крышки шатунов меткой быть в состоянии собрать их в исходное положение и направления.
(3)
Толкающий поршень, узел шатуна и верхний подшипник к блоку цилиндров.
Держите вилку и шатун с подшипниками.
Установите поршень и шатун в сборе в надлежащем порядке.
Пометьте поршень, крышки шатунов знаком маркер, чтобы можно было снова собрать их на позиции происхождения.
21.
Проверьте, соответствует ли поршень поршневому пальцу.
Попробуйте подвигать поршень вперед-назад относительно вала. поршень.
Если движение заметно, замените узел поршня и вала. поршень.
22.
Снимите поршневые кольца.
(1)
с помощью съемника поршневых колец снимите 2 поршневых кольца сжатие.
(2)
Снимите два лонжерона и маслосъемное кольцо вручную.
Установите поршневые кольца в правильном порядке.
23.
Снимите шатун с поршня.
(1)
Снимите стопорное кольцо (А) с поршня.
(2)
Снимите поршневой палец (В) с поршня.
(3)
Снимите поршень (С) и шатун (D).

Контроль
ШАТУН
1.
Проверьте боковой люфт шатуна.
С помощью щупа измерьте зазор, перемещая шатун взад и вперед.
Если осевой люфт шатуна не соответствует значениям указано, установите новый шатун.
Если значение по-прежнему не попадает в допустимый диапазон, заменить коленвал.
Боковая игра
Стандартное значение: 0,10 ~ 0,25 мм (0,0039 ~ 0,0098 дюйма)

2.
Проверить масляный зазор шатунного подшипника.
(1)
Убедитесь, что метки на шатуне и крышке совмещены. чтобы получить правильную сборку.
(2)
Снимите 2 болта крышки шатуна.
(3)
Снимите крышку шатуна и нижний подшипник.
(4)
Очистите эксцентриковый палец и подшипник.
(5)
Поместите пластидж через втулку цапфы коленчатый вал.
(6)
Установите на место нижний подшипник и крышку, затем затяните болты.
Момент затяжки
1-й шаг:
17,7 ~ 21,6 Н·м (1,8 ~ 2,2 кгс·м, 13,0 ~ 15,9 фунт-фут)
2-й шаг: 88~92°
Не проворачивайте коленчатый вал.
Не проворачивайте коленчатый вал.
Не используйте болты крышки повторно. используемый шатун.
(7)
Снимите крышку шатуна и нижний подшипник.
(8)
Измерьте ширину пластигейджа в самом широком месте.
Масляный зазор:
0,024~0,042 мм (0,00094~0,00165 дюйма)

(9)
Если размер пластикового манометра слишком широкий или слишком узкий, снимите верхний подшипник и нижний подшипник, затем установите новые посадки с таким же цветовым знаком. Контроль опять масляная игра.
Не читайте, не прокладывайте и не пропускайте колодки или колпачки, чтобы установить люфт.
(10)
Если пластиковый датчик показывает, что зазор по-прежнему неправильный, сразу используйте подшипники меньшего или большего размера. Еще раз проверьте масляный зазор.
Если адекватный зазор не может быть получен использование более крупных подшипников или более маленький, замените коленчатый вал и повторите процедура контроля.
Если маркеры неразборчивы, потому что скопление грязи и пыли, не трите их щеткой или скребком. Используйте только растворитель или моющее средство.
ИДЕНТИФИКАЦИОННАЯ МАРКА ШАТУНА

Технические характеристики шатуна
СОРТ
Отметка
внутренний диаметр
0
В
48.000~48.006мм
(1,88976 ~ 1,89000 дюйма)
1
Б
48.006~48.012мм
(1,89000 ~ 1,89023 дюйма)
2
ПРОТИВ
48,012~48,018 мм
(1,89023 ~ 1,89047 дюйма)

Маркировка штифта коленчатого вала

Чтение порядка штамповки в соответствии с направление стрелки, начиная с 1.
Технические характеристики коленчатого вала
СОРТ
Отметка
НАРУЖНЫЙ ДИАМЕТР ВТУЛКИ
я
1
44,966~44,972 мм
(1,77031 ~ 1,77055 дюйма)
II
2
44,960~44,966 мм
(1,77008 ~ 1,77031 дюйма)
III
3
44,954~44,960 мм
(1,76984 ~ 1,77008 дюйма)

Идентификационная маркировка шатунного подшипника

Технические характеристики подшипника шатуна
СОРТ
Отметка
ТОЛЩИНА ПОДШИПНИКА
В
Светло-синий
1,511~1,514 мм
(0,05948 ~ 0,05960 дюйма)
Б
ЧЕРНЫЙ
1,508~1,511 мм
(0,05937 ~ 0,05948 дюйма)
ПРОТИВ
БЕЛЫЙ
1,505~1,508 мм
(0,05925 ~ 0,05937 дюйма)
Д
Светло-зеленый
1,502~1,505 мм
(0,05913 ~ 0,05925 дюйма)
Е
РОЗОВЫЙ
1,499~1,502 мм
(0,05901 ~ 0,05913 дюйма)

(11)
Выберите шатунный подшипник, используя таблицу подбора.
Таблица выбора шатунных подшипников
КЛАССИФИКАЦИЯ ПОДШИПНИКОВОГО УЗЛА
ИДЕНТИФИКАЦИОННАЯ МАРКА ШАТУНА
0 (А)
1 (Б)
2(с)
ИДЕНТИФИКАЦИОННАЯ МАРКА КОЛЕНВАЛА
я (1)
Е
(Розовый)
Д (светло-зеленый)
С (БЕЛЫЙ)
II (2)
Д (светло-зеленый)
С (БЕЛЫЙ)
Б (ЧЕРНЫЙ)
III (3)
С (БЕЛЫЙ)
Б (ЧЕРНЫЙ)
А (голубой)

3.
Проверьте соединительные стержни.
(1)
При сборке не забудьте отметить номера цилиндров. на шатуне и на соответствующей крышке. Когда мы устанавливаем новый шатун, убедитесь, что пазы, фиксирующие приземление в положении размещаются с той же стороны.
(2)
Замените шатун, если он поврежден на одном конце стороны примыкания. Далее, если поверхность внутреннего диаметра маленький конец изношен или грубый, также замените стержень.
(3)
С помощью приспособления для центровки шатунов убедитесь, что стержень не деформируется и не перекручивается. Если измеренное значение близко к пределу ремонта, поправьте стержень, нажав на него выше. Любые сильно изогнутые стержни необходимо заменить или согнуты.
Допустимая кривая шатуна:
0,05 мм (0,0020 дюйма) или менее для 100 мм (3,94 дюйма)
Допустимый поворот шатуна:
0,10 мм (0,0039 дюйма) или менее для 100 мм (3,94 дюйма)
При установке шатунов без подшипники разницы быть не должно на боковой поверхности.
ПОРШЕНЬ
1.
Очистите поршень.
(1)
С помощью скребка удалите нагар с детали. верх поршня.
(2)
С помощью подходящего инструмента или сломанного сегмента очистите канавки поршневых колец.
(3)
Используя растворитель и щетку, тщательно очистите поршень.
Не используйте металлическую щетку.
2.
Проверьте зазор между поршнем и цилиндром, рассчитав разницу между внутренним диаметром отверстия цилиндра и диаметром снаружи поршня.
Зазор между поршнем и цилиндром:
0,02–0,04 мм (0,0008–0,0016 дюйма)
(1)
Используя нутромер, измерьте диаметр отверстия цилиндра, когда последний расположен в направлении упор и ось.
Диаметр отверстия цилиндра:
81,00~81,03 мм (3,1890~3,1902 дюйма)

Точки положения измерения (сверху блока цилиндров):
30 мм (1,1811 дюйма) / 60 мм (2,3622 дюйма) / 90 мм (3,5433 дюйма)
(2)
Измерьте внешний диаметр поршня на уровне 35 мм (1,3780 дюйма). от верхней части поршня.
Внешний диаметр поршня:
80,97~81,00 мм (3,1878~3,1890 дюйма)

3.
Выберите поршень, соответствующий классу диаметра цилиндра.
(1)
Проверьте код размера отверстия цилиндра на боковая поверхность блока цилиндров.

Внутренний диаметр отверстия цилиндра
Код размера
Внутренний диаметр отверстия цилиндра
В
81,00 ~ 81,01 мм (3,1890 ~ ​​3,1894 дюйма)
Б
81,01~81,02 мм (3,1894~3,1898 дюйма)
ПРОТИВ
81,02~81,03 мм (3,1898~3,1902 дюйма)

(2)
Проверьте метку размера поршня на верхней стороне плунжера.

Внешний диаметр поршня
Код размера
Внешний диаметр поршня
В
80,97~80,98 мм (3,1878~3,1882 дюйма)
Б
80,98 ~ 80,99 мм (3,1882 ~ 3,1886 дюйма)
ПРОТИВ
80,99~81,00 мм (3,1886~3,1890 дюйма)

поршневые кольца
1.
Проверьте боковой зазор поршневого кольца.
С помощью щупа измерьте зазор между новым кольцом кольцо и стенку канавки поршневого кольца.
Если зазор больше максимального значения, замените поршень.
Боковой зазор поршневого кольца
[СТАНДАРТ]
Кольцо №1:
0,040 ~ 0,080 мм (0,00157 ~ 0,00315 дюйма)
Кольцо №2:
0,040 ~ 0,080 мм (0,00157 ~ 0,00315 дюйма)
Нефтяной сегмент:
0,020 ~ 0,060 (0,00079 ~ 0,00236 дюйма)

Если зазор больше максимального значения, замените поршень.
2.
Проверьте конечный зазор поршневого кольца.
Для измерения осевого зазора поршневого кольца вставьте поршневое кольцо поршень в канале цилиндра. Расположите сегмент под прямым углом, относительно стенки цилиндра, слегка надавив на нее поршень. Измерьте зазор щупом.
Зазор торца поршневого кольца
[СТАНДАРТ]
Кольцо № 1: 0,15 ~ 0,30 мм (0,0059 ~ 0,0118 дюйма)
Кольцо № 2: 0,30 ~ 0,45 мм (0,0118 ~ 0,0177 дюйма)
Масляное кольцо: 0,20 ~ 0,50 (0,0079 ~ 0,0197)

Если люфт превышает допустимые пределы ремонта, замените поршневое кольцо. Если зазор слишком большой, перепроверьте внутренний диаметр отверстия цилиндра. Если диаметр отверстия превышает допустимые пределы ремонта, блок цилиндров подлежит замене.
ПОРШНЕВЫЕ ПАЛЬЦЫ
1.
Измерьте диаметр поршневого пальца.
Диаметр поршневого пальца:
19,997~20,000 мм (0,78728~0,78740 дюйма)

2.
Измерьте зазор между поршневым пальцем и поршнем.
Зазор между поршневым пальцем и поршнем:
0,004~0,016 мм (0,00016~0,00063 дюйма)
3.
Проверьте зазор между наружным диаметром поршневого пальца и внутренний диаметр маленького отверстия на конце шатуна.
Зазор между поршневым пальцем и шатуном:
0,007~0,016 мм (0,00028~0,00063 дюйма)
Сборка
Тщательно очистите все детали, подлежащие сборке.
Перед их установкой нанесите новое моторное масло на все скользкие и вращающиеся поверхности.
1.
Установите поршень и шатун.
(1)
Установите стопорное кольцо (А) на одну сторону отверстия оси. плунжера.
(2)
Совместите переднюю метку на поршне и метку на шатуне.
(3)
Вставьте поршневой палец (В) в его отверстие и маленькую стороны отверстия шатуна.
(4)
Установите стопорное кольцо (C) с другой стороны после вставил поршневой палец.

Нанесите достаточное количество моторного масла на поверхность внешняя поверхность поршня, внутренняя поверхность отверстия поршневого пальца и на отверстии малого конца перед установкой поршневого пальца.
Обязательно избегайте повреждений или царапин на канале ствола. малого конца, к отверстию поршневого пальца и к пальцу поршень, вставляя поршневой палец.
Плотно установите стопорное кольцо так, чтобы оно контактирует со всей канавкой отверстия оси плунжера.
2.
Установите поршневые кольца.
(1)
Вручную установите прокладку маслосъемного кольца и 2 боковые рельсы.
(2)
С помощью расширителя поршневых колец установите два компрессионных кольца клеймо изготовителя обращено Популярные материалы.
(3)
Расположите поршневые кольца так, чтобы концы сегмента, как показано. (Сегмент №1 должен быть включен противоположная сторона сегмента № 2.)
ПРИМЕР :

Убедитесь, что сальник легко поворачивается.
3.
Установите шатунные подшипники.
(1)
Совместите вилку подшипника с канавкой шатуна или крышка шатуна.
(2)
Установите подшипники (А) в шатун и крышку подшипника. (Б).

Будьте осторожны, чтобы не изменить положение шляп посадки.
4.
Установите поршень и шатун в сборе.
Перед установкой поршня нанесите слой моторного масла канавки поршневых колец и отверстия цилиндров.
Установите поршень и шатун так, чтобы передние метки были обращены к от передней части двигателя.
(1)
Установите кольцо сегмента, убедитесь, что сегменты в правильное положение, затем поместите поршень в цилиндр. Затем ударьте по нему деревянной ручкой молотка.

(2)
Остановитесь, как только сегментный компрессор освободится и проверьте соосность шатуна и подшипника перед запрессовкой на поршень, чтобы установить его.
(3)
Нанесите моторное масло на резьбу болтов. Установить крышки шатунов с подшипниками и затянуть болты.
Момент затяжки
1-й шаг:
17,7 ~ 21,6 Н·м (1,8 ~ 2,2 кгс·м, 13,0 ~ 15,9 фунт-фут)
2-й шаг: 88~92°
Используя специальный инструмент (09221-4A000), затяните болты крышка шатуна.

Не используйте болты крышки повторно. используемый шатун.
Продолжайте прилагать нисходящее усилие на воротнике сегмента, чтобы предотвратить расширение сегментов перед началом рассверливания цилиндра.
5.
Проверьте осевой люфт шатуна.
6.
Установите остальные детали в порядке, обратном снятию.
Задний сальник
Компоненты и расположение компонентов КОМПОНЕНТЫ 1. Задний сальник Процедуры ремонта ДЕПОЗИТ 1. Депозит...

коленчатый вал
Компоненты и расположение компонентов КОМПОНЕНТЫ 1. Верхний подшипник коленчатого вала 2. Упорный подшипник коленчатого вала 3. Коленчатый вал 4. Нижний подшипник...
Другие материалы:

Передний дисковый тормоз
Компоненты и расположение компонентов КОМПОНЕНТЫ 1. Корпус суппорта 2. Возвратная пружина колодки 3. Тормозная колодка 4. Система удержания прокладок 5. Кронштейн суппорта Процедуры ремонта ДЕПОЗИТ ...

Футляр для очков (если применимо)
Открытие: Нажмите кэш. Футляр для очков открывается медленно. Поместите свои очки в купе, очки вверх. Закрытие: Установите крышку на место Убедитесь, что футляр для очков закрыт во время вождение. ПРЕДУПРЕЖДЕНИЕ Ран...