Hyundai Tucson manuels

Обслуживание и ремонт Hyundai Tucson Процедуры ремонта

ОБЩИЙ КОНТРОЛЬ
Примечание по диагностике
коэффициент отказа
элемент для проверки
Признак неисправности
ОБЪЯСНЕНИЕ
Заметил
Падение, удар и перегрузка
Двигатель
Аномальный шум
Возможны видимые или невидимые повреждения. Рулевое колесо направление может стрелять в одну сторону с упавшими осколками.
Некоторые части двигателя/блока управления чувствительны к вибрациям. и воздействия.
Перегрузка может привести к неожиданному повреждению
Не используйте поврежденный EPS.
Не перегружайте детали.
ЭБУ
Поврежденная цепь
Плохая точка пайки
печатная плата сломана
Поврежденные части
ДАТЧИК КРУТЯЩЕГО МОМЕНТА
Недостаточное усилие на руле
Перегрузка входного вала может привести к неисправности датчика крутящего момента
Не ударяйте по соединительным частям (при вставке и крутящий момент)
Используйте специальный инструмент для снятия гидроусилителя руля. (Не нажимайте на него)
Не используйте поврежденный EPS.
ДЕРЕВО
Недостаточное усилие на рулевом колесе (Дисбаланс между движением слева направо)

Не используйте поврежденный EPS.
тянуть / толкать
Луч
Отказ-электрическая работа невозможна
неисправность ЭУР
Разъединение между соединительной частью жгута и луч
Не перегружайте луч
Ненормальная температура хранения
Двигатель/ЭБУ
Аномальное усилие на рулевом колесе при неправильной работе двигатель/ЭБУ
линь в нормальном состоянии
Даже небольшая плесень может вызвать некоторые детали двигателя / ЭБУ
Поддерживайте нормальную температуру и правильную влажность, когда хранение - Избегайте погружения в воду

1.
Не ударяйте электронные детали; в случае падения или удара, изменить их.
2.
Избегайте тепла и плесени на электронных деталях.
3.
Не прикасайтесь к клемме подключения во избежание деформации и поражения электрическим током. статический.
4.
Не ударяйте детали двигателя и датчика крутящего момента; в случае падение или удар, замените их.
5.
Разъем должен быть отсоединен или подключен при выключенном ALL OFF.
Проверка и диагностика системы ДБДМ
После или перед обслуживанием системы EPS выполните процедуру поиска неисправности и проверить следующим образом. Сравните состояние системы с нормальным состоянием в таблице ниже, и при обнаружении аномального симптома примените необходимое средство и провести проверку.
УСЛОВИЯ ИСПЫТАНИЙ
Симптомы
Пассажир
Продолжительность
Предупреждающий свет
Причина
Пункт для проверки
IGN выключен / Двигатель выключен / Неподвижный
Неисправность рулевого управления
-
-
-
Нормальный
Работа вспомогательного рулевого управления
120 секунд
Индикатор горит.
Применяется ВСЯ мощность, даже если ВСЕ выключено. Угол направление не инициализировано.
1)
Проверьте ВСЮ линию питания.
2)
Используйте сканер для инициализации угла поворота рулевого колеса.
120 секунд
Индикатор выключен.
Неисправность комбинации приборов или сигналов CAN
Управляйте комбинацией приборов, линией комбинации приборов и линия связи МОЖЕТ.
ВСЕ Вкл. / Двигатель выключен / Стационарный
-
Неисправность рулевого управления
-
-
-
Нормальный
Работа вспомогательного рулевого управления
120 секунд
Индикатор горит.
Угол поворота не инициализирован.
Используйте сканер для инициализации угла поворота рулевого колеса.
120 секунд
Индикатор выключен.
Неисправность комбинации приборов или сигналов CAN
Управляйте комбинацией приборов, линией комбинации приборов и линия связи МОЖЕТ.
Когда двигатель включен, ВСЕ остается включенным, но двигатель выключает.
120 секунд
Индикатор горит.
Не получены сигналы EMS (связь CAN)
Проверьте линию связи. МОЖЕТ.
120 секунд
Индикатор выключен.
Неисправность комбинации приборов или сигналов CAN
Управляйте комбинацией приборов, линией комбинации приборов и линия связи МОЖЕТ.
ВСЕ Вкл. / Двигатель включен / Неподвижный
Неисправность рулевого управления
-
Индикатор горит.
Сбои в линии питания системы EPS и ALL
Проверьте EPS и ВСЕ линии питания системы.
-
Индикатор горит.
Появляется диагностический код неисправности (DTC)
Используйте сканер для диагностики и устранения неполадок
Работа вспомогательного рулевого управления
-
-
-
Нормальный
-
Индикатор горит.
Появляется диагностический код неисправности (DTC)
Используйте сканер для диагностики и устранения неполадок

ASP: Абсолютное положение руля
Сетевой контроллер CAN+Area
EMS: система управления двигателем
Во время работы могут возникать следующие симптомы нормальная работа автомобиля, и если нет сигнальной лампы EPS, это нет отказа системы EPS.
После включения зажигания рулевое колесо становится тяжелее, так как выполняет диагностику системы EPS в течение примерно 2 секунд, затем он переходит в режим рулевого управления. нормальный.
После включения или выключения зажигания звук Реле EPS может звучать, но это нормально.
Когда рулевое управление используется при остановленном автомобиле или на малых оборотах мотор может шуметь, но это нормально.
План работ по техническому обслуживанию DBDM-система

Пункты проверки DTC
коды неисправности
Причина
Симптомы
Пункт для проверки
C1112
Напряжение источника датчика
① Светодиод MDPS горит
② Неисправность рулевого управления
Проверьте разъем ЭБУ MDPS.
Проверьте линию CAN и ВСЕ линии питания
Проверьте проводку (двигатель) ECU MDPS
Заменить ЭБУ MDPS.
C1604
Аппаратная ошибка ЭБУ
C1704
Неисправное реле безопасности ЭБУ
C2401
Ошибка датчика положения двигателя
Проверьте разъем двигателя MDPS.
Проверьте проводку двигателя MDPS.
Замените двигатель MDPS
Проверьте разъем ЭБУ MDPS.
Замените ЭБУ MDPS.
(Отказ элемента в ЭБУ типа MCU или датчик тока)
C2412
Короткое замыкание или обрыв цепи двигателя
C2413

Ошибка тока двигателя



Проверка разъемов и проводка
1.
Проверка разъемов и проводки
Проверьте разъемы и проводку на наличие повреждений, отодвинуты назад или плохо подключены.
(1)
Проверьте боковую проводку автомобиля.
Убедитесь, что нет коротких замыканий или замыканий открыт из-за плохого соединения, повреждения или вещества иностранный.

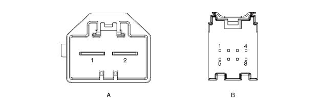
Имя соединителя
ПИН-код
Функция
MDPS_Мощность (А)
1
Батарея (+)
2
Батарея (-)
MDPS_Unit (B)
1
Зажигание
2
-
3
-
4
-
5
-
6
-
7
CAN Высокий
8
CAN Низкий

(2)
Проверьте проводку со стороны ЭБУ (трехфазный двигатель).
Убедитесь, что нет коротких замыканий или замыканий открыт из-за плохого соединения, повреждения или вещества иностранный.

ПИН-код
имя булавки
1
Мог
2
PV
3
п.в.

(3)
Проверьте разъем двигателя.
Терминальное расширение и повреждение.

Замените двигатель MDPS, если расширение клемма или повреждение.
(4)
Проверьте проводку двигателя.

Замените двигатель MDPS, если есть какие-либо проблемы или происходит повреждение.
Принципиальные диаграммы
Схематические диаграммы ТЕРМИНАЛ ФУНКЦИЯ ИМЯ РАЗЪЕМА пин код Имя Функция ЦДМ ...

Процедуры ремонта двигателя MDPS
ЗАМЕНА 1. Отсоедините отрицательный кабель аккумулятора от аккумулятора, затем подождите. не менее 30 секунд. 2. Снять панель...
Другие материалы:

Замена лезвия
Когда дворники перестали чистить адекватно, лезвия могут быть изношены или треснул и требует замены. УВЕДОМЛЕНИЕ Во избежание повреждения капот и рычаги стеклоочистителя, стеклоочиститель руки следует поднимать только в верхнее положение очистки. Всегда возвращайте рычаги стеклоочистителей в ветровое стекло ...

Дополнительные меры предосторожности
Пассажиры не должны выходить из или пересаживайтесь на другое место во время движения автомобиля. движущийся. Пассажир, который не одет ремень безопасности во время аварии или чрезвычайной ситуации стопор может быть брошен внутрь транспортного средства против других пассажиров или быть выброшенным из автомобиля. Не используйте никакие аксессуары в море...