Kia Cadenza: Головка блока цилиндров в сборе / CVVT и распределительный вал, описание и работа

Kia Cadenza YG 2016-2023 Руководство по ремонту / Механическая система двигателя / Головка цилиндра в сборе / Описание и работа CVVT и распределительного вала

Описание
Система непрерывного изменения фаз газораспределения (CVVT) опережает или задерживает фазы газораспределения впускного и выпускного клапанов в соответствии с управляющим сигналом ECM, который рассчитывается по частоте вращения двигателя и нагрузка.
При управлении CVVT происходит перекрытие или недопуск клапана, что обеспечивает лучшую экономию топлива и уменьшает выхлопные газы (NOx, HC). CVVT улучшает работу двигателя за счет снижения потерь в насосе, внутренний эффект рециркуляции отработавших газов, улучшение стабильности сгорания, улучшение объемный КПД и увеличение работы расширения.
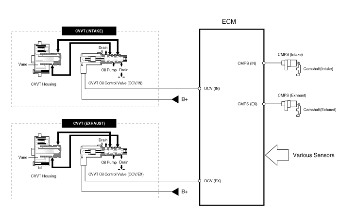
Эта система состоит из
масляный регулирующий клапан CVVT (OCV), который снабжает двигатель масло в фазовращатель или вытекает моторное масло из фазовращателя в в соответствии с управляющим сигналом ECM PWM (Pulse With Modulation),
датчик температуры масла CVVT (OTS), который измеряет температуру моторного масла,
и Cam Phaser, который изменяет фазу кулачка, используя гидравлическую силу моторного масла.
Моторное масло, вытекающее из клапана управления маслом CVVT изменяет фазу кулачка в направлении (опережение впуска/запаздывание выпуска) или направление, противоположное двигателю (замедление впуска/опережение выпуска) вращение за счет вращения ротора, соединенного с распределительным валом внутри кулачковый фазер.

Принцип работы
CVVT имеет механизм, вращающий лопасть ротора с гидравлическая сила, создаваемая моторным маслом, подаваемым на опережение или камеру замедления в соответствии с управлением масляным клапаном CVVT.

[Системный режим CVVT]

(1) Низкая скорость/низкая нагрузка
(2) Частичная нагрузка


(3) Низкая скорость/высокая нагрузка
(4) Высокая скорость/высокая нагрузка



Вождение
Состояние
Выхлопной клапан
Впускной клапан
Клапан
Сроки
Эффект
Клапан
Сроки
Эффект
(1) Низкая скорость
/Низкая нагрузка
Полностью
Продвигать
* Нижний клапан клапана
* Улучшение стабильности горения
Полностью
Замедлить
* Нижний клапан клапана
* Улучшение стабильности горения
(2) Частичная нагрузка
Замедлить
* Увеличение работы расширения
* Снижение насосных потерь
* Снижение НС
Замедлить
* Снижение насосных потерь
(3) Низкая скорость
/Высокая нагрузка
Замедлить
* Увеличение работы расширения
Продвигать
* Предотвращение обратного потока на впуске (улучшение объемной эффективности)
(4) Высокая скорость
/Высокая нагрузка
Продвигать
* Снижение насосных потерь
Замедлить
* Улучшение объемной эффективности

Компоненты и расположение компонентов CVVT и распределительного вала
Компоненты 1. Правый выпускной распределительный вал2. Правый впускной распределительный вал3. левый впускной распределительный вал 4. левый выпускной распредвал 1. Правый выхлоп CVVT2. Правый впуск CVVT3. Левый впуск CVVT4. Левый выхлоп CVVT ...
Процедуры ремонта CVVT и распределительного вала
Удаление Непрерывная регулировка фаз газораспределения (CVVT) 1. Снимите цепь привода ГРМ. (См. Система синхронизации - «Цепь синхронизации») 2. Снимите блок CVVT. • A: левый выхлоп CVVT • ...
Дополнительная информация:

Руководство по эксплуатации Kia Cadenza YG 2016-2023: Плановое ТО


Соблюдайте стандартное техническое обслуживание Расписание, если автомобиль обычно эксплуатировался, если ни одно из следующих применяются условия. Если что-либо из следующего применяются условия, следуйте Техническое обслуживание при интенсивном использовании Условия. Многократное вождение на короткие расстояния менее 5 миль (8 км) в не...

Kia Cadenza YG 2016-2023 Руководство по техническому обслуживанию: Переключатель круиз-контроля Процедуры ремонта


Удаление 1. Выключите зажигание и отсоедините отрицательный (-) кабель аккумуляторной батареи. 2. Снимите модуль подушки безопасности с рулевого колеса. (См. раздел «Удерживающая система — «Модуль подушки безопасности водителя (DAB) и часовая пружина») 3. Снимите кожух рулевого колеса (А) после ослабления винтов. 4. Удалять ...