Kia Cadenza: Принципиальные схемы системы смарт-ключа / блока смарт-ключа

Kia Cadenza YG 2016-2023 Руководство по ремонту / Электрическая система кузова / Система смарт-ключей / Принципиальные схемы блока смарт-ключей

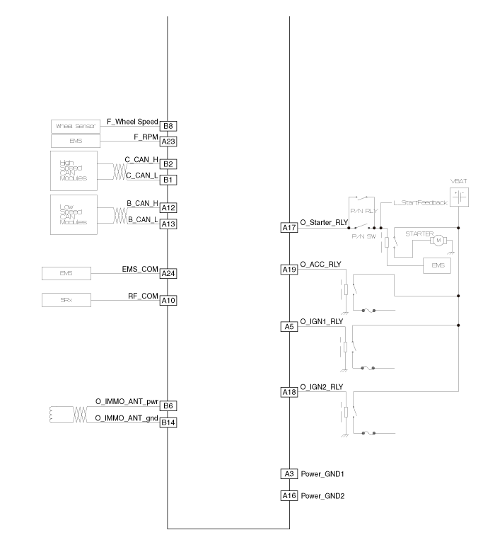
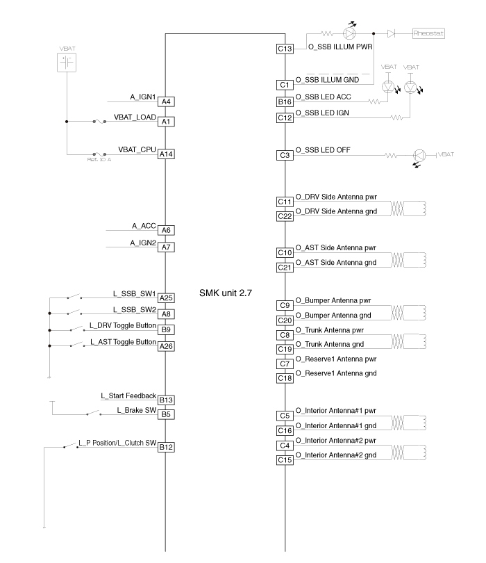
Принципиальная электрическая схема

Блок смарт-ключа Компоненты и расположение компонентов
Компонент (1) Информация о выводах разъема №Разъем A (26 контактов)Разъем B (16 контактов)Разъем C (22 контакта)1VBAT loadC CAN lowSSB подсветка заземления2-C CAN high-3Заземление питания 1-SSB LED OFF4IGN 1 ...
Блок смарт-ключа Процедуры ремонта
осмотр Блок смарт-ключа – Обратитесь к группе БЭ - проверка/самодиагностика с помощью GDS. Умный ключевой переключатель – Обратитесь к группе БЭ - проверка/самодиагностика с помощью GDS. ...
Дополнительная информация:

Kia Cadenza YG 2016-2023 Руководство по обслуживанию: Принципиальные схемы


Принципиальная электрическая схема Системный ввод/вывод SVM 1. Вход камеры ПунктХарактеристикиУгол обзора объектива190 градусовУгол обзораГоризонтальный186 градусовВертикальный135 градусовФункцияПредоставляет исходное изображение широкоугольного изображения (без дополнительной функции)Местоположение приложенияТа же камера применяется к объективу ...

Kia Cadenza YG 2016-2023 Руководство по техническому обслуживанию: Описание и работа датчика выходной скорости


Описание Датчик выходной скорости является жизненно важным устройством, которое измеряет скорость вращения вала турбины и вторичного вала коробки передач, и передает показания в модуль управления коробкой передач (TCM). датчик предоставляет важные входные данные, которые используются в управлении с обратной связью, фиксатор демпфера...