Kia Forte: Система сцепления / Кожух и диск сцепления

Киа Kia Forte 2019-2023 (БД) Руководство по ремонту / Система сцепления / Крышка сцепления и диск

Компоненты и расположение компонентов
Компоненты
[Бензин 1.6 / Дизель 1.6 / Бензин 1,6 Т-ГДИ]

1. Механическая коробка передач в сборе
2. Крышка сцепления в сборе
3. Диск сцепления в сборе

[Бензин 2.0]

1. Механическая коробка передач в сборе
2. Вилка выключения сцепления
3. Сборка кожуха сцепления
4. Диск сцепления в сборе
5. Подшипник выключения сцепления

Процедуры ремонта
Удаление
1.

Снимите механическую коробку передач в сборе.

G 1,6 MPI (см. Система механической трансмиссии — «Механическая трансмиссия»)

G 2.0 MPI (см. Система механической коробки передач — «Механическая коробка передач»)

D 1.6 TCI-NEW-U (см. Система механической коробки передач — «Механическая коробка передач»)

G 1.6 T-GDI GAMMA (см. Система механической коробки передач — «Механическая коробка передач»)

2.

Снимите крышку сцепления в сборе после ослабления болтов.

Будьте осторожны, чтобы не погнуть и не перекрутить болты. Ослабьте болты в диагональных направлениях.

[Бензин 1.6]

[Бензин 2.0 / Дизель 1.6 / Бензин 1.6 Т-ГДИ]

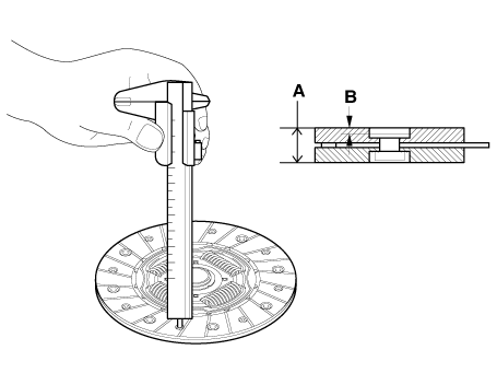
осмотр
1.

Проверьте износ диафрагменной пружины, которая находится в контакте с выключателем сцепления. несущий.

2.

Проверьте кожух сцепления и поверхность диска на предмет износа или трещин.

3.

Проверьте поверхность диска сцепления на предмет проскальзывания или масляных пятен.

4.

Измерьте глубину от поверхности накладки сцепления до заклепки. Если измерено значение меньше указанного ниже, замените его.

Стандартное значение

Толщина диска сцепления (A)[в свободном состоянии]: 8,3 ± 0,3 мм (0,3268 ± 0,0118 дюйма)

Глубина заклепки диска сцепления (B): 1,1 мм (0,0433 дюйма)

Монтаж

При повторной установке использованной крышки крышка должна быть установлена ​​с его диск сцепления в комплекте.

1.

Нанесите смазку на шлицевую часть диска и шлицевую часть первичного вала коробки передач. как требуется.

Рекомендуемая смазка: CASMOLY L9508.

Количество: 0,1 - 0,3 г

Когда не применяется: Чрезмерный износ шлицев и плохая может произойти срабатывание сцепления.

При чрезмерном нанесении: Смазка может растечься центробежная сила, которая может загрязнить диск сцепления. Это может привести к потере силы трения и проскальзыванию.

2.

Установите диск сцепления и крышку с помощью специального инструмента (09411-1P000).

Возможные проблемы при установке диска наоборот направление.

Ошибка переключения коробки передач или странный звук могут возникать из-за к разъединению сцепления.

Бензин 1.6: Поверхность с маркировкой «T/M SIDE» должна быть обращена коробка передач.

Бензин 2.0 / Дизель 1.6 / Бензин 1.6 T-GDI: Поверхность с маркировкой «СТОРОНА МАХОВИКА» должна быть обращена к маховику.

3.

Установите болты крышки сцепления.

Момент затяжки

Бензин 1.6 : 24,5 - 35,3 Н·м (2,5 - 3,6 кгс·м, 18,1 - 26,0 фунт·фут)

Бензин 2.0 / Дизель 1.6 / Бензин 1.6 T-GDI: 11,8 - 14,7 Н·м (1,2–1,5 кгс·м, , 8,7–10,8 фунт·фут)

Установите все компоненты с указанным моментом затяжки. В противном случае у коробки передач с крутящим моментом сцепления могут быть проблемы или крепежный болт может ослабнуть.

При установке крышки сцепления в сборе проверьте порядок крепления для каждого количества болтов и затяните болты свободно. Затем затяните болты до их надлежащей затяжки. крутящий момент. Это может предотвратить скручивание и вибрацию крышки, и подъем прижимной пластины.

Порядок крепления для каждого количества (6 или 9) болтов для установка крышки сцепления в сборе

4.

Снимите специальный инструмент направляющей диска сцепления (09411-1P000).

5.

Установите коробку передач в сборе.

G 1,6 MPI (см. Система механической трансмиссии — «Механическая трансмиссия»)

G 2.0 MPI (см. Система механической коробки передач — «Механическая коробка передач»)

D 1.6 TCI-NEW-U (см. Система механической коробки передач — «Механическая коробка передач»)

G 1.6 T-GDI GAMMA (см. Система механической коробки передач — «Механическая коробка передач»)

Система сцепления
Сервисные данные Сервисные данные Предметы Технические характеристики Метод работы сцепления Гидравлический тип Крышка сцепления ...
Выключатель замка зажигания
Технические характеристики Технические характеристики Элемент Технические характеристики Рабочее напряжение 12,5 В постоянного тока ± 0,3 В Рабочая сила В ...
Дополнительная информация:

Kia Forte 2019-2023 (BD) Руководство по обслуживанию: Идентификационные номера


Общая информация Идентификационные номера Идентификационный номер Описание Идентификационный номер транспортного средства 1. Мировой идентификатор производителя (WMI) - KNA: легковой автомобиль, MPV (многоцелевой пассажирский автомобиль)/внедорожник (спортивный Внедорожник)/RV(Рекреационный ...

Kia Forte 2019-2023 (BD) Руководство по эксплуатации: Ремень безопасности - 3-х точечная система водителя с аварийным фиксатором натяжителя


Чтобы пристегнуть ремень безопасности: Чтобы пристегнуть ремень безопасности, вытяните его из ретрактор и вставьте металлический язычок (1) в пряжку (2). Будет слышимый «щелчок» при блокировке вкладки в пряжку. Ремень безопасности автоматически приспосабливается к правильная длина только после круга ремень пор ...