Kia Forte: Заднее сиденье / Чехол на подушку заднего сиденья

Киа Kia Forte 2019-2023 (БД) Руководство по ремонту / Кузов (внутри и снаружи) / Заднее сидение / Чехол на подушку заднего сиденья

Компоненты и расположение компонентов
Расположение компонента

1. Чехол подушки заднего сиденья


Процедуры ремонта
Замена

Наденьте перчатки, чтобы не поранить руки.

При снятии с помощью плоской отвертки или съемника оберните защитным заклейте инструмент лентой, чтобы предотвратить повреждение компонентов.

При снятии элементов внутренней отделки используйте съемник пластиковой панели. инструмент, чтобы не повредить поверхность.

Будьте осторожны, чтобы не погнуть и не поцарапать обивку и панели.

1.

Снимите подушку сиденья в сборе.

(См. Заднее сиденье — «Заднее сиденье в сборе»)

2.

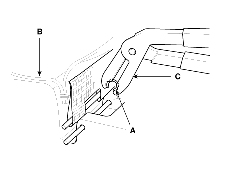
Удалив застежку-липучку (A) и зажимы-кольца (B) внутри обивку подушки заднего сиденья, снимите обивку подушки сиденья (С).

[Лицевая сторона]

[Задняя сторона]

3.

Для установки выполните процедуру удаления в обратном порядке.

Убедитесь, что разъемы подключены полностью.

Замените все поврежденные зажимы (или фиксаторы штифтового типа).

Во избежание складок убедитесь, что крышка (B) равномерно натянуты перед подключением борова - кольцевые зажимы (А).

Замените хомуты на новые, используя специальные инструмент (С) (09880 - 4F00009880 - 4F000).

Крышка спинки заднего сиденья
Компоненты и расположение компонентов Расположение компонента 1. Обивка спинки заднего сиденья [правая] 2. Обивка спинки заднего сиденья [левая] Процедуры ремонта Заменять ...
Задний задний подлокотник
Процедуры ремонта Замена [Тип спинки скамейки] • При снятии плоской отверткой...
Дополнительная информация:

Kia Forte 2019-2023 (BD) Руководство по ремонту: ТНВД


Процедуры ремонта Снятие и установка При снятии топливного насоса высокого давления, топливопровода высокого давления, трубки и форсунки, утечка топлива под высоким давлением может привести к травме. Для этого ре...

Руководство по эксплуатации Kia Forte 2019-2023 (BD): Аварийный запуск


Подключайте кабели в порядке номеров и отсоединить в обратном порядке. Быстрый старт Пуск от внешнего источника может быть опасен, если сделано неправильно. Поэтому во избежание навредить себе или нанести ущерб своему автомобиль или аккумулятор, следуйте этим прыжкам пусковые процедуры. Если есть сомнения, мы настоятельно рекомендую т...