Kia Optima Hybrid: общая информация / процедуры отключения при высоком напряжении

Процедуры отключения при высоком напряжении
Обязательно прочтите и соблюдайте «Общую информацию по технике безопасности». и осторожность» перед выполнением любых работ, связанных с высоким напряжением. система. Несоблюдение инструкций по технике безопасности может привести к серьезным электрические травмы.
Компоненты высокого напряжения: блок аккумуляторной батареи высокого напряжения, Блок реле питания (PRA), ЭБУ BMS, гибридный блок управления питанием (HPCU), Гибридный приводной двигатель, HSG, электрический компрессор кондиционера, низковольтный преобразователь постоянного тока в постоянный (LDC), силовой кабель, электрический компрессор и т. д.
1.
Выключите зажигание и отсоедините отрицательную (-) клемму вспомогательной аккумуляторной батареи 12 В.
2.
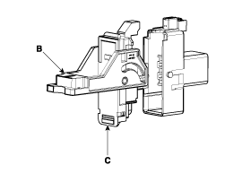
Снимите предохранительную заглушку.
(1)
Снимите крышку предохранительной заглушки (А).

(2)
Отстегните крючок (А) и снимите предохранительную заглушку (С), потянув за рычаг (В) в направлении стрелки.

3.
Подождите более 5 минут, чтобы конденсатор в системе высокого напряжения мог полностью разрядиться.
4.
Измерьте напряжение между клеммами инвертора, чтобы убедиться, что конденсатор в инверторе полностью разряжен.
(1)
Снимите воздушный фильтр в сборе и воздуховод (см. Механическая система двигателя — «Воздушный фильтр»).
(2)
Отсоедините кабель питания инвертора (А).

Отсоедините кабель питания инвертора, как описано ниже.

(3)
Измерьте напряжение между клеммой инвертора (+) и клеммой инвертора (-).

Менее 30 В: Цепь высокого напряжения правильно закрыта
Более 30 В: Неисправность в цепи высокого напряжения

Если измеренное напряжение превышает 30 В, несмотря на то, что предохранительная вилка был удален должным образом, может быть серьезная проблема в высоком цепь напряжения. В этом случае проверьте DTC и никогда не касайтесь верхнего система напряжения.
Общие сведения о безопасности и предостережения

Меры предосторожности     Поскольку гибридные автомобили содержат аккумуляторную батарею высокого напряжения, неправильное обращение с высоковольтной системой или транспортными средствами может привести к серьезным авариям, таким как электрическая ...

Общая информация

Идентификационный номер Расположение Идентификационный номер Описание Идентификационный номер транспортного средства 1. Мировой идентификатор производителя (WMI) - KNA: легковой автомобиль, MPV (многоцелевой пассажирский автомобиль)/внедорожник (спортивный ...

Дополнительная информация:

Kia Optima Hybrid (TF HEV) 2016-2020 Руководство по техническому обслуживанию: Ремонт подогревателя ATF


Снятие 1. Снимите нижнюю крышку (A). Момент затяжки: 7,8 ~ 11,8 Н·м (0,8 ~ 1,2 кгс·м, 5,8 ~ 8,7 фунт-фут) 2. Слейте охлаждающую жидкость из системы охлаждения двигателя и коробки передач. (См. Механическая система двигателя — «Охлаждающая жидкость») 3. Снимите сливную пробку (A) и установите ее на место после полного слива ATF. ...

Kia Optima Hybrid (TF HEV) 2016-2020 Руководство по техническому обслуживанию: Порядок ремонта передней стойки в сборе


Замена 1. Снимите переднее колесо и шину. Момент затяжки: 88,3 ~ 107,9 Н·м (9,0 ~ 11,0 кгс·м, 65,1 ~ 79,6 фунт-фут) Будьте осторожны, чтобы не повредить болты ступицы при снятии переднего колеса и шины. 2. Снимите датчик скорости вращения колеса (В) с передней стойки в сборе, ослабив крепление...