Kia Stonic: система зарядки / DC/DC преобразователь

Руководство по ремонту Kia Stonic (YB) / электрика двигателя / Система зарядки / DC/DC преобразователь

описание и работа
Описание

Из-за значительно более частых процессов запуска часто возникающие электрической нагрузки к перепадам напряжения в сети автомобиля.

Для подачи питания на определенные электронные компоненты, чувствительные к напряжению. Для стабилизации используется DC/DC преобразователь вместе с функцией ISG.

Преобразователь постоянного тока в постоянный имеет реле с напряжением, которое процесс запуска остается постоянным.

Преобразователь постоянного тока в постоянный находится за перчаточным ящиком.

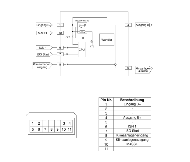
Электроника выбирает контрольные кабели для входного напряжения и реле стартера, подается ли питание на выход через байпас или DC/DC преобразователи.

В режиме байпаса напряжение бортовой сети не подается преобразователем DC/DC, но передается непосредственно на выходы. В фазе усилителя напряжение автомобиля скорректировано.

ПРИНЦИП РАБОТЫ

В режиме ISG, если питание аудиосистемы пропало из-за Падение напряжения во время «автоматического запуска» или «холостого хода». Запуск" прерывается, необходимо заменить преобразователь постоянного тока в постоянный.

Компоненты и обзор компонентов
ОБЗОР КОМПОНЕНТОВ

1. Преобразователь постоянного тока в постоянный [левый привод]
2. Преобразователь постоянного тока в постоянный [правый руль]

Схематические изображения
принципиальная электрическая схема

процедуры ремонта
расширение
1.

Отсоедините кабель заземления аккумуляторной батареи.

2.

Снимите корпус перчаточного ящика.

(См. Кузов — «Корпус перчаточного ящика»)

3.

Отсоедините разъем преобразователя постоянного тока в постоянный (А).

4.

Отверните гайки и снимите преобразователь постоянного тока в постоянный (В).

Гайка крепления DC/DC преобразователя:

4,0~6,0 Нм (0,4~0,6 кгм)

(левый руль)

(правый руль)

монтаж
1.

Установка производится в порядке, обратном снятию.

После переподключения аккумулятора минус работает Функция ISG возобновляется только после стабилизации системы. имеет (ок. 4 часа).

Если минусовая клемма (-) аккумуляторной батареи во время ремонтных работ отключен в автомобиле, оснащенном функцией ISG датчик аккумулятора после завершения ремонтных работ быть перекалиброваны.

(См. Система зарядки — «Датчик аккумулятора»)

генератор переменного тока
Спецификации СПЕЦИФИКАЦИЯ ▷ 13,5 В, 130 А [только ISG] позиция СПЕЦИФИКАЦИЯ номинальное напряжение 13,5 В, 130 А скорость я...
батарея
Спецификации СПЕЦИФИКАЦИЯ ▷ АГМ60Л-ДИН позиция СПЕЦИФИКАЦИЯ Емкость (20 ч / 5 ч) (Ач) 60/48 Холодный пуск А...
Дополнительная информация:

Kia Stonic (YB) Руководство по эксплуатации: Замена передних указателей поворота источника света (фары Введите)


1. Откройте капот. 2. Снимите держатель лампы. от фары в сборе, сняв патрон лампы повернуть налево, пока Выступы держателя лампы с пазы фары в сборе соответствовать. 3. Возьмите лампочку...