Kia Stonic: Antriebswellen und Achsen / Vorderradnabe / Achsschenkel

Ремонт Kia Stonic (YB) / Антрибвеллен и Ахсен / Фордерраднабе / Ахсшенкель

Bauteile und bauteile-Übersicht
BAUTEILE-ÜBERSICHT

1. Тормозной диск
2. Штаубшютц
3. Акшенкель

Репаратурверфарен
Аусбау
1.

Radmuttern, Vorderrad und -reifen von vorderer Radnabe abnehmen.

Anzugsdrehmoment.

107,9 ~ 127,5 Нм (11,0 ~ 13,0 кгм)

Hierbei darauf achten, dass die Radmuttern beim Abnehmen von Vorderrad und -reifen nicht beschädigt werden.

2.

Durch Hämmern auf einen Meißel die Verstemmung der Antriebswellen-Sicherungsmutter лёсен.

Водопад айн Шраубенгевинде (A) на Энде дер Муттер форханден ист, die Verstemmung mit einem Meißel lösen und dann die Mutter lösen, um eine Beschädigung des Antriebswellen-Schraubengewindes zu verhindern.

3.

Verstemmmutter (A) von der Vorderachse lösen.

Anzugsdrehmoment.

274,6 ~ 294,2 Нм (28,0 ~ 30,0 кгм)

Sicherungsmutter der Antriebswelle durch neue Mutter эрзецен. Бейм Эрсетцен дер Sicherungsmutter der Antriebswelle eine Mutter mit Schraubengewinde (A) am Ende verwenden.

Die Antriebswellen-Sicherungsnabenmutter auf das vorgegebene Antriebsdrehmoment festziehen und mit Hammer und Meißel верстеммены.

Falls zwei Keilbahnen vorhanden sind, den Vorgang an beiden Bahnen durchführen.

Verstemmtiefe (A): 1,5 мм

4.

Befestigungsschrauben des Bremssattels ausschrauben, dann den Bremssattel (A) mit Draht aufhängen.

Anzugsdrehmoment.

78,4 ~ 98,0 Нм (8,0 ~ 10,0 кгм)

5.

Schraube (A) der Bremssattelschlauch-Halterung и Schraube (B) der Raddrehzahlsensorhalterung аусшраубен.

Anzugsdrehmoment.

А: 8,8 ~ 13,7 Нм (0,9 ~ 1,4 кгм)

B : 7,8 ~ 11,8 Нм (0,8 ~ 1,2 кгм)

6.

Spurstangenkugelgelenk mit Spezialwerkzeug (09568-34000) vom Achsschenkel треннен.

(1)

Шина (А) entfernen.

(2)

Kronenmutter (B) entfernen.

(3)

Spezialwerkzeug (09568-34000) verwenden.

Anzugsdrehmoment.

15,7 - 33,3 Нм (2,3 - 3,4 кгм)

7.

Schraube und Mutter (A) des unteren Tragarms entfernen.

Anzugsdrehmoment.

58,8 ~ 70,6 Нм (6,0 ~ 7,2 кгм)

8.

Vorderen unteren Tragarm mit Spezialwerkzeug (0K545-A9100) vom Achsschenkel аббауэн.

(1)

Nach dem Entfernen der Schrauben vom vorderen Achsschenkel, умереть Hilfskörperschraube (A) anbringen und festziehen.

(2)

Hilfskörper (A) zwischen vorderem Achsschenkel und Hilfskörperschraube анбринген.

(3)

Schraube (B) des Hilfskörpers anziehen, um den Spalt am vorderen Achsschenkel zu verbreitern.

(4)

Sicherheitsdraht (A) einbauen.

Einen Sicherungsdraht am vorderen Federbein anbringen, um ein Herunterfallen des Spezialwerkzeugs und somit Verletzungen der Techniker zu vermeiden.

(5)

Hauptkörper (A) zwischen vorderem Federbein und unterem Tragarm Эйнбауэн.

(6)

Um ein Ablösen des Hauptkörpers zu verhindern, eine Befestigungsklemme (A) neben dem Hauptkörper anbringen.

(7)

Nach dem anbringen des Körpers (A) den Griff (B) im Uhrzeigersinn drehen, bis die Klemme am unteren Arm befestigt ist.

(8)

Die Hauptkörperschraube (A) langsam anziehen und den unteren Tragarm vom vorderen Achsschenkel entfernen.

9.

Schrauben lösen und Federbeineinheit (A) aus dem Achsschenkel ausbauen.

Anzugsdrehmoment.

98,0 ~ 117,6 Нм (10,0 ~ 12,0 кгм)

ПРЮФУНГ
1.

Nabe auf Rissbildung und Verzahnungen auf Verschleiß prüfen.

2.

Bremsscheibe auf Riefen und Beschädigung prüfen.

3.

Achsschenkel auf Rissbildung prüfen

4.

Lager auf Rissbildung oder Beschädigung prüfen.

ЦЕРЛЕГАНГ
1.

Sprengring (A) entfernen.

2.

Nabe vom Achsschenkel abbauen.

(1)

Vorderen Achsschenkel (A) auf eine Presse montieren.

(2)

Einen Geeigneten Adapter (B) auf die Nabenwelle legen.

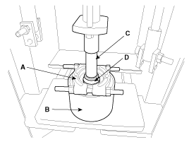
3.

Lagerinnenlaufring von der Nabe abbauen.

(1)

Ausbauwerkzeug (A) für den Nabenlage-Innenlaufring an der Nabe анбринген.

(2)

Nabeneinheit und das Ausbauwerkzeug (A) einem geeigneten Adapter (Б) фиксирен.

(3)

Адаптер Geeigneten (C) на монтировке Nabenwelle.

(4)

Nabenlager-Innenlaufring (D) mit einer Presse von der Nabeneinheit демонтирен.

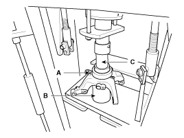
4.

Lageraußenring vom Achsschenkel abbauen.

(1)

Achsschenkeleinheit (A) и фиксированный адаптер (B).

(2)

Geeigneten Adapter (C) am Nabenlager-Außenlaufring montieren.

(3)

Nabenlager-Außenlaufring mit einer Presse von der Achsschenkeleinheit демонтирен.

5.

Nabenlager durch ein neues ersetzen.

Зусамменбау
1.

Nabe am Achsschenkel anbauen.

(1)

Achsschenkeleinheit (A) auf einer Presse fixieren.

(2)

Neues Nabenlager an der Achsschenkeleinheit (A) montieren.

(3)

Geeigneten Adapter (B) am Nabenlager montieren.

(4)

Nabenlager mit einer Presse an der Achsschenkeleinheit montieren.

Nicht gegen den Radlagerinnenlaufring pressen, damit das Lager nicht beschädigt wird.

Für den Zusammenbau immer nur neue Lager verwenden.

2.

Nabe am Achsschenkel anbauen.

(1)

Nabeneinheit (A) и фиксированный адаптер.

(2)

Achsschenkeleinheit (A) an der Nabeneinheit (B) montieren.

(3)

Geeigneten Adapter (C) am Nabenlager montieren.

(4)

Nabeneinheit (A) mit einer Presse an der Achsschenkeleinheit (Б) Монтьерен.

Nicht gegen den Radlagerinnenlaufring pressen, damit das Lager nicht beschädigt wird.

Bei Ausstattung mit ABS/VDC die Einbaurichtung des Nabenlagers пляжный (Wird das Nabenlager entgegengesetzt eingebaut, leuchtet die ABS/VDC-Warnleuchte)

3.

Шпренгринг (А) анбринген.

Кугельгеленк-Фальтенбалг
Bauteile und bauteile-Übersicht BAUTEILE-ÜBERSICHT (РЕХТС) 1. Кугельгеленк 2. Клип 3. Фальтенбалгшелле (Кугельгеленк) 4. БЖ-Фальтенбальг 5. ...
Хинтерраднабе / Трегер
Bauteile und bauteile-Übersicht BAUTEILE-ÜBERSICHT 1. Дрехстаб 2. Хинтере Федер 3. Внутренние тормоза Репаратурверфарен Аусбау ...
Дополнительная информация:

Kia Stonic (YB) Reparaturanleitung: Innenraumleuchte


Репаратурверфарен Аусбау • Handschuhe tragen, um Handverletzungen zu vermeiden. • Zum Ausbau Schraubendreher oder Abzieher mit Klebeband umwickeln ...