Kia Cee'd: Головка блока цилиндров в сборе / CVVT и распределительный вал Описание и работа

Описание
Система непрерывного изменения фаз газораспределения (CVVT) опережает или задерживает клапан. синхронизация впускного и выпускного клапана в соответствии с управляющим сигналом ECM который рассчитывается по частоте вращения двигателя и нагрузке.
При управлении CVVT происходит перекрытие или недопуск клапана, что улучшает экономия топлива и снижение выхлопных газов (NOx, HC) и улучшение характеристик двигателя за счет снижения насосных потерь, внутреннего эффекта рециркуляции отработавших газов, улучшения сгорания стабильность, улучшение объемного КПД и увеличение работы расширения.
Эта система состоит из
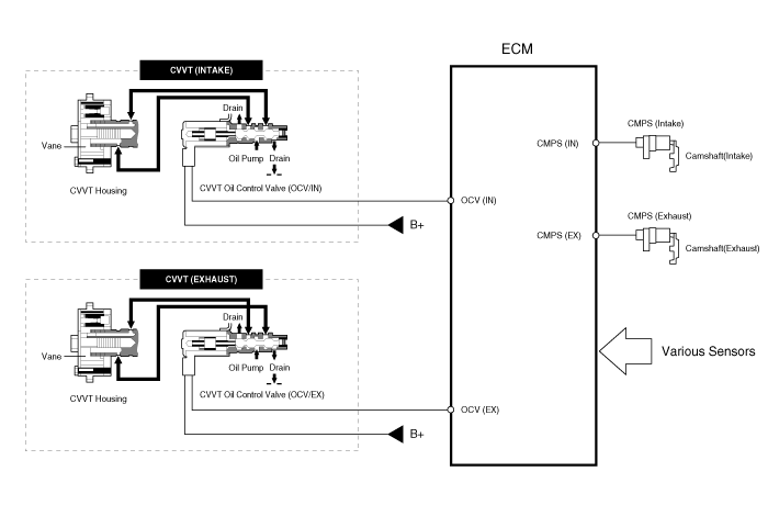
Клапан управления маслом CVVT (OCV), который подает моторное масло в кулачковый фазовращатель или вытекает моторное масло из кулачкового фазовращателя в соответствии с управляющим сигналом ECM PWM (Pulse With Modulation),
датчик температуры масла CVVT (OTS), который измеряет моторное масло температура,
и Cam Phaser, который изменяет фазу кулачка с помощью гидравлического сила моторного масла.
Моторное масло, вытекающее из клапана управления маслом CVVT, изменяет фазу кулачка. в направлении (опережение впуска/замедление выпуска) или в противоположном направлении (впуск Retard/Exhaust Advance) вращения двигателя за счет вращения ротора, подключенного с распределительным валом внутри кулачкового фазовращателя.

Принцип работы
CVVT имеет механизм, вращающий лопасть ротора с создаваемой гидравлической силой. моторным маслом, подаваемым в камеру опережения или замедления в соответствии с управление масляным клапаном CVVT.

[Системный режим CVVT]

(1) Низкая скорость/низкая нагрузка
(2) Частичная нагрузка


(3) Низкая скорость/высокая нагрузка
(4) Высокая скорость/высокая нагрузка



Вождение
Состояние
Выхлопной клапан
Впускной клапан
Клапан
Сроки
Эффект
Клапан
Сроки
Эффект
(1) Низкая скорость
/Низкая нагрузка
Полностью
Продвигать
* Нижний клапан клапана
* Улучшение стабильности горения
Полностью
Замедлить
* Нижний клапан клапана
* Улучшение стабильности горения
(2) Частичная нагрузка
Замедлить
* Увеличение работы расширения
* Снижение насосных потерь
* Снижение НС
Замедлить
* Снижение насосных потерь
(3) Низкая скорость
/Высокая нагрузка
Замедлить
* Увеличение работы расширения
Продвигать
* Предотвращение обратного потока на впуске (улучшение объемной эффективности)
(4) Высокая скорость
/Высокая нагрузка
Продвигать
* Снижение насосных потерь
Замедлить
* Улучшение объемной эффективности

CVVT и распределительный вал Компоненты и расположение компонентов
Компоненты 1. Выпускной вариатор 2. Впускной вариатор ...
Процедуры ремонта CVVT и распределительного вала
Удаление 1. Снимите крышку головки блока цилиндров. (См. раздел Головка цилиндра в сборе — «Крышка головки цилиндра») 2. Повернуть кран...
Дополнительная информация:

Руководство по обслуживанию Kia Cee'd JD: Процедуры ремонта привода впуска
осмотр 1. Выключите зажигание. 2. Отсоедините разъем привода впуска. 3. Убедитесь, что привод впуска переходит в положение подачи свежего воздуха, когда подключение 12В к клемме 4 и заземлению ...

Руководство по обслуживанию Kia Cee'd JD: общая информация
Идентификационный номер Идентификационный номер Описание Идентификационный номер транспортного средства 1. Мировой идентификатор производителя (WMI) - KNA: легковой автомобиль, MPV (многоцелевой пассажирский автомобиль)/внедорожник (спортивный Внедорожник) / RV (автомобиль для отдыха ...

avtotema.org