Kia Optima: Карданный вал в сборе / Шарнир в сборе (со стороны колеса)

Руководство по ремонту и обслуживанию Kia Optima DL3 2019-2023 гг. / Карданный вал и ось / Сборка карданного вала / Соединение в сборе (со стороны колеса)

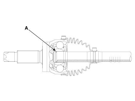
Компоненты и расположение компонентов
Компоненты

1. Узел бокового шарнира колеса
2. Стопорное кольцо со стороны колеса
3. Лента багажника со стороны колеса
4. Добыча со стороны колеса
5. Вал
6. Боковая лента багажника коробки передач
7. Боковой чехол коробки передач
8. Паук в сборе
9. Стопорное кольцо
10. Картер бокового шарнира коробки передач
11. Стопорное кольцо

Процедуры ремонта
Удаление
1.

Снимите передний приводной вал.

(См. узел приводного вала — «Передний приводной вал»)

2.

Используйте отвертку (-), чтобы снять ленту багажника малого диаметра (A).

3.

Используя пластиковый молоток, опустите верхнюю часть шлица соединения 2–3 раза.

Будьте осторожны, чтобы не повредить детали при использовании пластикового молотка.

Удар дает расстояние между стопорным кольцом (A), закрепленным на внутри.

4.

Затяните SST (0K495-C5200) на шлице приводного вала (A).

5.

Закрепив карданный вал в тисках, снимите узел шарнира (А). с помощью SST (09526-11000).

Сильно ударьте по скользящему молотку в направлении стрелку и немедленно удалите его.

Если вы не можете удалить его один или два раза, это невозможно снять, так как стопорное кольцо попало внутрь.

(Замените приводной вал в сборе, если его невозможно снять.)

6.

Используйте отвертку (-) для съемника, чтобы снять ленту багажника большого диаметра. (А).

7.

Снимите пыльник шарнира (А) и узел шарнира (В).

8.

Снимите стопорное кольцо (А) с приводного вала.

осмотр
1.

Проверьте шлицы (А) на наличие повреждений/износа/трещин.

2.

Проверьте багажник на наличие воды или посторонних предметов.

3.

Проверьте шарнир в сборе на наличие повреждений/износа/трещин и ржавчины.

4.

Замените все неисправные детали.

Монтаж

При сборке будьте осторожны, не допускайте попадания пыли и посторонних веществ входить.

Шарниры карданного вала требуют специальной смазки, поэтому не добавляйте никакой другой смазки. тип смазки.

Загрузочные полосы должны использовать новый.

1.

Он наносит предписанную смазку на корпус шарнира и пыльник.

Греция использует смазку, содержащуюся в соединительных комплектах / Сапожные комплекты.

Шарниры приводного вала требуют специальной смазки, поэтому не добавляйте любая другая смазка.

Определенное количество смазки (2-30%) наносится в ботинок.

2.

Установите хомут (А) и чехол (В) со стороны колеса на карданный вал.

3.

Вставьте стопорное кольцо (А) в соединение.

4.

Вставьте ботинок в соединение.

5.

Используя пластиковый молоток, опустите верхнюю часть шлица соединения 2–3 раза.

Будьте осторожны, чтобы не повредить детали при использовании пластикового молотка.

После установки шарнир в сборе и стопорное кольцо (А) убедитесь, что он правильно установлен.

Должно быть ощущение сдавливания, когда сустав сборка толкается и тянется.

6.

Установите расстояние между карданными валами на стандартное значение и установите лента багажника для регулирования воздуха в боковом багажнике колеса.

Двигатель
Расстояние (L) мм (дюймы)
левая сторона
Правая сторона
ТЕТА Ⅲ 2,5 GDI
538,9 (21,2165)
835,5 (32,8937)
НУ 2.0 МПИ
551 (21,6929)
824,3 (32,4527)

7.

Установите хомут пыльника малого диаметра с помощью SST (0K495-C5000).

Зазор (A): 2,0 мм (0,0787 дюйма) или менее

8.

Установите хомут багажника большого диаметра с помощью SST (0K495-C5000).

Зазор (A): 2,0 мм (0,0787 дюйма) или менее

Прикрепляя ленту малого диаметра, закрепите ее на направление омега-формы защитного бандажа колесного шарнира.

9.

Установите передний приводной вал.

(См. узел приводного вала — «Передний приводной вал»)

10.

Проверьте переднее выравнивание.

(См. Система подвески — «Выравнивание»)

Шарнир в сборе (со стороны коробки передач)
Компоненты и расположение компонентов Компоненты 1. Узел бокового шарнира колеса 2. Стопорное кольцо со стороны колеса 3. Лента багажника со стороны колеса 4. Боковой чехол колеса 5. Вал ...
Подвесная система
Сервисные данные Сервисные данные Передняя подвеска Элемент Спецификация Тип подвески Макферсон Струт Амортизатор т...
Дополнительная информация:

Руководство по ремонту и обслуживанию Kia Optima DL3 2019-2023: Топливопровод


Компоненты и расположение компонентов Компонент 1. Заливная горловина в сборе 2. Топливный бак в сборе 3. Топливопровод Процедуры ремонта Удаление 1. Сбросьте остаточное давление в топливопроводе. (См. Система подачи топлива - "...

Руководство по ремонту и обслуживанию Kia Optima DL3 2019-2023: Обшивка передней стойки


Компоненты и расположение компонентов Расположение компонента 1. Облицовка передней стойки Процедуры ремонта Замена • Наденьте перчатки, чтобы не поранить руки...