Kia Optima: блок цилиндров/поршень и шатун

Руководство по ремонту и обслуживанию Kia Optima DL3 2019-2023 гг. / Механическая система двигателя / Цилиндрический блок / Поршень и шатун

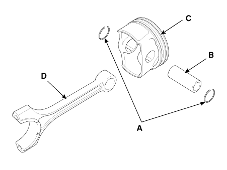
Компоненты и расположение компонентов
Компоненты

1. Поршневое кольцо
2. Стопорное кольцо
3. Поршневой палец
4. Поршень
5. Шатун
6. Верхний подшипник шатуна
7. Нижний подшипник шатуна
8. Крышка шатунного подшипника

Процедуры ремонта
Разборка

Для этой процедуры требуется снятие двигателя.

Используйте накладки на крылья, чтобы не повредить окрашенные поверхности.

Во избежание повреждения головки блока цилиндров подождите, пока охлаждающая жидкость двигателя температура падает ниже нормальной температуры перед его удалением.

При обращении с металлической прокладкой будьте осторожны, чтобы не согнуть прокладку. или повредить контактную поверхность прокладки.

Во избежание повреждения осторожно отсоединяйте разъемы проводки, пока удерживая соединительную часть.

Пометьте все провода и шланги, чтобы избежать неправильного соединения.

Поверните шкив коленчатого вала так, чтобы поршень №1 находился в ВМТ. (Верхняя мертвая точка).

1.

Снимите двигатель в сборе с автомобиля.

(См. Двигатель и трансмиссия в сборе — «Двигатель и трансмиссия в сборе»)

2.

Снимите коробку передач в сборе с двигателя в сборе.

(См. Система автоматической коробки передач — «Автоматическая коробка передач»)

3.

Снимите приводную пластину.

(См. Блок цилиндров — «Приводной диск»)

4.

Снимите задний сальник.

(См. Блок цилиндров — «Заднее масляное уплотнение»)

5.

Установите двигатель на стенд двигателя для разборки.

6.

Снимите цепь привода ГРМ.

(См. Система синхронизации - «Цепь синхронизации»)

7.

Снимите водяной насос в сборе.

(См. Система охлаждения — «Водяной насос»)

8.

Снимите патрубок подачи воды и узел термостата.

(См. Система охлаждения - «Термостат»)

9.

Снимите впускной коллектор.

(См. Система впуска и выпуска — «Впускной коллектор»)

10.

Снимите компрессор кондиционера.

(См. раздел Отопление, вентиляция и кондиционирование воздуха — «Компрессор»)

11.

Снимите выпускной коллектор.

(См. Система впуска и выпуска — «Выпускной коллектор»)

12.

Снимите головку блока цилиндров в сборе.

(См. раздел Головка цилиндра в сборе — «Головка цилиндра»)

13.

Снимите масляный фильтр.

(См. Система смазки — «Моторное масло»)

14.

Снимите масляный экран.

(См. Система смазки — «Масляный поддон»)

15.

Проверьте боковой зазор шатуна.

16.

Проверьте масляный зазор в крышке шатунного подшипника.

17.

Снимите поршень и шатун в сборе.

(1)

С помощью развертки для гребня удалите весь углерод с верхней части цилиндр.

(2)

Снимите крышки шатунных подшипников (А).

Пометьте шатун и крышки, чтобы их можно было собрать в исходное положение и направление.

(3)

Протолкните поршень и шатун в сборе с верхним подшипником. через верхнюю часть блока цилиндров.

Держите шатун и крышку вместе с подшипниками. собраны вместе.

Расположите поршень и шатун в сборе в правильном порядке.

Пометьте поршень и шатун в сборе чтобы можно было собрать в исходное положение.

18.

Проверьте посадку между поршнем и поршневым пальцем.

Попробуйте подвигать поршень вперед-назад на поршневом пальце.

Если чувствуется какое-либо движение, замените поршень и палец в комплекте.

19.

Снимите поршневые кольца.

(1)

С помощью расширителя поршневых колец снимите 2 компрессионных кольца.

(2)

Снимите вручную 2 боковые направляющие и маслосъемное кольцо.

Расположите поршневые кольца в правильном порядке.

20.

Снимите шатун с поршня.

(1)

Снимите стопорное кольцо (А) с поршня.

(2)

Снимите поршневой палец (В) с поршня.

(3)

Разберите поршень (С) и шатун (D).

осмотр

Шатун

1.

Проверьте боковой зазор шатуна.

С помощью щупа измерьте осевой люфт при перемещении соединительного штанга вперед-назад.

Если за пределами допуска, установите новый шатун.

Если все еще за пределами допуска, замените коленчатый вал.

Боковой зазор

Стандарт: 0,10–0,25 мм (0,0039–0,0098 дюйма)

2.

Проверьте масляный зазор в подшипнике соединительной дороги.

(1)

Убедитесь, что установочные метки на шатуне и крышке совмещены. для обеспечения правильной сборки.

(2)

Снимите 2 болта крышки шатуна.

(3)

Снимите крышку шатуна и нижний подшипник.

(4)

Очистите шатунную шейку и подшипник.

(5)

Наденьте пластидж на шейку коленчатого вала.

(6)

Установите на место нижний подшипник и крышку и затяните болты.

Момент затяжки

1-й шаг:

17,7–21,6 Н•м (1,8–2,2 кгс•м, 13,0–15,9 фунт·фут)

2-й шаг: 88-92°

Не проворачивайте коленчатый вал.

Всегда используйте новые болты крышки шатуна. Подключение Болты крышки стержня - это болты с пределом текучести, разработанные быть постоянно удлиненным за пределы состояния эластичность при затяжке, поэтому, если болты удалены повторное использование может привести к поломке или выходу из строя болтов. для поддержания прижимной силы.

(7)

Снимите крышку шатуна и нижний подшипник.

(8)

Измерьте ширину пластигейджа в самом широком месте.

Масляный зазор:

0,028–0,046 мм (0,00110–0,00181 дюйма)

(9)

Если измерение пластигейджа слишком широкое или слишком узкое, снимите верхний и нижний подшипники, а затем установите новые подшипники с таким же цветовым знаком. Перепроверьте масляный зазор.

Не напиливайте, не прокладывайте, не царапайте подшипники или крышки. для регулировки зазора.

(10)

Если пластидж показывает, что зазор по-прежнему неправильный, попробуйте следующий больший или меньший подшипник. Перепроверьте масляный зазор.

Если надлежащий зазор не может быть получен с помощью соответствующие подшипники большего или меньшего размера, замените коленчатый вал и повторите процедуру проверки.

Если следы неразборчивы из-за скопления грязи и пыли, не трите их проволочной щеткой или скребок. Очищайте их только растворителем или моющим средством.

Подключение Идентификационный знак стержня

Подключение Характеристики стержня

Сорт
Отметка
Внутренний диаметр
0
А
48.000 - 48.006 мм
(1,88976 - 1,89000 дюйма)
1
Б
48,006 - 48,012 мм
(1,89000 - 1,89023 дюйма)
2
С
48,012 - 48,018 мм
(1,89023 - 1,89047 дюйма)

коленчатый вал Идентификационный знак штифта

Соответствуйте чтению порядка штамповки, как показано в направлении стрелки от 1.

коленчатый вал Технические характеристики

Сорт
Отметка
Внешний диаметр штифта
я
1
44,966 - 44,972 мм
(1,77031 - 1,77055 дюйма)
II
2
44,960 - 44,966 мм
(1,77008 - 1,77031 дюйма)
III
3
44,954 - 44,960 мм
(1,76984 - 1,77008 дюйма)

Подключение Идентификационный знак шатунного подшипника

Подключение Технические характеристики шатунного подшипника

Сорт
Отметка
Толщина подшипника
А
Светло-синий
1,511 - 1,514 мм
(0,05949–0,05961 дюйма)
Б
Черный
1,508 - 1,511 мм
(0,05937–0,05949 дюйма)
С
Белый
1,505 - 1,508 мм
(0,05925–0,05937 дюйма)
Д
Светло-зеленый
1,502 - 1,505 мм
(0,05913–0,05925 дюйма)
Е
Розовый
1,499 - 1,502 мм
(0,05902–0,05913 дюйма)

(11)

Выберите шатунный подшипник, используя таблицу выбора.

Выбор Таблица подшипников шатуна

Сборка классификации подшипников
Маркировка шатуна
0
1
2
Маркировка коленчатого вала
я (1)
Е (розовый)
D (светло-зеленый)
С (белый)
II (2)
D (светло-зеленый)
С (белый)
Б (черный)
III (3)
С (белый)
Б (черный)
А (светло-голубой)

3.

Проверьте соединительные стержни.

(1)

При переустановке следите за тем, чтобы номера цилиндров были нанесены на Шатун и крышка при разборке совпадают. При новом подключении шток установлен, убедитесь, что выемки для удерживания подшипника на месте находятся на той же стороне.

(2)

Замените шатун, если он поврежден на упорных поверхностях. на любом конце. Также при износе ступеней или сильно шероховатой поверхности внутренний диаметр малого конца виден, стержень должен быть тоже заменил.

(3)

Используя инструмент для выравнивания шатуна, проверьте шатун на изгиб. и крутить. Если измеренное значение близко к ремонтному пределу, исправьте стержень прессом. Любой шатун, который был сильно изогнут или искаженные должны быть заменены.

Допустимый изгиб шатуна:

0,05 мм (0,0020 дюйма) или менее для 100 мм (3,94 дюйма)

Допустимая крутка шатуна:

0,10 мм (0,0039 дюйма) или менее для 100 мм (3,94 дюйма)

При установке шатунов без подшипников на боковой поверхности не должно быть разницы.

Поршень

1.

Чистый поршень.

(1)

С помощью скребка для прокладок удалите нагар с верхней части поршня.

(2)

Используя инструмент для очистки канавок или сломанное кольцо, очистите поршень. кольцевые канавки.

(3)

С помощью растворителя и щетки тщательно очистите поршень.

Не используйте проволочную щетку.

2.

Проверьте зазор между поршнем и цилиндром, рассчитав разницу между внутренним диаметром цилиндра и внешним диаметром поршня.

Зазор между поршнем и цилиндром:

0,02–0,04 мм (0,0008–0,0016 дюйма)

(1)

С помощью нутромера измерьте диаметр цилиндра. в положении в упорном и осевом направлении.

Диаметр отверстия цилиндра:

81,00–81,03 мм (3,1890–3,1902 дюйма)

Измерьте точки положения (от верхней части цилиндра блокировать):

30 мм (1,1811 дюйма) / 60 мм (2,3622 дюйма) / 90 мм (3,5433 дюйма) в.)

(2)

Измерьте внешний диаметр поршня на расстоянии 35 мм (1,3780 дюйма) от верхняя площадка поршня.

Внешний диаметр поршня:

80,97–81,00 мм (3,1878–3,1890 дюйма)

3.

Выберите поршень, соответствующий классу диаметра цилиндра.

Зазор между поршнем и цилиндром:

0,02–0,04 мм (0,0008–0,0016 дюйма)

(1)

Проверьте код размера отверстия цилиндра на стороне блока цилиндров. поверхность.

Цилиндр Внутренний диаметр отверстия

Код размера
Внутренний диаметр цилиндра
А
81,00–81,01 мм (3,1890–3,1894 дюйма)
Б
81,01–81,02 мм (3,1894–3,1898 дюйма)
С
81,02–81,03 мм (3,1898–3,1902 дюйма)

(2)

Проверьте метку размера поршня на верхней поверхности поршня.

Поршень Наружный диаметр

Код размера
Внешний диаметр поршня
А
80,97–80,98 мм (3,1878–3,1882 дюйма)
Б
80,98–80,99 мм (3,1882–3,1886 дюйма)
С
80,99–81,00 мм (3,1886–3,1890 дюйма)

Поршневые кольца

1.

Проверьте боковой зазор поршневого кольца.

С помощью щупа измерьте зазор между новым поршневым кольцом и стенка кольцевой канавки.

Если зазор больше максимального, замените поршень.

Боковой зазор поршневого кольца

[Стандарт]

Кольцо №1:

0,040–0,080 мм (0,00157–0,00315 дюйма)

Кольцо №2:

0,040–0,080 мм (0,00157–0,00315 дюйма)

Масляное кольцо :

0,040–0,115 мм (0,00157–0,00453 дюйма)

Если зазор больше максимального, замените поршень.

2.

Осмотрите торцевой зазор поршневого кольца.

Для измерения торцевого зазора поршневого кольца вставьте поршневое кольцо в цилиндр. родить. Расположите кольцо под прямым углом к ​​стенке цилиндра, слегка нажав его поршнем. Измерьте зазор щупом.

Зазор в конце поршневого кольца

[Стандарт]

Кольцо №1: 0,15–0,30 мм (0,0059–0,0118 дюйма)

Кольцо №2: 0,30–0,45 мм (0,0118–0,0177 дюйма)

Масляное кольцо: 0,20–0,70 мм (0,0079–0,0276 дюйма)

Если зазор превышает эксплуатационный предел, замените поршневые кольца. Если зазор слишком велик, перепроверьте внутренний диаметр отверстия цилиндра. Если отверстие превышает предел службы, блок цилиндров подлежит замене.

Поршневые пальцы

1.

Измерьте диаметр поршневого пальца.

Диаметр поршневого пальца:

19,997–20 000 мм (0,78728–0,78740 дюйма)

2.

Измерьте зазор между поршневым пальцем и поршнем.

Зазор между поршневым пальцем и поршнем:

0,004–0,012 мм (0,00016–0,00047 дюйма)

3.

Проверьте зазор между наружным диаметром поршневого пальца и соединительным внутренний диаметр малого конца стержня.

Зазор между поршневым пальцем и шатуном:

0,007–0,018 мм (0,00028–0,00070 дюйма)

Сборка

Тщательно очистите все детали, подлежащие сборке.

Перед установкой деталей смажьте все скользящие детали свежим моторным маслом. и вращающиеся поверхности.

1.

Соберите поршень и шатун.

(1)

Установите стопорное кольцо (А) с одной стороны отверстия под поршневой палец.

(2)

Совместите переднюю метку поршня и переднюю метку шатуна.

(3)

Вставьте поршневой палец (В) в отверстие для поршневого пальца и маленькое торцевое отверстие шатуна.

(4)

Установите стопорное кольцо (C) с другой стороны после того, как вставите поршневой палец.

Нанесите достаточное количество моторного масла на внешнюю поверхность поршень, внутреннюю поверхность отверстия поршневого пальца и маленькое торцевое отверстие шатун перед установкой поршневого пальца.

Будьте осторожны, чтобы не повредить и не поцарапать маленькое торцевое отверстие, отверстие поршневого пальца и поршневой палец при вставке поршня приколоть.

Плотно установите стопорное кольцо, чтобы стопорное кольцо могло соприкасаться со всей канавкой отверстия под поршневой палец.

2.

Установите поршневые кольца.

(1)

Установите прокладку маслосъемного кольца и 2 боковые планки вручную.

(2)

С помощью расширителя поршневых колец установите 2 компрессионных кольца. маркировкой производителя вверх.

(3)

Расположите поршневые кольца так, чтобы концы колец были, как показано на рисунке. (Кольцо №1 должно быть на противоположной стороне от кольца №2.)

Пример)

Убедитесь, что маслосъемное кольцо может вращаться плавно.

3.

Установите шатунные подшипники.

(1)

Совместите выступ подшипника с канавкой шатуна. или крышка шатуна.

(2)

Установите подшипники (А) в шатун и шатун. колпачок штока (В).

Будьте осторожны, чтобы не изменить положение крышек подшипников.

4.

Установите поршень и шатун в сборе.

Перед установкой поршня смажьте его моторным маслом. кольцевые канавки и отверстия цилиндров.

Установите поршень и шатун в сборе с передним метки, обращенные к передней части двигателя.

(1)

Установите кольцевой компрессор, убедитесь, что кольца надежно закреплены. на место, а затем поместите поршень в цилиндр и нажмите это с помощью деревянной ручки молотка.

(2)

Остановитесь после того, как кольцевой компрессор освободится, и проверьте соединение. совмещение шатуна с шатунной шейкой перед установкой поршня на место.

(3)

Нанесите моторное масло на резьбу болтов. Установите колпачки шатунов (А) с подшипниками и затяните болты.

Момент затяжки

1-й шаг:

17,7–21,6 Н•м (1,8–2,2 кгс•м, 13,0–15,9 фунт·фут)

2-й шаг: 88-92°

Всегда используйте новые болты крышки шатуна. Шатун колпачковые болты представляют собой болты с пределом текучести, рассчитанные на постоянное удлиняется за пределы состояния эластичности при крутящем моменте, поэтому если болты будут сняты и использованы повторно, это может привести к тому, что болты ломаться или не поддерживать силу зажима.

Поддерживайте направленное вниз усилие на кольцевой компрессор, чтобы предотвратить кольца от расхода перед входом в отверстие цилиндра.

5.

Проверьте осевой люфт шатуна.

6.

Соберите остальные детали в порядке, обратном разборке.

Задний сальник
Компоненты и расположение компонентов Компоненты 1. Задний сальник Процедуры ремонта Замена 1. Снимите автоматическую коробку передач. ...
коленчатый вал
Компоненты и расположение компонентов Компоненты 1. Верхний подшипник коленчатого вала 2. Упорный подшипник коленчатого вала 3. Коленчатый вал 4. Нижний подшипник коленчатого вала 5. Кр...
Дополнительная информация:

Руководство по ремонту и обслуживанию Kia Optima DL3 2019-2023: Блок управления двигателем/топливная система


Сервисные данные Сервисные данные Датчик Абсолютное давление в коллекторе Сенсор (КАРТА) Давление Выходное напряжение (В) кПа кгс/см² пси 20 0,2 2,9 0,79 ...

Kia Optima DL3 2019-2023 Руководство по ремонту и обслуживанию: Радиатор отопителя


Процедуры ремонта Замена 1. Отсоедините отрицательную (-) клемму аккумуляторной батареи. 2. Снимите нагреватель и вентилятор в сборе. (См. Нагреватель — «Нагреватель») 3. Отверните болты крепления и снимите радиатор отопителя...