Kia Forte: система предотвращения лобового столкновения (FCA) / радар FCA

Киа Kia Forte 2019-2023 (БД) Руководство по ремонту / Тормозная система / Система предотвращения лобового столкновения (FCA) / FCA Радар

Принципиальные диаграммы
Принципиальная электрическая схема

Процедуры ремонта
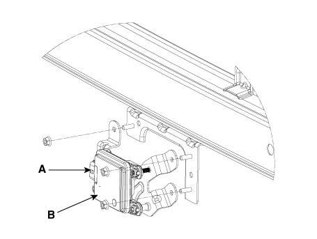
Удаление

Радар и устройство SCC и FCA

1.

Снимите передний бампер.

(См. Кузов (внутри и снаружи) — «Крышка переднего бампера»)

2.

Отсоедините разъем радара SCC и FCA (A).

3.

Снимите радар SCC и FCA (B) после ослабления крепежных гаек.

Момент затяжки:

10,17–12,2 Н·м (1,0–1,2 кгс·м, 7,5–9,0 фунт·фут)

Блок SCC и FCA (только для Австралии)

1.

Снимите основную подушку безопасности в сборе.

(См. раздел Кузов (внутренняя и внешняя отделка — «Главная защитная накладка в сборе»)

2.

Отсоедините разъем блока SCC и FCA.

3.

Снимите блок SCC и FCA (A).

Момент затяжки:

9,8–10,8 Н·м (1,0–1,1 кгс·м, 7,2–8,0 фунт·фут)

Монтаж

Радар и устройство SCC и FCA

1.

Установите в порядке, обратном снятию.

2.

Выровняйте процедуру вариантного кодирования.

(См. Регулировку - «Вариант кодирования»)

3.

Выровняйте радарный датчик интеллектуального круиз-контроля.

(См. раздел «Регулировка — «Радар системы предотвращения лобового столкновения (FCA)»). Выравнивание")

Блок SCC и FCA (только для Австралии)

1.

Установите в порядке, обратном снятию.

2.

Выровняйте процедуру вариантного кодирования.

(См. Регулировку - «Вариант кодирования»)

Корректирование

Вариантное кодирование

1.

Выключите зажигание.

2.

Подключите KDS к разъему канала передачи данных (DLC).

3.

Включите зажигание.

4.

Выберите «Автомобиль, Год выпуска, Двигатель, Система».

5.

Выберите «Управление программным обеспечением автомобиля».

6.

Выполнить вариантное кодирование.

Система предотвращения столкновений вперед (FCA) Настройка радара

Система Forward Collision-Avoidance Assist (FCA) предназначена для предотвращения потенциальных столкновений. столкновение или уменьшить его воздействие, когда водители неадекватно, с задержкой или без тормозов применяют тормоза вообще, чтобы избежать столкновения.

Чтобы радарный датчик работал правильно, он должен быть правильно выровнен. параллельно направлению движения автомобиля. По этой причине радарный датчик Процедура юстировки должна выполняться каждый раз после повторной установки датчика. или заменить на новый.

Если процедура юстировки датчика не выполняется в указанных условиях выше, интеллектуальная система круиз-контроля может работать неправильно.

Выравнивание радарного датчика FCA требуется, когда:

Блок FCA переустанавливается или заменяется новым.

Радарный датчик или окружающие детали подвергаются удару при столкновении.

Датчик не обнаружил движущееся впереди транспортное средство.

Датчик угла поворота рулевого колеса (SAS) заменен или отрегулирован.

Датчик не может распознать транспортное средство впереди:

Установите автомобиль на ровной поверхности.

Снимите тяжелый багаж с сидений или багажника автомобиля.

Установите все шины в соответствии с указанным давлением.

Проверьте сход-развал колес.

Убедитесь, что передняя поверхность блока FCA чистая.

Система предотвращения столкновений вперед (FCA) Настройка радара

1.

Остановите автомобиль горизонтально на ровном месте.

Регулировка может быть неточной, если поверхность установки высота и угол наклона автомобиля и отражателя различны.

Выполняйте в зоне с минимальным просветом 8 м (26,2 футов) спереди, 4 м (13,1 фута) по бокам и 1,2 м (3,9 фута) над транспортное средство.

Уберите тяжелые предметы из салона автомобиля (сиденья). площадь и багажник).

Убедитесь, что все шины накачаны воздухом под номинальным давлением.

Удалите предметы (металлические пластины, смолы и т. д.), которые могут вызвать помехи электрического сигнала из области, где датчик выполняется выравнивание.

Убедитесь, что автомобиль не движется и не испытывает вибрации. при выполнении выравнивания датчика (вход/выход или открытие/закрытие двери).

Убедитесь, что решетка радиатора и крышка датчика не загрязнены.

Убедитесь, что углы установки колес в норме.

Не выключайте питание при выполнении юстировки датчика.

Напряжение, подаваемое на радарный датчик, должно быть в пределах 9–16 В.

Температура в зоне, где выполняется юстировка датчика должна быть в пределах от -30 до 60 °C (от -22 до 140 °F).

2.

Отметьте центральную точку эмблемы (A) и центральную точку над ветром. стекло (Б).

3.

Подсоедините калибровочный лазер SCC (номер SST: 09964-C1200) к штативу. (№ по спецификациям: 09964-C1300).

4.

Используя калибровочный отражатель SCC [SST No.: 09964-C1100] (A), отрегулируйте проволоку (D) так, чтобы центральная точка эмблемы (B) и центральная точка на земле (С) перпендикулярны друг другу.

5.

Установите вертикальный/горизонтальный лазер [SST No.: 09964-C1200] (A) в на расстоянии более 4,2 м (12,5 футов) от передней части автомобиля.

6.

Совместите вертикальную линию лазера с (A) и (B), используя вертикальную/горизонтальную лазер (C) [№ SST: 09964-C1200].

7.

Отметьте (C) на расстоянии 1,0–3,8 м (3,3–12,5 фута) от (A) впереди автомобиля.

8.

Извлеките калибровочный лазер SCC [№ SST: 09964-C1200] (B) из штатив [SST №: 09964-C1300] (A).

9.

Установите отражатель [SST No.: 09964-C1100] (B) на штатив [SST No. №: 09964-C1300] (А).

10.

Совместите вертикальный груз (B) калибровочного отражателя SCC [SST No. : 09964-C1100] (A) с точкой (C).

11.

Используя пузырьковый уровень (B) штатива [SST No.: 09964-C1300] (A), установите отражатель горизонтально.

12.

Установите высоту калибровочного отражателя SCC [№ SST: 09964-C1100]. (A) до 330 мм (13,0 дюймов).

13.

Еще раз проверьте радарный датчик и поверхность переднего бампера на наличие Следите за предметами глазами.

Визуально убедитесь, что отражающая сторона рефлектора выравнивается с передней частью автомобиля.

Убедитесь в отсутствии мусора или отражающих объектов. на поверхности радара.

Убедитесь в отсутствии мусора или отражающих объектов. на решетке радиатора.

14.

Подключите KDS к DLC автомобиля и начните выравнивание датчика.

Если двигатель работает, вибрация может привести к неточным выравнивание датчика, поэтому выравнивание датчика следует выполнять в режиме IG ON.

15.

После правильного выбора модели автомобиля выберите «Выравнивание радарного датчика». из вспомогательных функций в меню KDS.

16.

Выполните выравнивание датчика, следуя указаниям, показанным в KDS. монитор.

17.

В случае сбоя выравнивания датчика проверьте условия выравнивания. Выключите зажигание, затем повторите процедуру юстировки датчика.

осмотр

Процедуры проверки неисправности системы предотвращения лобового столкновения (FCA):

1.

Проверьте внешний вид бампера и историю аварий (внешний вид бампера). автомобиль, история обслуживания и замены бампера).

→ Если автомобиль попал в аварию, скорее всего, монтажная деталь FCA быть скрученным.

2.

Проверьте, не загрязнена ли крышка радарного датчика на бампере.

→ Если крышка грязная, FCA, скорее всего, будет выпущен иностранным вещества во время работы.

3.

После запуска двигателя проверьте предупреждающее сообщение FCA на приборной панели и DTC. код. (См. руководство по кодам неисправности.)

4.

После запуска двигателя остановитесь более чем на 5 секунд.

→ Если инициализация системы (компенсация смещения датчика скорости рыскания) не завершено, FCA не будет работать.

Система предотвращения лобового столкновения (FCA)
Описание и работа Описание – Система FCA разработана, чтобы помочь избежать потенциального столкновения или уменьшить его влияние, когда драйверы применяются неадекватно, с задержкой или п ...
FCA-камера
Принципиальные диаграммы Схематическая диаграмма Терминал Функция Нет Функция 1 - 2 IGN_1 ...
Дополнительная информация:

Kia Forte 2019-2023 (BD) Руководство по техническому обслуживанию: Система стояночного тормоза


Компоненты и расположение компонентов Компоненты 1. Рычаг стояночного тормоза в сборе 2. Передний трос стояночного тормоза 3. Трос стояночного тормоза [левый] 4. Трос стояночного тормоза [правый] ...

Kia Forte 2019-2023 (BD) Руководство по эксплуатации: Замена фар (светодиодных) (фара типа C)


Если лампа ближнего/дальнего света(1), День ходовой фонарь / габаритный фонарь (2), боковой маркер(3) не работает, есть автомобиль проверен уполномоченным Дилер Киа. Светодиодная лампа не может быть заменена как единый компонент, потому что он интегрированный блок. Светодиодная лампа имеет заменить на...