Kia Forte: система передней подвески / передняя стойка в сборе

Киа Kia Forte 2019-2023 (БД) Руководство по ремонту / Подвесная система / Система передней подвески / Передняя стойка в сборе

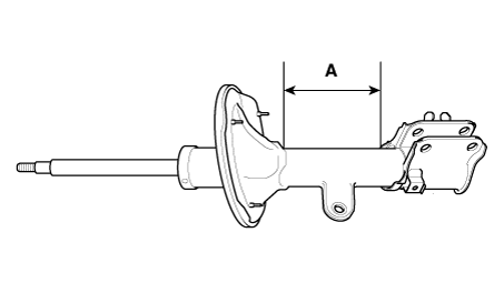
Компоненты и расположение компонентов
Компоненты

1. Стойка в сборе
2. Пружинная нижняя накладка
3. Спиральная пружина
4. Пылезащитный чехол
5. Ограничитель бампера
6. Пружинная верхняя накладка
7. Узел изолятора стойки

Процедуры ремонта
Снятие и установка
1.

Снимите переднее колесо и шину (А).

Момент затяжки:

107,9–127,5 Н·м (11,0–13,0 кгс·м, 79,6–94,0 фунт·фут)

Будьте осторожны, чтобы не повредить болты ступицы при снятии передней колесо и шина.

2.

Отсоедините кронштейн тормозного шланга (А).

Момент затяжки:

8,8–13,7 Н·м (0,9–1,4 кгс·м, 6,5–10,1 фунт-фут)

3.

Отсоедините кронштейн датчика скорости вращения колеса (А).

Момент затяжки:

8,8–13,7 Н·м (0,9–1,4 кгс·м, 6,5–10,1 фунт-фут)

4.

Ослабьте гайку и отсоедините тягу стабилизатора поперечной устойчивости (А).

Момент затяжки:

98,1–117,7 Н·м (10,0–12,0 кгс·м, 72,3–86,8 фунт·фут)

При ослаблении гайки зафиксируйте внешний шестигранник стабилизатора ссылка на бар.

Будьте осторожны, чтобы не повредить пыльники стабилизатора поперечной устойчивости.

5.

Ослабьте верхние гайки крепления передней стойки (А).

Момент затяжки:

53,9–73,5 Н·м (5,5–7,5 кгс·м, 39,8–54,2 фунт-фут)

6.

Ослабьте болты и гайки и снимите переднюю стойку в сборе (А).

Момент затяжки:

156,9–176,5 Н·м (16,0–18,0 кгс·м, 115,7–130,2 фунт-фут)

7.

Установите в порядке, обратном снятию.

Разборка и сборка
1.

Используя приспособление для сжатия пружин стоек, сожмите винтовую пружину (А).

Чтобы предотвратить отслаивание краски винтовой пружины, накройте спиральной пружины тонкой тканью или шлангом перед установкой компрессор пружин стоек.

Установите положение сжатия пружины стойки правильно, чтобы винтовая пружина не наклонялась при сжатии спиральная пружина.

2.

Используя SST (09546-3X100), ослабьте самоконтрящуюся гайку.

Момент затяжки:

98,1–107,9 Н·м (10,0–11,0 кгс·м, 72,3–79,6 фунт-фут)

Не используйте повторно самостопорящуюся гайку.

3.

Снимите изолятор, верхнюю накладку, стопор бампера, пыльник, винтовую пружину. и нижнюю подушку из стойки в сборе.

4.

Сборка обратна разборке.

осмотр
1.

Проверьте подшипник стойки на предмет износа и повреждений.

2.

Проверьте верхнюю и нижнюю подушку пружины на наличие повреждений и износа.

3.

Сожмите и выдвиньте шток поршня (А) и убедитесь в отсутствии аномальных сопротивление или необычный звук во время работы.

Утилизация
1.

Полностью выдвиньте шток поршня.

2.

Просверлите отверстие в секции (А) для удаления газа из баллона.

Выходящий газ безвреден, но будьте осторожны со стружкой которые могут вылететь при сверлении.

Обязательно надевайте защитные очки или защитные очки, когда выполнение этой задачи.

Система передней подвески
Компоненты и расположение компонентов Компоненты 1. Стойка в сборе 2. Рулевой редуктор 3. Нижняя рука 4. Подрамник 5. Подставка под раму 6. Стабилизатор поперечной устойчивости ...
Передний нижний рычаг
Процедуры ремонта Снятие и установка 1. Снимите переднее колесо и шину (А). Момент затяжки: 107,9 - 127,5 Н·м (11,0 - 13,0 кгс·м, 79,6 ...
Дополнительная информация:

Kia Forte 2019-2023 (BD) Руководство по эксплуатации: Капот


Открытие капота 1. Потяните рычаг разблокировки, чтобы разблокировать капот. Капот должен открыться приоткрыть. Откройте капот после выключения двигатель на ровной поверхности, переключая рычаг переключения передач в положение P (Парковка) для Коробка передач с двойным сцеплением/интеллектуальная Переменная передача и к ...

Kia Forte 2019-2023 (BD) Сервис мануал: Головное устройство AVN


Компоненты и расположение компонентов Компоненты 1. Приборная панель кластера 2. Украшение центра аварийной площадки 3. Центральный вентиляционный канал в сборе 4. Верхняя панель АВН 5. Головное устройство АВН 6. Краш-пад Принципиальные диаграммы Разъем и клемма Фу ...