Kia Forte: Карданный вал в сборе / TJ шарнир

Киа Kia Forte 2019-2023 (БД) Руководство по ремонту / Карданный вал и ось / Сборка карданного вала / ТиДжей Джойнт

Компоненты и расположение компонентов
Компоненты
[Правый]

1. Сборка БЖ
2. Клип
3. Ремешок для обуви BJ
4. Сапоги для минета
5. Лента динамического демпфера
6. Динамический демпфер
7. Вал
8. Ремешок для ботинок TJ
9. Ботинок TJ
10. Паук в сборе
11. Стопорное кольцо
12. Корпус ТЖ
13. Стопорное кольцо

[левый]

1. Сборка БЖ
2. Стопорное кольцо BJ
3. Ремешок для обуви BJ
4. Сапоги для минета
5. Вал
6. Ремешок для ботинок TJ
7. Ботинок TJ
8. Паук в сборе
9. Привязка кольцо
10. Дело Т.Дж.
11. Стопорное кольцо

Процедуры ремонта
Разборка

На шарнир карданного вала необходимо нанести специальную смазку. Не заменить смазкой другого типа.

Башмак следует заменить на новый.

1.

Снимите передний приводной вал.

(См. узел приводного вала — «Передний приводной вал»)

2.

Снимите стопорное кольцо корпуса (В) со шлица приводного вала (А).

3.

Снимите оба хомута с корпуса TJ.

4.

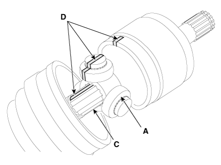
Снимите корпус TJ (А).

Нанесите установочные метки (D) на узел ролика крестовины (A), Корпус TJ (B) и шлицы вала (C) для облегчения повторной сборки.

5.

Снимите стопорное кольцо (А) с вала.

6.

Снимите крестовину в сборе (В) с приводного вала (А) с помощью съемника.

7.

Очистите крестовину в сборе.

8.

Снимите ботинок TJ (A).

Для повторного использования чехла (A) оберните лентой (B) приводной вал. шлицы (C) для защиты чехла (A).

осмотр
1.

Проверьте крестовину в сборе на вращение роликов, износ или коррозию.

2.

Проверьте канавку внутри корпуса шарнира на предмет износа или коррозии.

3.

Проверьте сапоги TJ на наличие повреждений и износа.

Сборка
1.

Оберните ленту вокруг шлица приводного вала (TJ), чтобы не повредить чехол.

2.

Руководствуясь установочными метками (D), сделанными во время разборки, установите узел крестовины (A) и стопорное кольцо (B) на шлицах приводного вала (C).

3.

Добавьте указанную смазку в пыльник шарнира столько, сколько было стерто при осмотр.

4.

Установите оба загрузочных ремня.

5.

Чтобы контролировать воздух в ботинке TJ, соблюдайте указанное расстояние между резинки ботинок, когда они затянуты.

Двигатель
Расстояние (L) мм (дюймы)
левая сторона
Правая сторона
Гамма 1,6 МПа (МТ)
537,9 (21,1772)
834,2 (32,8425)
Гамма 1,6 млн дюймов на дюйм (АТ)
525,2 (20,6772)
814,5 (32,0669)
Nu 2.0 MPI (МТ)
545,6 (21,4803)
826,2 (32,5276)
Nu 2.0 MPI (АТ)
525,2 (20,6772)
814,5 (32,0669)
Гамма 1.6 T-GDI (DCT)
498,7 (19,6339)
517,6 (20,3780)
Гамма 1.6 T-GDI (МТ)
530,5 (20,8858)
517,7 (20,3819)
Новый У 1.6 (ДКП)
498,7 (19,6339)
872,9 (34,3661)
Новый У 1.6 (МТ)
530,6 (20,8898)
841,2 (33,1181)

6.

С помощью SST (09495-3K000) закрепите хомуты чехлов TJ.

Зазор (A): 2,0 мм (0,0787 дюйма) или менее

7.

Установите передний карданный вал.

(См. узел приводного вала — «Передний приводной вал»)

Передний карданный вал
Компоненты и расположение компонентов Расположение компонентов [Гамма 1.6 MPI, Nu 2.0 MPI, Новый U 1.6 ТКИ] 1. Приводной вал (левый) 2. Приводной вал (правый) ...
Динамический демпфер
Компоненты и расположение компонентов Компоненты [Правый] 1. Сборка БЖ 2. Клип 3. Ремешок для обуви BJ 4. Сапоги для минета 5. Лента динамического демпфера 6. Динамика...
Дополнительная информация:

Kia Forte 2019-2023 (BD) Руководство по обслуживанию: Свечи зажигания


Технические характеристики Спецификация Элемент Спецификация Тип SILZKR8E8G Зазор 0,7 - 0,8 мм (0,028–0,31 дюйма) Описание и работа Описание Свеча зажигания - это устройство для зажига...

Руководство по эксплуатации Kia Forte 2019-2023 (BD): Беспроводная зарядка смартфона система


Беспроводная зарядка смартфона система расположена перед центром консоль. Плотно закройте все двери и поверните зажигание в положение ACC или IGN ON. Начать беспроводная зарядка, поместите смарт телефон оснащен беспроводной зарядкой функция беспроводной зарядки подушка. Для лучшего провода...