Kia Rio: Карданный вал в сборе / Динамический демпфер

Kia Rio 2017-2023 YB Руководство по ремонту / Карданный вал и ось / Сборка карданного вала / Динамический демпфер

Компоненты и расположение компонентов
Компоненты
[Правый]

1. Сборка БЖ
2. Клип
3. Ремешок для обуви BJ
4. Сапоги для минета
5. Лента динамического демпфера
6. Динамический демпфер
7. Вал
8. Ремешок для ботинок TJ
9. Ботинок TJ
10. Паук в сборе
11. Стопорное кольцо
12. Корпус ТЖ
13. Стопорное кольцо

[левый]

1. Сборка БЖ
2. Стопорное кольцо BJ
3. Ремешок для обуви BJ
4. Сапоги для минета
5. Вал
6. Ремешок для ботинок TJ
7. Ботинок TJ
8. Паук в сборе
9. Привязка кольцо
10. Дело Т.Дж.
11. Стопорное кольцо

Процедуры ремонта
Замена
1.

Снимите передний приводной вал.

(См. Приводной вал и ось - «Передний карданный вал»)

2.

Снимите TJ-соединение в сборе.

(См. Приводной вал и ось - «TJ шарнир»)

3.

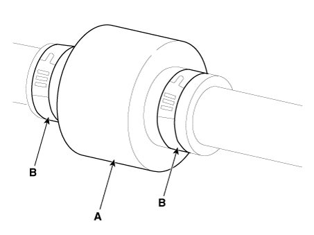
Снимите обе стороны ленты (B) динамического демпфера (A).

4.

Закрепите приводной вал (А) тисками (В), как показано на рисунке.

5.

Нанесите мыльный порошок на вал, чтобы предотвратить повреждение между валом шлиц и динамический демпфер, когда динамический демпфер удален.

6.

Осторожно отделите динамический демпфер (A) от вала (B).

Монтаж
1.

Нанесите мыльный порошок на вал, чтобы предотвратить повреждение между валом сплайн и динамический демпфер.

2.

Установите динамический демпфер.

3.

Установите ленту динамического демпфера (A).

4.

С помощью SST (09495-3K000) закрепите хомуты чехлов TJ (B).

Зазор (A): 2,0 мм (0,0787 дюйма) или менее

5.

Установите TJ-соединение в сборе.

(См. приводной вал в сборе — «TJ шарнир»)

6.

Установите передний карданный вал.

(См. узел приводного вала — «Передний приводной вал»)

7.

Проверьте переднее выравнивание.

(См. Система подвески — «Выравнивание»)

ТиДжей Джойнт
Компоненты и расположение компонентов Компоненты [Правый] 1. Сборка БЖ 2. Клип 3. Ремешок для обуви BJ 4. Сапоги для минета 5. Лента динамического демпфера 6. Динамика...
Минет в сапогах
Компоненты и расположение компонентов Компоненты [Правый] 1. Сборка БЖ 2. Клип 3. Ремешок для обуви BJ 4. Сапоги для минета 5. Лента динамического демпфера 6. Динамика...
Дополнительная информация:

Kia Rio 2017-2023 YB Руководство по ремонту: датчик скорости переднего колеса


Компоненты и расположение компонентов Компоненты 1. Разъем датчика скорости переднего колеса 2. Датчик скорости переднего колеса Процедуры ремонта Удаление 1. Снимите переднее колесо и шину. Момент затяжки: ...

Kia Rio 2017-2023 YB Руководство по обслуживанию: Передняя стойка в сборе


Компоненты и расположение компонентов Расположение компонентов 1. Контргайка 2. Пылезащитный колпачок изолятора 3. Самостопорящаяся гайка 4. Изолятор стойки 5. Подшипник стойки 6. Верхнее сиденье пружины 7. Пружинная верхняя накладка 8. Коли весна 9. Пылезащитный чехол 10. Резина бампера ...