Kia Rio: Тормозная система / Система электронного контроля устойчивости (ESC)

Kia Rio 2017-2023 YB Руководство по ремонту / Тормозная система / Система ESC (электронный контроль устойчивости)

Компоненты и расположение компонентов
Компоненты

1. Модуль управления ESC
2. Датчик скорости переднего колеса
3. Датчик скорости заднего колеса

Описание и работа
Описание ЭСК

Электронный контроль устойчивости (ESC) распознает критические условия вождения, такие как как панические реакции в опасных ситуациях, так и стабилизирует транспортное средство с помощью отдельных колес. вмешательство в систему торможения и управления двигателем.

ESC добавляет к ABS дополнительную функцию, известную как Active Yaw Control (AYC). Функции TCS, EBD и ESC. Напротив, функция ABS/TCS контролирует проскальзывание колес. при торможении и ускорении и, таким образом, в основном вмешивается в продольную динамика автомобиля, а активный контроль рыскания стабилизирует автомобиль на вертикальная ось.

Это достигается за счет индивидуального торможения колес и адаптации мгновенный крутящий момент двигателя без необходимости каких-либо действий со стороны водителя.

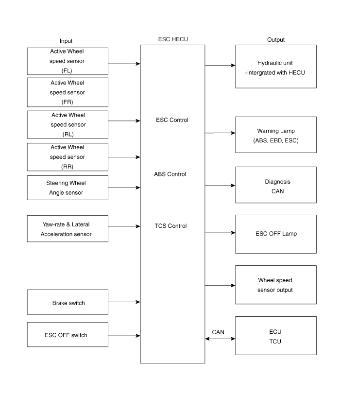
ESC в основном состоит из трех узлов: датчики, электронное управление узел и приводы.

Функция контроля устойчивости работает при любых условиях вождения и эксплуатации. При определенных условиях вождения функция ABS/TCS может быть активирована одновременно. с функцией ESC в ответ на команду водителя.

В случае отказа функции контроля устойчивости основные функции безопасности функция ABS по-прежнему сохраняется.

Описание ЭСК Контроль

Система ESC состоит из функций ABS/EBD, TCS и AYC.

Функция ABS/EBD: ЭБУ изменяет активный сигнал датчика (текущее переключение), поступающее от четырех колесных датчиков в прямоугольные волны. Используя ввод вышеуказанных сигналов, ЭБУ вычисляет скорость автомобиля, а также ускорение и торможение автомобиля. четыре колеса. И ECU решает, следует ли активировать ABS / EBD или нет.

Функция TCS предотвращает проскальзывание колес в направлении движения, добавляя тормозное давление. и снижение крутящего момента двигателя по шине CAN. Функция TCS использует скорость вращения колеса. сигнал датчика для определения проскальзывания колеса до функции ABS.

Функция AYC предотвращает неустойчивое маневрирование автомобиля. Для определения транспортного средства маневр, функция AYC использует сигналы датчика маневра (датчик скорости рыскания, боковой датчик ускорения и датчик угла поворота рулевого колеса).

Если маневр автомобиля нестабилен (избыточная или недостаточная поворачиваемость), применяется функция AYC. тормозное давление на определенном колесе и посылает сигнал снижения крутящего момента двигателя МОЖЕТ.

После включения зажигания ЭБУ непрерывно диагностирует отказ системы (самодиагностика). Если обнаружен сбой системы, ЭБУ информирует водителя о сбое системы. через контрольную лампу BRAKE/ABS/ESC (предупреждение отказоустойчивости).

Диаграмма ввода и вывода

Режим работы регулятора скорости
Схема гидравлической системы ESC

1.

ESC не работает: нормальное торможение.

Соленоидный клапан
Преемственность
Клапан
Мотопомпа
Клапан ТК
В (НЕТ)
ВЫКЛЮЧЕННЫЙ
ОТКРЫТЬ
ВЫКЛЮЧЕННЫЙ
ВЫКЛЮЧЕННЫЙ
ВЫХОД (НЗ)
ВЫКЛЮЧЕННЫЙ
ЗАКРЫВАТЬ

2.

работа регулятора скорости

Соленоидный клапан
Преемственность
Клапан
Мотопомпа
Клапан ТК
недостаточная поворачиваемость
(Только внутри
Заднее колесо)
В (НЕТ)
ВЫКЛЮЧЕННЫЙ
ОТКРЫТЬ
НА
НА
ВЫХОД(НЗ)
ВЫКЛЮЧЕННЫЙ
ЗАКРЫВАТЬ
избыточная поворачиваемость
(Только снаружи
переднего колеса)

В (НЕТ)
ВЫКЛЮЧЕННЫЙ
ОТКРЫТЬ
ВЫХОД(НЗ)
ВЫКЛЮЧЕННЫЙ
ЗАКРЫВАТЬ

Модуль контрольной лампы АБС

Активный модуль контрольной лампы АБС указывает на состояние самопроверки и неисправности. АБС. Контрольная лампа ABS загорается при следующих условиях:

Во время фазы инициализации после IGN ON. (непрерывно 3 секунды).

В случае торможения работы АБС по отказу.

В режиме диагностики.

Когда разъем ECU отделен от ECU.

Лампа кластера горит, когда связь с модулем CAN невозможна.

Предупреждение EBD/стояночного тормоза Модуль лампы

Активный модуль контрольной лампы EBD указывает на состояние самопроверки и неисправности. из ЕБД. Однако, если переключатель стояночного тормоза включен, предупреждение EBD лампа всегда включена независимо от функций EBD. Контрольная лампа EBD горит на следующих условиях:

Во время фазы инициализации после IGN ON. (непрерывно 3 секунды).

Когда переключатель стояночного тормоза включен или уровень тормозной жидкости низкий.

Когда функция EBD вышла из строя.

В режиме диагностики.

Когда разъем ECU отделен от ECU.

Лампа кластера горит, когда связь с модулем CAN невозможна.

ESC Функция/Предупреждение Лампа

Функциональная/предупредительная лампа ESC указывает на состояние самопроверки и неисправности системы. ESC.

Функциональная/контрольная лампа ESC загорается при следующих условиях:

Во время фазы инициализации после IGN ON. (непрерывно 3 секунды).

Когда функция ESC заблокирована из-за сбоя системы.

Когда управление ESC работает. (мигание - 2 Гц)

В режиме диагностики (кроме стандартного режима).

Лампа кластера горит, когда связь с модулем CAN невозможна.

Лампа выключения ESC

Лампа ESC Off указывает на самопроверку и рабочее состояние ESC.

Индикатор ESC Off работает при следующих условиях:

В режиме инициализации после IGN ON. (непрерывно 3 секунды).

Лампа ESC Off загорается, когда водитель нажимает кнопку ESC Off.

Переключатель ESC вкл./выкл.

Переключатель ESC On/Off используется для переключения функции ESC между состояниями On/Off. на основе действий водителя.

Выключатель Вкл/Выкл представляет собой нормально разомкнутый контактный выключатель мгновенного действия. Закрытые контакты переключите цепь на зажигание.

Исходное состояние функции ESC включено и состояние переключателя.

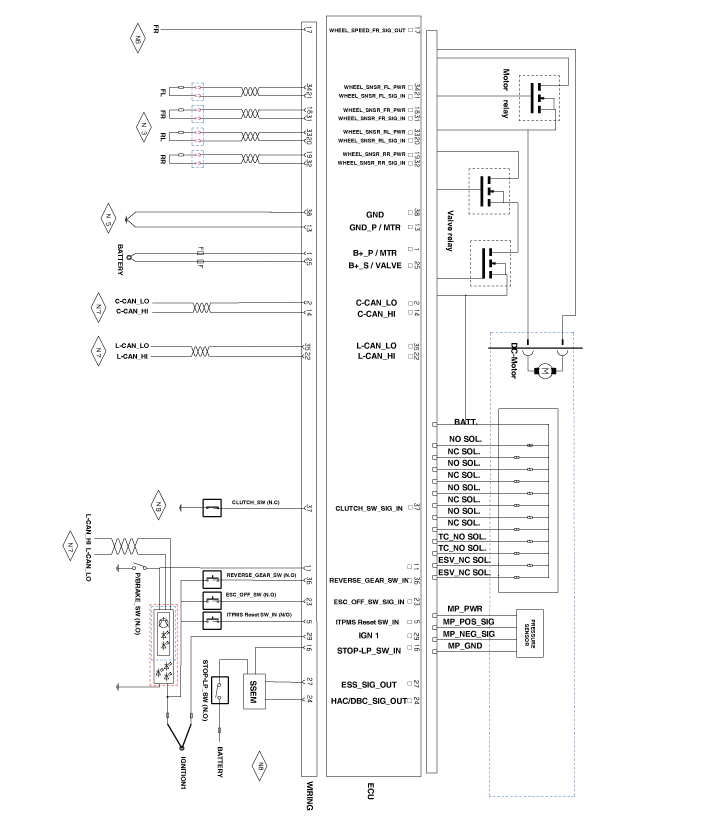
Принципиальные диаграммы
Схематические диаграммы

Терминал Функция

Пин №
Описание
Текущий
Сопротивление
Примечание
(AMPS)
(мОм)
1
B+ МОЩНОСТЬ ДВИГАТЕЛЯ НАСОСА
137 (РАШ)
10

2
C-CAN Низкий уровень
30 мА
250

5
Вход переключателя сброса ITPMS
10 мА
250

11
СИГНАЛ ВЫКЛЮЧАТЕЛЯ СТОЯНОЧНОГО ТОРМОЗА
10 мА
250

13
GND_PUMP ЗАЗЕМЛЕНИЕ ДВИГАТЕЛЯ
137 (РАШ)
10

14
C-CAN Высокий
30 мА
250

16
СИГНАЛ ВЫКЛЮЧАТЕЛЯ СТОП-СИГНАЛОВ
10 мА
250

17
ВЫХОДНАЯ СКОРОСТЬ КОЛЕСА (FR)
16 мА
250

18
МОЩНОСТЬ ДАТЧИКА СКОРОСТИ КОЛЕСА (FR)
30 мА
250

19
МОЩНОСТЬ ДАТЧИКА СКОРОСТИ КОЛЕСА (RR)
30 мА
250

20
МАССА СИГНАЛА ДАТЧИКА СКОРОСТИ КОЛЕСА (RL)
16,8 мА
250

21
МАССА СИГНАЛА ДАТЧИКА СКОРОСТИ КОЛЕСА (FL)
16,8 мА
250

22
L-CAN ВЫСОКАЯ
30 мА
250

23
СИГНАЛ ПЕРЕКЛЮЧАТЕЛЯ ESC ВКЛ/ВЫКЛ
10 мА
250

24
СИГНАЛ ПРИВОДА HAC
200 мА
250

25
АККУМУЛЯТОР(+) ЭЛЕКТРОМАГНИТНЫЙ
40
10

27
СИГНАЛ ПРИВОДА ESS
200 мА
250

29
ЗАЖИГАНИЕ1
50 мА
60

31
СИГНАЛ ДАТЧИКА СКОРОСТИ КОЛЕСА МАССА (FR)
16,8 мА
250

32
МАССА СИГНАЛА ДАТЧИКА СКОРОСТИ КОЛЕСА (RR)
16,8 мА
250

33
МОЩНОСТЬ ДАТЧИКА СКОРОСТИ КОЛЕСА (RL)
30 мА
250

34
МОЩНОСТЬ ДАТЧИКА СКОРОСТИ КОЛЕСА (FL)
30 мА
250

35
L-CAN НИЗКИЙ
30 мА
250

36
СИГНАЛ ВЫКЛЮЧАТЕЛЯ ЗАДНЕГО ПЕРЕДАЧИ
10 мА
250

37
СИГНАЛ ВЫКЛЮЧАТЕЛЯ СЦЕПЛЕНИЯ
10 мА
250

38
ЗЕМЛЯ
40
10


Датчик скорости заднего колеса
Компоненты и расположение компонентов Компоненты Тип барабана Тип диска Процедуры ремонта Удаление 1. Снимите заднее колесо и шину. ...
Модуль управления ESC
Компоненты и расположение компонентов Компоненты 1. Разъем модуля управления ESC 2. Модуль управления ESC 3. Кронштейн регулятора скорости Процедуры ремонта Ремо ...
Дополнительная информация:

Kia Rio 2017-2023 YB Руководство по техническому обслуживанию: Выключатель ингибитора


Описание и работа Описание Определите положение рычага переключения передач с помощью контактного выключателя. Операционный стол Принципиальные диаграммы Принципиальная электрическая схема Процедуры ремонта осмотр 1. Проверьте состояние разъема. ...

Руководство по эксплуатации Kia Rio 2017-2023 YB: Дальний свет, включение света, передние противотуманные фары


Индикатор дальнего света Этот индикатор загорается: Когда фары включены и находятся в положении дальнего света Когда рычаг указателя поворота переводится в положение Flash-to-Pass. Световой индикатор включения Этот индикатор загорается: • Когда задние фонари или фары...