Kia Rio: Тормозная система / Задний барабанный тормоз

Kia Rio 2017-2023 YB Руководство по ремонту / Тормозная система / Тормозная система / Задний барабанный тормоз

Компоненты и расположение компонентов
Компоненты

1. Прижимной штифт башмака
2. Регулятор обуви
3. Верхняя возвратная пружина
4. Регулировочный рычаг
5. Обувь
6. Регулировочная пружина
7. Нижняя возвратная пружина
8. Пружина крепления башмака

Процедуры ремонта
Удаление

Частое вдыхание пыли тормозных колодок, независимо от материала состава, может быть опасным для вашего здоровья. • Избегайте дыхания Частицы пыли.

Избегайте вдыхания частиц пыли.

Никогда не используйте воздушный шланг или щетку для очистки тормозных узлов.

1.

Отпустите стояночный тормоз.

2.

Снимите заднее колесо и шину.

Момент затяжки:

107,9–127,5 Н·м (11,0–13,0 кгс·м, 79,6–94,0 фунт·фут)

3.

Снимите винт заднего тормозного барабана.

Момент затяжки

4,9–5,9 Н·м (0,5–0,6 кгс·м, 3,6–4,3 фунт-фут)

4.

Снимите верхнюю возвратную пружину.

5.

Снимите нижнюю возвратную пружину.

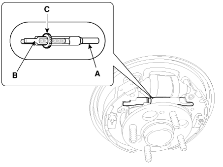
6.

Снимите пружины крепления колодок (A) и штифты крепления башмаков (B), а затем снимите тормозная колодка (С). Следите за тем, чтобы не повредить пылезащитную крышку на колесном цилиндре.

7.

Отсоедините трос стояночного тормоза от накладки.

8.

Снимите конусную гайку тормозной трубки.

Момент затяжки:

13,7–16,7 Н·м (1,4–1,7 кгс·м, 10,1–12,3 фунт-фут)

9.

Ослабьте болты колесного цилиндра и снимите колесный цилиндр.

Момент затяжки:

9,8–12,7 Н·м (1,0–1,3 кгс·м, 7,2–9,4 фунт-фут)

Монтаж

Не проливайте тормозную жидкость на автомобиль: это может повредить краску; если тормозная жидкость попала на краску. Немедленно смойте его с вода.

Во избежание разлива накройте соединения шлангов тряпками или салфетками.

Используйте только оригинальный специальный болт колесного цилиндра.

1.

Нанесите герметик (C) между колесным цилиндром (B) и опорной пластиной (D), и установите рабочий цилиндр.

2.

Установите накидную гайку тормозной трубки.

Момент затяжки:

6,9–9,8 Н·м (0,7–1,0 кгс·м, 5,1–7,2 фунт-фут)

3.

Подсоедините трос стояночного тормоза к накладке.

4.

Снимите пружины крепления колодок (A) и штифты крепления башмаков (B), а затем снимите тормозная колодка (С). Следите за тем, чтобы не повредить пылезащитную крышку на колесном цилиндре.

5.

Установите штифты отверстия башмака (B) и пружины отверстия башмака (A).

6.

Очистите резьбовые части регулировочной втулки (А) и внутренней части толкателя. (Б). Смажьте резьбу узла регулятора консистентной смазкой. Чтобы сократить скобы, поверните регулировочный болт (C).

7.

Подцепите рычаг регулятора колодки (C), затем установите его на тормозную колодку.

8.

Установите узел регулятора (B) и верхнюю возвратную пружину (A), как показано справа. направление. Будьте осторожны, чтобы не повредить пылезащитные крышки колесных цилиндров.

9.

Установите нижнюю возвратную пружину (В).

10.

Нанесите смазку для тормозных цилиндров или эквивалентную смазку для резины на направляющие. показаны поверхности. Не допускайте попадания смазки на тормозные колодки.

11.

Нанесите смазку для тормозных цилиндров или аналогичную резиновую смазку на тормоз. показаны концы обуви и противоположные края обуви. Не допускайте попадания жира на тормозные накладки.

12.

Установите задний тормозной барабан.

13.

Если колесный цилиндр был снят, прокачайте тормозную систему.

14.

Нажмите педаль тормоза несколько раз, чтобы включить саморегулирующийся тормоз.

15.

Отрегулируйте стояночный тормоз.

осмотр

Частое вдыхание пыли тормозных колодок, независимо от материала состава, может быть опасным для вашего здоровья.

Избегайте вдыхания частиц пыли.

Никогда не используйте воздушный шланг или щетку для очистки тормозных узлов.

Загрязненные тормозные колодки или барабаны снижают тормозную способность.

Заблокируйте передние колеса, прежде чем поднимать заднюю часть автомобиля домкратом.

1.

Поднимите заднюю часть автомобиля и убедитесь, что она надежно закреплена.

2.

Отпустите стояночный тормоз и снимите задний тормозной барабан.

3.

Проверьте колесный цилиндр (А) на наличие утечек.

4.

Проверьте тормозные колодки (В) на наличие трещин, остекления, износа и загрязнения.

5.

Измерьте толщину тормозной накладки (C). толщина обуви.

Толщина тормозных накладок

Стандарт: 4,5 мм (0,177 дюйма)

Предел обслуживания: 1,0 мм (0,039 дюйма)

6.

Если толщина тормозной накладки меньше предельно допустимой, замените тормозные колодки в комплекте.

7.

Проверьте подшипники в ступичном узле на плавность хода. Если это требует обслуживания, замените его.

8.

Измерьте внутренний диаметр тормозного барабана штангенциркулем.

Внутренний диаметр барабана

Стандарт: 203,2 мм (8,0 дюйма)

Предельный срок службы: 205,2 мм (8,079 дюйма)

Округлость барабана

Максимальный рабочий предел: 0,06 мм (0,00236 дюйма)

9.

Если внутренний диаметр тормозного барабана превышает эксплуатационный предел, заменить тормозной барабан.

10.

Проверьте тормозной барабан на наличие задиров, канавок и трещин.

11.

Осмотрите тормозную колодку и барабан на предмет надлежащего контакта.

12.

Осмотрите колесный цилиндр снаружи на наличие чрезмерного износа и повреждений.

13.

Осмотрите опорную пластину на наличие износа или повреждений.

Задний дисковый тормоз
Компоненты и расположение компонентов Компоненты 1. Направляющая троса Уровень 2. Корпус суппорта 3. Моментный элемент 4. Тормозная колодка 5. Возвратная пружина Ремонт ...
Выключатель стоп-сигнала
Компоненты и расположение компонентов Компоненты 1. Педаль тормоза в сборе 2. Выключатель стоп-сигнала 3. Рычаг педали тормоза Принципиальные диаграммы Ск...
Дополнительная информация:

Kia Rio 2017-2023 YB Service Manual: Power Mosfet (FATC)


Процедуры ремонта осмотр 1. Включите зажигание. 2. Вручную задействуйте переключатель управления и измерьте напряжение вентилятора. мотор. 3. Выберите переключатель управления, чтобы поднять напряжение до высокой скорости. ...

Руководство по эксплуатации Kia Rio 2017-2023 YB: Накладка полки (для 5-дверной)


Используйте крышку, чтобы спрятать предметы, хранящиеся в багажном отделении. Прикрывающая полка поднимается при открытии двери багажного отделения. Отключите ремешок (1) от держателя, если вы хотите вернуть крышку в исходное положение. Чтобы снять крышку полки полностью, поднимите крышку под углом 43 градуса и потяните ...