Kia Forte: Система кондиционирования воздуха/датчик температуры окружающего воздуха

Киа Kia Forte 2019-2023 (БД) Руководство по ремонту / Отопление, вентиляция, кондиционирование / Кондиционер / Датчик температуры окружающей среды

Описание и работа
Описание

Датчик температуры окружающей среды расположен в передней части конденсатора и определяет температура окружающего воздуха. Это термистор отрицательного типа; сопротивление увеличится с более низкой температурой и уменьшаться с более высокой температурой.

Выход датчика будет использоваться для контроля температуры нагнетания, температуры управление дверью, управление уровнем двигателя вентилятора, управление смешанным режимом и в автомобиле контроль влажности.

Если температура окружающей среды ниже 1,0°C (33,8°F), компрессор кондиционера остановится.

Компрессор будет работать вручную.

Процедуры ремонта
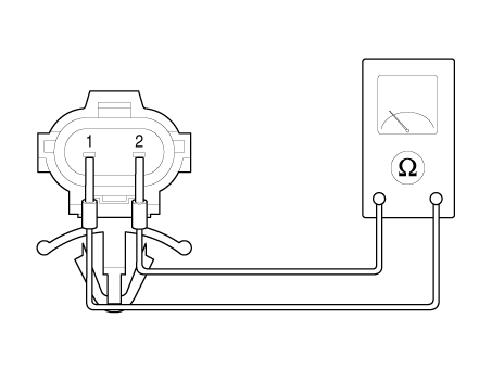
осмотр
1.

Проверьте сопротивление датчика температуры окружающего воздуха между клеммами. 1 и 2, изменяется ли она при изменении температуры окружающей среды.

1. Датчик окружающей среды (+)

2. Масса датчика

Спецификация

Температура окружающей среды
[°С (°Ф)]
Сопротивление между клеммами 1 и 2 (кОм)
-30 (-22)
480,41
-20 (-4)
271,21
-10 (14)
158,18
0 (32)
95.096
10 (50)
58.799
20 (68)
37.315
30 (86)
24.26
40 (104)
16.13
50 (122)
10,95

Замена
1.

Отсоедините отрицательную (-) клемму аккумуляторной батареи.

2.

Снимите крышку машинного отделения.

G 2.0 MPI NU (см. Механическая система двигателя — «Моторное отделение под Крышка")

G 1.6 MPI GAMMA (см. Механическая система двигателя — «Под моторным отделением»). Крышка")

D 1.6 TCI-NEW U (см. Механическая система двигателя — «Моторное отделение под Крышка")

G 1.6 T-GDI GAMMA (см. Механическая система двигателя — «Моторное отделение под Крышка")

3.

Отсоедините разъем, а затем снимите датчик температуры окружающего воздуха. (А).

4.

Для установки выполните процедуру удаления в обратном порядке.

Фотодатчик
Описание и работа Описание Фотодатчик расположен в центре форсунок оттайки. Фотодатчик содержит фотогальванический (чувствительный к солнечному свету) диод. Соль ...
Датчик автоматического предотвращения запотевания
Описание и работа Описание Датчик автозапотевания установлен на лобовом стекле. Датчик судит и посылает сигнал, если появляется влага, чтобы выдуть ветер для предотвращения запотевания ...
Дополнительная информация:

Kia Forte 2019-2023 (BD) Руководство по техническому обслуживанию: Активатор автозапотевания


Описание и работа Описание Датчик автозапотевания установлен на переднем стекле. Датчик оценивает и посылает сигнал, если появляется влага, чтобы выдуть ветер для предотвращения запотевания. Кондиционер модуль управления получает сигнал от датчика и удерживает влагу и...

Kia Forte 2019-2023 (BD) Сервис мануал: Зарядное устройство USB


Технические характеристики Технические характеристики Предметы Спецификация Рабочее напряжение 9 - 16,0 В Рабочая Температура -30 - +75°С Метод управления USB Принципиальные диаграммы ...