Kia Optima Hybrid: Электроусилитель руля / Процедуры ремонта рулевой колонки и вала

Замена
1.
Отсоедините отрицательный кабель аккумулятора от аккумулятора и подождите не менее 30 секунд.
2.
Поверните рулевое колесо так, чтобы передние колеса смотрели прямо вперед.
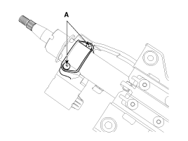
3.
Нажмите на штифт (А) и отсоедините модуль подушки безопасности от рулевого колеса.

4.
Отсоедините разъем модуля подушки безопасности (А) и разъем звукового сигнала (В), затем снимите модуль подушки безопасности с рулевого колеса.

5.
Отсоедините стопорную гайку (А) и разъем (В) и снимите рулевое колесо с вала рулевой колонки.

Момент затяжки :
39,2 ~ 49,0 Н·м (4,0 ~ 5,0 кгс·м, 28,9 ~ 36,2 фунт-фут)

Не стучите по рулевому колесу, чтобы снять его, это может повредить рулевую колонку.
6.
Ослабьте винт и снимите верхний (А) и нижний (В) кожухи рулевой колонки.

7.
Отсоедините разъем и снимите часовую пружину (А).

8.
Отсоедините разъем и винт, а затем снимите многофункциональные переключатели (А).

9.
Снимите защитную нижнюю панель.

10.
Ослабьте болт (А) и отсоедините узел универсального шарнира от шестерни рулевого механизма.

Момент затяжки :
29,4 ~ 34,3 Н·м (3,0 ~ 3,5 кгс·м, 21,7 ~ 25,7 фунт-фут)

Не используйте болт снова.
11.
Ослабьте винт и снимите душевой канал (А).

12.
Отсоедините все разъемы, подключенные к рулевой колонке.
13.
Снимите рулевую колонку, ослабив болты и гайки крепления.

Момент затяжки :
12,7 ~ 17,7 Н·м (1,3 ~ 1,8 кгс·м, 9,4 ~ 13,0 фунт-фут)

14.
Установка обратна снятию.
15.
Компенсируйте датчик угла поворота рулевого колеса после замены рулевой колонки.
Разборка
Универсальный шарнир в сборе
1.
Ослабьте болт (А) и затем отсоедините узел универсального шарнира от узла рулевой колонки.

2.
Сборка обратна разборке.
Ключевой замок в сборе
1.
С помощью пробойника сделайте канавку на головке специальных болтов (А).
2.
Ослабьте специальный болт с помощью отвертки, а затем снимите блок замка с рулевой колонки в сборе.

3.
Сборка обратна разборке.
осмотр
1.
Проверьте рулевую колонку на наличие повреждений и деформации.
2.
Проверьте шарнирный подшипник на наличие повреждений и износа.
3.
Проверьте кронштейн наклона на наличие повреждений и трещин.
4.
Проверьте правильность работы замка с ключом и при необходимости замените его.
Корректирование
После или перед обслуживанием системы EPS выполните Процедура устранения неполадок и проверки следующая. Сравните систему состояние с нормальным состоянием в таблице ниже и если ненормальное При обнаружении симптома выполните необходимые меры и осмотр.
Условия испытаний
Нормальное состояние: двигатель не должен обеспечивать усиление рулевого управления.
Симптом
Возможная причина
Средство
Иг выкл.
Мотор обеспечивает рулевое управление.
ASP не откалиброван.
Выполните калибровку ASP с помощью сканирующего прибора.
IG блоки питания
Осмотрите линию питания IG.

Условия испытаний
Нормальное состояние: электродвигатель не должен усиливать рулевое управление, горит контрольная лампа.
Симптом
Возможная причина
Средство
IG вкл/двигатель выключен
Мотор обеспечивает рулевое управление.
ASP не откалиброван.
Выполните калибровку ASP с помощью сканирующего прибора.
Сигнал EMS CAN не получен.
Осмотрите линию CAN.
Сигнальная лампа не горит.
Ошибка кластера
Осмотрите кластер и жгут кластера

Условия испытаний
Нормальное состояние: электродвигатель обеспечивает усиление рулевого управления, контрольная лампа не горит.
Симптом
Возможная причина
Средство
IG включен/двигатель включен
Горит контрольная лампа, и двигатель не обеспечивает помощь при рулевом управлении.
EPS (постоянно горячий) и неисправность источника питания IG
Осмотрите разъем и жгут для EPS (постоянно горячий) и линию питания IG.
DTC определяется системой.
Выполните самопроверку с помощью сканирующего устройства и отремонтируйте или замените.
Горит сигнальная лампа, и электродвигатель обеспечивает усиление рулевого управления.
ASP не откалиброван.
Выполните калибровку ASP с помощью сканирующего прибора.
Ошибка связи CAN между EPS и кластером.
Осмотрите линию CAN.

ASP: абсолютное положение руля
CAN: сеть контроллеров
EMS: система управления двигателем
Следующие симптомы могут возникать при обычном вождении автомобиля. работы, и если сигнальная лампа EPS не горит, это не неисправность системы EPS.
После включения зажигания рулевое колесо становится тяжелее, пока он выполняет диагностику системы EPS, примерно на 2 секунд, затем это становится нормальным состоянием рулевого управления.
После включения или выключения зажигания может появиться шум реле EPS, но это нормально.
При рулении, когда автомобиль стоит или движется с низкой скоростью, может возникать шум двигателя, но это нормальный рабочий шум.
Соблюдайте осторожность при калибровке ASP (абсолютное положение рулевого управления) или при распознавании типа EPS
Перед калибровкой ASP или распознаванием типа EPS проверьте, полностью ли заряжен аккумулятор.
Будьте осторожны, чтобы не отсоединить какие-либо кабели, подключенные к транспортному средству или сканирующему прибору, во время калибровки ASP или распознавания типа EPS.
Когда выполняется калибровка ASP или распознавание типа EPS. завершения, выключите зажигание и подождите несколько секунд, затем запустите двигатель, чтобы убедиться в нормальной работе автомобиля.
Калибровка АСП
1.
Выберите «Датчик угла поворота рулевого колеса».
2.
Продолжайте тест в соответствии с инструкцией на экране.

Процедура распознавания типа ЭЭС
1.
Выберите «Кодирование вариантов EPS».
2.
Продолжайте тест в соответствии с инструкцией на экране.

Компоненты и расположение компонентов

Компоненты 1. Рулевое колесо2. Рулевая колонка3. ЭБУ4. Мотор5. Коробка рулевого управления MDPS Схема жгута проводов Тип разъемаPin NoDescriptionBattery1Battery -2Battery +Vehicle1IGN2-3-4-5-6-7High_CAN8Low_CAN ...

Компоненты и расположение компонентов рулевого механизма

Компоненты 1. Наконечник поперечной рулевой тяги2. Контргайка3. Сильфон 4. Сильфонный бандаж5. Рулевая тяга6. Стойка 7. Пылезащитный чехол 8. Пылезащитный колпачок9. Сальник10. Вилка шестерни 11. Шестерня в сборе 12. Заглушка хомута 13. Хомут пружинный14. Поддерживающий хомут...

Дополнительная информация:

Kia Optima Hybrid (TF HEV) 2016-2020 Руководство по техническому обслуживанию: Процедуры ремонта ГБЦ


Снятие     • Используйте накладки на крылья, чтобы не повредить окрашенные поверхности. • Во избежание повреждения головки блока цилиндров перед ее снятием подождите, пока температура охлаждающей жидкости двигателя не упадет ниже нормальной температуры. • При обращении с металлической прокладкой будьте осторожны, чтобы не согнуть прокладку и не повредить контакт...

Kia Optima Hybrid (TF HEV) 2016-2020 Руководство по обслуживанию: Проверка компрессии


Проверка давления сжатия     Если наблюдается недостаток мощности, чрезмерный расход масла или плохая экономия топлива, измерьте давление сжатия. Двигатель может запуститься в любое время, когда автомобиль находится в режиме READY.1. Прогрейте и остановите двигатель. 1. Прогрейте и заглушите двигатель. Дайте двигателю...