Kia Stonic: Управление двигателем/топливная система/система подачи топлива

Руководство по ремонту Kia Stonic (YB) / Управление двигателем/топливная система / Система подачи топлива

Компоненты и обзор компонентов
РАСПОЛОЖЕНИЕ КОМПОНЕНТОВ
Топливный бак и заливная горловина

1
2
3. Крышка топливного насоса
4. Топливный шланг
5. Трубка регулировки высоты
6. Паровой шланг (угольный фильтр → впускной коллектор)
7. Паровой шланг (угольный баллон↔ топливный бак)
8. Паровой шланг (угольный фильтр → воздушный фильтр)
9. Паровой шланг (воздушный фильтр → давление воздуха)
10. Ремень топливного бака
11. Заливная горловина

топливный насос

1. головка блока цилиндров
2. Регулятор давления топлива
3. ТОПЛИВНЫЙ ФИЛЬТР
4. Топливный насос двигателя
5. Предварительный фильтр
6. Крышка контейнера
7. Датчик уровня топлива
8. Прокладка пластины топливного насоса
9. Топливный насос двигателя и разъем датчика
10. Подключение подачи топлива
11. Трубка подачи топлива

Топливопровод высокого давления

1. Насос высокого давления
2. Топливопровод высокого давления
3. Линия подачи
4. инжектор

При снятии топливного насоса высокого давления топливопровод высокого давления, линии подачи и инъекционном клапане существует риск получения травм Утечка топлива под высоким давлением. Итак, после стоянки подождите немного перед началом ремонтных работ.

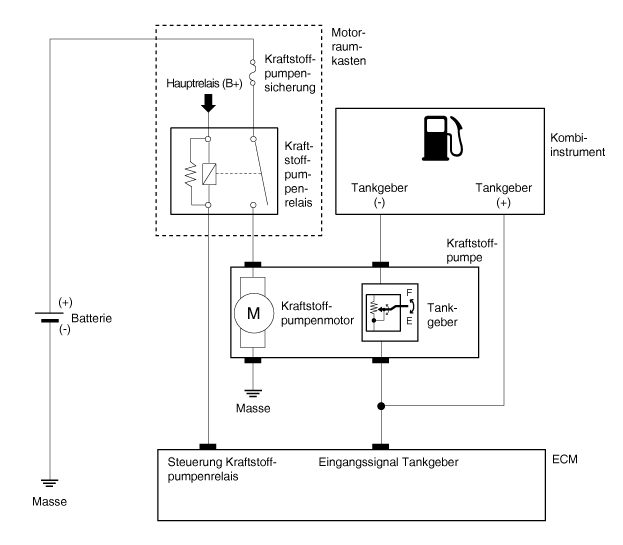
Схематические изображения
Схематические изображения

Проверка давления топлива (система низкого давления)
ПРОВЕРЬТЕ ДАВЛЕНИЕ ТОПЛИВА
1.

Сбросьте остаточное давление в топливопроводе.

(См. Подачу топлива — «Сброс остаточного давления в топливопроводе»)

При снятии реле бензонасоса код неисправности (DTC) изданный. После устранения остаточного давления в топливопроводе был удален, удалите код с помощью KDS.

2.

Установите специальный инструмент.

(1)

Отсоедините заливной шланг бака от линии подачи.

Может быть, даже после «остаточного давления в топливная магистраль» снята, остаточное давление все еще присутствует является. По этой причине кабельный сальник с Накройте тряпкой, чтобы предотвратить проливание топлива, когда топливопроводы отсоединены.

(2)

Специальный инструмент для измерения давления топлива между заливным шлангом бака и вставьте линию подачи (см. рисунок ниже).

3.

На штуцерах по линии подачи топлива, линии подачи и компоненты SST на утечку топлива при включенном зажигании. тест.

4.

Измерьте давление топлива.

(1)

Запустите двигатель и измерьте давление топлива на холостом ходу.

Давление топлива: 480 ~ 520 кПа (4,9 ~ 5,3 кг/см²)

Если значение давления топлива отклоняется от указанного значения, отремонтировать все связанные детали или заменять. (См. таблицу ниже.)

топливо
крышка
Вызванный
компонент
слишком низкий
Топливный фильтр забит
ТОПЛИВНЫЙ ФИЛЬТР
утечка
регулятор давления топлива
слишкомвысоко
Клапан регулировки давления топлива заедает
регулятор давления топлива

(2)

Остановите двигатель и проверьте, не изменилось ли показание манометра топлива. изменения.

Стандартные значения После выключения двигателя давление топлива должно поддерживаться в течение примерно 5 минут.

Если значение давления топлива не поддерживается все компоненты, которые важны для давления топлива отремонтировать или заменить (см. Табл.)

давление топлива
(после остановки двигателя)
Вызванный
компонент
ЧАСТЬ
Давление топлива падает медленно
Утечка инжектора
ИНЖЕКТОР
Давление топлива постепенно падает
Проверьте, не заедает ли клапан топливного насоса в открытом положении.
топливный насос

(3)

Выключите зажигание.

5.

Сбросьте остаточное давление в топливопроводе.

(См. Подачу топлива — «Сброс остаточного давления в топливопроводе»)

При снятии реле бензонасоса код неисправности (DTC) изданный. После устранения остаточного давления в топливопроводе был удален, удалите код с помощью KDS.

6.

конец теста

(1)

Снимите специальный инструмент с заливного шланга бака и линии подачи.

(2)

Подсоедините топливный шланг к подающей магистрали.

остаточное давление в топливной магистрали
Остаточное давление в топливной магистрали

Если предохранитель топливного насоса высокого давления, топливопровод линия подачи или инжекторный клапан сразу после отключения снятый с двигателя, он может быть поврежден высоким давлением, разбрызгивание топлива может привести к травме. Остаточное давление в топливной магистрали осушать. Процедура «Сброс остаточного давления топлива» обратите внимание перед любыми компонентами топливной системы высокого давления продлевать.

Наденьте защитные очки и топливостойкие перчатки.

1.

Выключите зажигание и отсоедините отрицательный (-) кабель аккумуляторной батареи.

2.

Снимите предохранитель топливного насоса (А).

3.

Снова подсоедините кабель заземления (-) аккумуляторной батареи.

4.

Запустите двигатель на 1 минуту, чтобы повысить давление в линии низкого давления. понижать.

5.

выключите двигатель.

6.

Отсоедините быстроразъемный соединитель линии низкого давления от насоса высокого давления. При отсоединении топливопровода закройте отверстие ветошью и слейте поймать топливо.

7.

Запустите двигатель и дайте ему поработать на холостом ходу, пока двигатель не остановится. здесь давление должно быть ниже 30 psi.

8-й.

Приступайте к работам по техническому обслуживанию и ремонту. При открытии системы высокого давления закройте отверстие тряпкой и соберите вытекающее топливо.

9.

Снятые детали устанавливаются в обратном порядке расширения. Запустите двигатель и убедитесь, что он работает правильно; проверьте, нет ли утечек топлива.

10

По завершении очистите коды ошибок на KDS (используя описанную выше процедуру установлен код ошибки).

переключатель капота
описание и работа Описание Выключатель капота также является одним из факторов, влияющих на расчет. функция ИСГ. При открытом капоте двигатель может...
топливный бак
Спецификации СПЕЦИФИКАЦИЯ компонент СПЕЦИФИКАЦИЯ Емкость топливного бака (л) 45л процедуры ремонта ...
Дополнительная информация:

Kia Stonic (YB) Руководство по ремонту: Датчик температуры охлаждающей жидкости


Компоненты и обзор компонентов ОБЗОР КОМПОНЕНТОВ 1. Штуцер охлаждающей жидкости 2. Уплотнительное кольцо 3. Блокировка корпуса термостата. 4. Корпус термостата с резиновым уплотнением. 5. Датчик температуры охлаждающей жидкости 6. Крышка термостата с уплотнительным кольцом 7. Блокировать термостат...