Kia Optima: система подвески / система контроля давления в шинах

Руководство по ремонту и обслуживанию Kia Optima DL3 2019-2023 гг. / Подвесная система / Система контроля давления в шинах

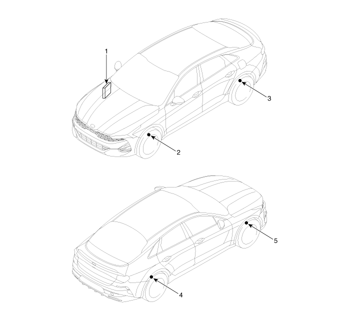
Компоненты и расположение компонентов
Компоненты

1. Встроенный блок управления кузовом (МСБ)
2. Датчик TPMS (FL)
3. Датчик TPMS (RL)
4. Датчик TPMS (RR)
5. Датчик TPMS (FR)

Описание и работа
Описание

Система контроля давления в шинах (TPMS) контролирует давление и температуру внутри шины, чтобы предупредить водителя об изменениях давления, которые могут повлиять на эксплуатации транспортного средства. Модуль управления TPMS анализирует информацию о беспроводной сети отсюда Другими словами, система определяет пневматическое давление в шинах и предупреждает водителя, если пневматическое давление падает ниже нормативного уровня.

Контрольная лампа низкого давления на приборной панели

Шина приборной панели низкого давления предупреждающий свет

Лампа ВКЛ/ВЫКЛ Условия, когда давление в шинах снижается или происходит утечка воздуха из Шина

1.

Лампа включена

Лампа загорается, когда давление в шинах падает ниже стандартный уровень.

2.

Лампа ВЫКЛ.

Низкое пневматическое давление: контрольная лампа гаснет, когда шина давление превышает давление, необходимое для выключения лампы.

Предупреждение о неисправности TPMS Лампа

1.

Предупреждающие условия и отображение

Когда система обнаруживает дефект во внешней операционной среде (низкое напряжение аккумулятора, ненормальная скорость автомобиля и т. д.), предупреждение лампа мигает около 1 минуты, а затем загорается.

2.

Лампа ВЫКЛ.

Контрольная лампа гаснет, когда код неисправности устранен. Код неисправности автоматически разрешается, когда система не получает никаких ошибок сигналы в течение 30 и более циклов зажигания после смены на предыдущую код неисправности.

Если это явление происходит во время вождения, следует проверить причину неисправности даже после устранения кода неисправности.

(Поверните ключ зажигания из положения OFF в положение ON. Затем проверьте состояние лампы.)

Контрольная лампа гаснет после устранения кода неисправности. Контрольная лампа остается включенной до тех пор, пока вы не выполните необходимую проверку. для устранения кода неисправности.

Если код неисправности устранен, контрольная лампа гаснет во время один и тот же цикл зажигания.

Если автомобиль заводится в течение 19 минут после замены колеса остановившегося автомобиля, индикатор неисправности TPMS на комбинации приборов горит.

Вышеупомянутый симптом возникает из-за сбоя связи между BCM и замененный идентификатор TPMS.

Этот индикатор сбоя связи отключается через 19 минут после остановки автомобиля через автоматический блок управления BCM. процесс обучения TPMS ID.

(При управлении автомобилем после остановки более 19 минут индикатор выключается автоматически.)

Системный дефект

1.

Общие операции

Система обнаруживает множество входных элементов для выявления потенциальных дефекты.

Приоритет дефекта зависит от его причины.

Некоторые дефекты не диагностируются как коды DTC.

К основным дефектам относятся следующие:

Для диагностики дополнительных признаков неисправности при включении зажигания неисправности линии, вы должны проверить контрольную лампу при включении зажигание включено.

Проверьте, загорается ли контрольная лампа, а затем выключается.

Поиск неисправностей
Метод проверки TPMS

осмотр

Найдите контрольный номер, обратившись к таблице выше.

Следующее содержание не имеет отношения к процедуре проверки.

1.

Типы сигнальных ламп

Горит не мигая : Контрольная лампа низкого давления в шинах

Постоянно мигает с интервалом в 0,5 секунды : Предупреждение о начальном состоянии лампа

Кластер мигает в течение 1 минуты с интервалом в 1 секунду, затем ВКЛ : Лампа предупреждения о коде ошибки

Выключите его, а затем снова включите, чтобы проверить тип сигнальной лампы.

2.

(1) Проверьте состояние контрольной лампы.

Проверьте состояние контрольной лампы автомобиля.

Проверьте, не вызвано ли состояние контрольной лампы низким давлением в шинах.

Симптом: Горит, не мигая.

3.

(2) Проверьте состояние контрольной лампы.

Проверьте состояние контрольной лампы автомобиля.

Проверьте, не вызвано ли состояние контрольной лампы исходным состоянием. (исходный режим) приемника TPMS.

4.

(3) Проверьте состояние контрольной лампы.

Проверьте состояние контрольной лампы автомобиля.

Проверьте, не вызвано ли состояние контрольной лампы кодом ошибки (TPMS). неисправность приемника и датчика TPMS).

Симптом: Кластер мигает в течение 1 минуты с интервалом в 1 секунду, затем включается.

5.

Контрольная лампа низкого давления в шинах

Холодный: автомобиль останавливается более 60 минут после остановки.

→ Дополнительный впрыск 0,07 кгс/см² (1,0 фунт/кв. дюйм) при указанном давлении в шинах.

Горячее: Транспортное средство

→ Дополнительный впрыск 0,28 кгс/см² (4,0 фунта на кв. дюйм) при указанном давлении в шинах.

Если контрольная лампа не гаснет после инъекции в шину давления, отключите KDS и проедьте менее 1 км со скоростью 25 км/ч.

6.

Осмотрите контрольную лампу исходного состояния

А.

сигнальная лампа TPMS

(1) Проверьте состояние контрольной лампы TPMS.

(2) Постоянно мигает с интервалом в 0,5 секунды. -> Исходное состояние сигнальная лампа

Выключите его, а затем снова включите, чтобы проверить тип контрольной лампы.

Б.

Что нужно проверить в случае мигания контрольной лампы

(1) Введите идентификатор датчика.

(См. Приемник TPMS — «Процедуры ремонта»)

(2) Введите название автомобиля.

(См. Приемник TPMS — «Процедуры ремонта»)

(3) Введите VIN-код.

(См. Приемник TPMS — «Процедуры ремонта»)

(4) Измените режим ЭБУ TPMS (на стандартный режим).

7.

Контрольный список DTC для проверки производительности.

Список
симптомы
Пункты проверки
Подробный контрольный список
Компоненты
C1312 (Флорида)
C1313 (фр.)
C1314 (РЛ)
C1315 (РР)
Датчик TPMS получает ошибку.
Состояние радиочастотной передачи датчика
Подтвердите радиочастотную передачу датчика
Проверьте датчик DTC
Осмотрите батарею датчика
Датчик TPMS
Шум электронных блоков автомобиля
Условия эксплуатации автомобиля
C1332 (Флорида)
C1333 (фр.)
C1334 (РЛ)
C1335 (РР)
Внутренняя неисправность датчика
Осмотрите радиочастотную передачу датчика
Напряжение батареи датчика
Проверьте радиочастотную передачу датчика
Проверьте батарею датчика (KDS)
Датчик TPMS
C1662
Сбой автоматического обучения
Состояние радиочастотной передачи датчика
Проверьте скорость автомобиля EMS (VS)
Проверить шум автомобиля
Подтвердите радиочастотную передачу датчика
Осмотрите батарею датчика
Проверьте скорость автомобиля EMS (VS)
Проверить шум электронного блока автомобиля.
Датчик TPMS
Шум электронных блоков автомобиля
Состояние автомобиля
Сигнал скорости автомобиля EMS
C1663
Сбой автоматического обучения
Состояние радиочастотной передачи датчика
Проверьте скорость автомобиля EMS (VS)
Проверить шум автомобиля
Подтвердите радиочастотную передачу датчика
Осмотрите батарею датчика
Проверьте скорость автомобиля EMS (VS)
Проверить шум электронного блока автомобиля.
Датчик TPMS
Шум электронных блоков автомобиля
Состояние автомобиля
Сигнал скорости автомобиля EMS

Обязательно проверьте DTC.

(См. руководство по коду неисправности «Контроль давления в шинах»)

Если контрольная лампа TPMS не загорается: Датчик TPMS периодически учит датчик через вождение.

Если загорается контрольная лампа TPMS: Замените датчик TPMS, Приемник TPMS.

Выравнивание
Процедуры ремонта Схождение передних колес • При использовании имеющегося в продаже компьютеризированного ...
Датчик TPMS
Описание и работа Описание 1. Функция • Определяя давление, температуру, ускорение и аккумулятор состояние, тра...
Дополнительная информация:

Руководство по ремонту и обслуживанию Kia Optima DL3 2019-2023: Передняя стойка в сборе


Компоненты и расположение компонентов Компоненты 1. Стойка в сборе 2. Пылезащитный колпачок изолятора 3. Изолятор 4. Пружинная верхняя накладка 5. Подшипник стойки 6. Накладка подшипника стойки 7. Резина бампера 8. Спиральная пружина 9. Пружинная нижняя накладка Процедура ремонта...

Руководство по эксплуатации Kia Optima DL3 2019-2023: Интегрированная система управления режимом движения


■ Тип А ■ Тип Б ■ Тип С Режим движения можно выбрать в соответствии с предпочтениями водителя или дорожными условиями. Режим меняется при каждом нажатии кнопки DRIVE MODE. ЭКО-режим (Активный ЭКО) Active ECO помогает повысить эффективность использования топлива, контролируя определенный двигатель и трансмиссию ...