Kia Picanto: Тормозная система / Задний барабанный тормоз

Руководство по ремонту и обслуживанию Kia Picanto JA 2017-2023 гг. / Тормозная система / Тормозная система / Задний барабанный тормоз

Компоненты и расположение компонентов
Компоненты

1. Прижимной штифт башмака
2. Регулятор обуви
3. Верхняя возвратная пружина
4. Регулировочный рычаг
5. Обувь
6. Регулировочная пружина
7. Нижняя возвратная пружина
8. Пружина крепления башмака

Процедуры ремонта
Удаление
Частое вдыхание пыли тормозных колодок, независимо от состава материала, может быть опасным для здоровья.
Избегайте вдыхания частиц пыли.
Никогда не используйте воздушный шланг или щетку для очистки тормозных узлов.
1.
Снимите заднее колесо и шину.
Момент затяжки:
88,3–107,9 Н·м (9,0–11,0 кгс·м, 65,1–79,6 фунт-фут)
2.
Отпустите стояночный тормоз.
3.
Ослабьте винт (В) и снимите задний тормозной барабан (А).

4.
Снимите нижнюю возвратную пружину (А).

5.
Снимите верхнюю возвратную пружину (А).

6.
Удалять пружины крепления колодки (A) и штифты крепления колодки (B), а затем снимите тормоз башмак (С). Следите за тем, чтобы не повредить пылезащитную крышку на колесном цилиндре.

7.
Снимите трос стояночного тормоза (А), а затем снимите тормозную колодку (В).

8.
Снимите датчик скорости заднего колеса.
(См. Система ESC (электронная система контроля устойчивости) — «Датчик скорости заднего колеса»)
9.
Отсоедините тормозные трубки (А) от колесного цилиндра (В).

10.
Снимите болты (C) и колесный цилиндр (B) с опорной пластины (D).
Монтаж
Делать не проливать тормозную жидкость на автомобиль: это может повредить краску; если тормоз жидкость контактирует с краской. Немедленно смойте водой.
Во избежание разлива накройте соединения шлангов тряпками или салфетками.
Используйте только оригинальный специальный болт колесного цилиндра.
1.
Нанесите герметик между колесным цилиндром (B) и опорной пластиной (D) и установите колесный цилиндр.
Момент затяжки (болты C):
9,8–12,7 Н·м (1,0–1,3 кгс·м, 7,2–9,4 фунт-фут)

2.
Подсоедините тормозные трубки (А) к колесному цилиндру.
Момент затяжки:
12,7–16,7 Н·м (1,3–1,7 кгс·м, 9,4–12,3 фунт-фут)
3.
Подсоедините трос стояночного тормоза (А) к тормозной колодке.

4.
Установите тормозные колодки (С) на опорную пластину. Будьте осторожны, чтобы не повредить пылезащитные крышки колесных цилиндров.

5.
Установите штифты отверстия башмака (B) и пружины отверстия башмака (A).
6.
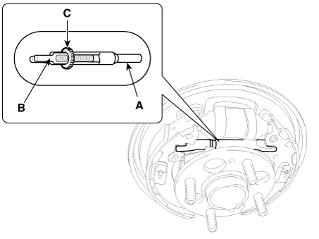
Чистый резьбовые части регулировочной втулки (A) и внутренней части толкателя (B). Смажьте резьбу узла регулятора консистентной смазкой. Чтобы сократить скобы, поверните регулировочный болт (C).

7.
Подцепите рычаг регулятора колодки (C), затем установите его на тормозную колодку.

8.
Установить узел регулятора (B) и верхняя возвратная пружина (A), как справа направление. Будьте осторожны, чтобы не повредить пылезащитные крышки колесных цилиндров.

9.
Установите нижнюю возвратную пружину (В).

10.
Нанесите смазку для тормозных цилиндров или аналогичную смазку для резины на показанные поверхности скольжения. Не допускайте попадания смазки на тормозные колодки.

11.
Применять смазка для тормозных цилиндров или аналогичная резиновая смазка для тормозных колодок показаны концы и противоположные края обуви. Не допускайте попадания жира на тормозные накладки.

12.
Установите задний тормозной барабан (А).
Момент затяжки:
4,9–5,9 Н·м (0,5–0,6 кг·м, 3,6–4,3 фунт·фут)

13.
Если колесный цилиндр был снят, прокачайте тормозную систему.
14.
Нажмите педаль тормоза несколько раз, чтобы включить саморегулирующийся тормоз.
15.
Отрегулируйте стояночный тормоз.
осмотр
Частое вдыхание пыли тормозных колодок, независимо от состава материала, может быть опасным для здоровья.
Избегайте вдыхания частиц пыли.
Никогда не используйте воздушный шланг или щетку для очистки тормозных узлов.
Загрязненные тормозные колодки или барабаны снижают тормозную способность.
Заблокируйте передние колеса, прежде чем поднимать заднюю часть автомобиля домкратом.
1.
Поднимите заднюю часть автомобиля и убедитесь, что она надежно закреплена.
2.
Отпустите стояночный тормоз и снимите задний тормозной барабан.
3.
Проверьте колесный цилиндр (А) на наличие утечек.

4.
Проверьте тормозные колодки (В) на наличие трещин, остекления, износа и загрязнения.
5.
Измерьте толщину тормозной накладки (C). Измерение не включает толщину тормозной колодки.
Толщина тормозных накладок
Стандарт: 4,0 ~ 4,7 мм (0,1575 ~ 0,1850 дюйма)
Предел обслуживания: 1,0 мм (0,039 дюйма)
6.
Если толщина тормозных накладок меньше предельно допустимой, замените тормозные колодки комплектом.
7.
Проверьте подшипники в ступичном узле на плавность хода. Если он требует обслуживания, замените его.
8.
Измерьте внутренний диаметр тормозного барабана штангенциркулем.
Внутренний диаметр барабана
Стандарт: 180 мм (7,087 дюйма)
Ограничение по эксплуатации: 182 мм (7,165 дюйма)
Округлость барабана
Максимальный рабочий предел: 0,06 мм (0,00236 дюйма)

9.
Если внутренний диаметр тормозного барабана превышает эксплуатационный предел, замените тормозной барабан.
10.
Проверьте тормозной барабан на наличие задиров, канавок и трещин.
11.
Осмотрите тормозную колодку и барабан на предмет надлежащего контакта.

12.
Осмотрите колесный цилиндр снаружи на наличие чрезмерного износа и повреждений.
13.
Осмотрите опорную пластину на наличие износа или повреждений.
Задний дисковый тормоз
Компоненты и расположение компонентов Компоненты 1. Возвратная пружина 2. Тормозная колодка в сборе [НАРУЖНАЯ] 3. Тормозная колодка в сборе [ВХОД] 4. Накладка колодки 5. Тормозной элемент 6. Корпус суппорта 7. Направляющая троса Ре ...
Выключатель стоп-сигнала
Компоненты и расположение компонентов Компоненты 1. Тормозной элемент в сборе 2. Выключатель стоп-сигнала 3. Рычаг педали тормоза в сборе 4. Накладка педали тормоза Принципиальные диаграммы Схематическая диаграмма ...
Дополнительная информация:

Руководство по ремонту и обслуживанию Kia Picanto JA 2017-2023: Главный цилиндр сцепления


Компоненты и расположение компонентов Компоненты [Каппа 1.0 Т-ГДИ] 1. Педаль сцепления в сборе 2. Замок зажигания и выключатель сцепления 3. Главный цилиндр 4. Регулятор сцепления 5. Трубка сцепления Процедуры ремонта Удаление 1.Выключите зажигание и отсоедините отрицательный (-) аккумулятор...

Руководство по ремонту и обслуживанию Kia Picanto JA 2017-2023: Система круиз-контроля


Описание и работа Описание система круиз-контроля включается главным выключателем круиз-контроля «ON/OFF» расположен справа от рулевой колонки. Система имеет возможность для круиза, движения по инерции, ускорения и возобновления скорости. Он также имеет прерывание безопасности, срабатывающее при нажатии br ...