Kia Forte: система интеллектуального круиз-контроля / блок интеллектуального круиз-контроля

Киа Kia Forte 2019-2023 (БД) Руководство по ремонту / Электрическая система двигателя / Умная система круиз-контроля / Блок интеллектуального круиз-контроля

Технические характеристики
Спецификация

Элемент
Спецификация
Источник питания (В)
12
Рабочее напряжение (В)
9 - 16

Компоненты и расположение компонентов
Расположение компонента

Описание и работа
Описание

Блок интеллектуального круиз-контроля установлен в передней правой части автомобиля. шасси. Радарный датчик встроен в переднюю часть устройства. Этот датчик Обнаруживает транспортные средства и объекты перед автомобилем. Радарный датчик может обнаруживать до 64 объектов впереди автомобиля. Сигнализация срабатывает, когда автомобиль отклоняется от опорных точек горизонтального и вертикального выравнивания во время работы. Этот датчик связывается с приборной панелью, предупреждающим зуммером, интеллектуальным переключателем круиз-контроля, Электронная программа стабилизации (ESP), ECM и TCM по шине CAN. Датчик контролирует скорость автомобиля через CAN-связь между системой электронной стабилизации Программа (ESP) системы и ECM и TCM.

Принципиальные диаграммы
Принципиальная электрическая схема

Процедуры ремонта
Удаление
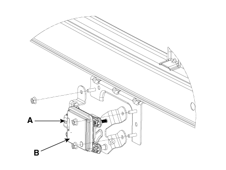
1.

Снимите передний бампер.

(См. Кузов (внутри и снаружи) — «Передний бампер в сборе»)

2.

Отсоедините разъем радара SCC и FCA (A).

3.

Снимите радар SCC и FCA (B) после ослабления крепежных гаек.

Монтаж
1.

Установите в порядке, обратном снятию.

2.

Выровняйте процедуру вариантного кодирования.

(См. Регулировку - «Вариант кодирования»)

3.

Выровняйте радарный датчик интеллектуального круиз-контроля.

(См. Регулировку - «Настройка интеллектуального круиз-контроля (SCC))».

Корректирование

Вариантное кодирование

1.

Выключите зажигание.

2.

Подключите KDS к разъему канала передачи данных (DLC).

3.

Включите зажигание.

4.

Выберите «Автомобиль, Год выпуска, Двигатель, Система».

5.

Выберите «Управление программным обеспечением автомобиля».

6.

Выполнить вариантное кодирование.

Настройка датчика интеллектуального круиз-контроля (SCC)

Система Smart Cruise Control (SCC) предназначена для предотвращения потенциального столкновения. или уменьшить его влияние, когда водители применяют неадекватные, запаздывающие тормоза или вообще не тормозят чтобы избежать столкновения.

Чтобы радарный датчик работал правильно, он должен быть правильно выровнен. параллельно направлению движения автомобиля. По этой причине радарный датчик Процедура юстировки должна выполняться каждый раз после повторной установки датчика. или заменить на новый.

Если процедура юстировки датчика не выполняется в указанных условиях выше, интеллектуальная система круиз-контроля может работать неправильно.

Выравнивание радарного датчика SCC требуется, когда:

Блок FCC установлен или заменен новым.

Радарный датчик или окружающие детали подвергаются удару при столкновении.

Датчик не обнаружил движущееся впереди транспортное средство.

Датчик угла поворота рулевого колеса (SAS) заменен или отрегулирован.

Датчик не может распознать транспортное средство впереди:

Установите автомобиль на ровной поверхности.

Снимите тяжелый багаж с сидений или багажника автомобиля.

Установите все шины в соответствии с указанным давлением.

Проверьте сход-развал колес.

Убедитесь, что передняя поверхность блока SCC чистая.

Интеллектуальный круиз-контроль (SCC) Радарное выравнивание

1.

Остановите автомобиль горизонтально на ровном месте.

Регулировка может быть неточной, если поверхность установки высота и угол наклона автомобиля и отражателя различны.

Выполняйте в зоне с минимальным просветом 8 м (26,2 футов) спереди, 4 м (13,1 фута) по бокам и 1,2 м (3,9 фута) над транспортное средство.

Уберите тяжелые предметы из салона автомобиля (сиденья). площадь и багажник).

Убедитесь, что все шины накачаны воздухом под номинальным давлением.

Удалите предметы (металлические пластины, смолы и т. д.), которые могут вызвать помехи электрического сигнала из области, где датчик выполняется выравнивание.

Убедитесь, что автомобиль не движется и не испытывает вибрации. при выполнении выравнивания датчика (вход/выход или открытие/закрытие двери).

Убедитесь, что решетка радиатора и крышка датчика не загрязнены.

Убедитесь, что углы установки колес в норме.

Не выключайте питание при выполнении юстировки датчика.

Напряжение, подаваемое на радарный датчик, должно быть в пределах 9–16 В.

Температура в зоне, где выполняется юстировка датчика должна быть в пределах от -30 до 60 °C (от -22 до 140 °F).

2.

Отметьте центральную точку эмблемы (A) и центральную точку над ветром. стекло (Б).

3.

Подсоедините калибровочный лазер SCC (номер SST: 09964-C1200) к штативу. (№ по спецификациям: 09964-C1300).

4.

Используя калибровочный отражатель SCC [SST No.: 09964-C1100] (A), отрегулируйте проволоку (D) так, чтобы центральная точка эмблемы (B) и центральная точка на земле (С) перпендикулярны друг другу.

5.

Установите вертикальный/горизонтальный лазер [SST No.: 09964-C1200] (A) в на расстоянии более 4,2 м (12,5 футов) от передней части автомобиля.

6.

Совместите вертикальную линию лазера с (A) и (B), используя вертикальную/горизонтальную лазер (C) [№ SST: 09964-C1200].

7.

Отметьте (C) на расстоянии 1,0–3,8 м (3,3–12,5 фута) от (A) впереди автомобиля.

8.

Извлеките калибровочный лазер SCC [№ SST: 09964-C1200] (B) из штатив [SST №: 09964-C1300] (A).

9.

Установите отражатель [SST No.: 09964-C1100] (B) на штатив [SST No. №: 09964-C1300] (А).

10.

Совместите вертикальный груз (B) калибровочного отражателя SCC [SST No. : 09964-C1100] (A) с точкой (C).

11.

Используя пузырьковый уровень (B) штатива [SST No.: 09964-C1300] (A), установите отражатель горизонтально.

12.

Установите высоту калибровочного отражателя SCC [№ SST: 09964-C1100]. (A) до 330 мм (13,0 дюймов).

13.

Еще раз проверьте радарный датчик и поверхность переднего бампера на наличие Следите за предметами глазами.

Визуально убедитесь, что отражающая сторона рефлектора выравнивается с передней частью автомобиля.

Убедитесь в отсутствии мусора или отражающих объектов. на поверхности радара.

Убедитесь в отсутствии мусора или отражающих объектов. на решетке радиатора.

14.

Подключите KDS к DLC автомобиля и начните выравнивание датчика.

Если двигатель работает, вибрация может привести к неточным выравнивание датчика, поэтому выравнивание датчика следует выполнять в режиме IG ON.

15.

После правильного выбора модели автомобиля выберите «Выравнивание радарного датчика». из вспомогательных функций в меню KDS.

16.

Выполните выравнивание датчика, следуя указаниям, показанным в KDS. монитор.

17.

В случае сбоя выравнивания датчика проверьте условия выравнивания. Выключите зажигание, затем повторите процедуру юстировки датчика.

осмотр

Процедуры проверки неисправности системы интеллектуального круиз-контроля:

1.

Проверьте внешний вид бампера и историю аварий (внешний вид бампера). автомобиль, история обслуживания и замены бампера).

→ Если автомобиль попал в аварию, высока вероятность того, что монтажная деталь SCC быть скрученным.

2.

Проверьте, не загрязнена ли крышка радарного датчика на бампере.

→ Если крышка грязная, высока вероятность того, что SCC будет выпущен посторонним вещества во время работы.

3.

После запуска двигателя проверьте предупреждающее сообщение SCC на кластере и DTC. код. (См. руководство по кодам неисправности.)

4.

После запуска двигателя остановитесь более чем на 5 секунд.

→ Если инициализация системы (компенсация смещения датчика скорости рыскания) не завершена, SCC не будет работать.

Умная система круиз-контроля
Общие сведения о безопасности и предостережения Общие сведения о безопасности и предостережения Будьте осторожны при управлении автомобилем с использованием интеллектуальной системы круиз-контроля, т.к. следует. ...
Умный переключатель круиз-контроля
Компоненты и расположение компонентов Компоненты 1. Правый переключатель дистанционного управления (путевой компьютер + SCC) Принципиальные диаграммы Принципиальная электрическая схема ...
Дополнительная информация:

Kia Forte 2019-2023 (BD) Сервис мануал: Подлокотник задний задний


Процедуры ремонта Замена [Тип спинки скамейки] • При удалении плоской отверткой или съемником оберните защитная лента вокруг инструментов для предотвращения повреждения компонентов. ...

Kia Forte 2019-2023 (BD) Руководство по ремонту: Регулятор сцепления


Компоненты и расположение компонентов Компоненты [Бензин 2.0] 1. Педаль сцепления в сборе 2. Рычаг педали сцепления 3. Замок зажигания и переключатель сцепления 4. Главный цилиндр сцепления 5. Шланг резервуара 6. Трубка сцепления 7. Регулятор сцепления ...