Kia Forte: механическая система двигателя/головка блока цилиндров в сборе

Киа Kia Forte 2019-2023 (БД) Руководство по ремонту / Механическая система двигателя / Головка цилиндра в сборе

Компоненты и расположение компонентов
Компоненты

1. Крышка головки блока цилиндров
2. Прокладка крышки головки блока цилиндров
3. Головка цилиндра в сборе
4. Прокладка ГБЦ
5. Крышка подшипника распредвала
6. Крышка переднего подшипника распределительного вала.
7. Уплотнительное кольцо
8. Выпускной OCV (масляный регулирующий клапан)
9. Адаптер выпускного клапана OCV (клапан управления маслом)

1. Распредвал выпускных клапанов
2. Впускной распредвал
3. Выхлоп CVVT в сборе
4. Впускной CVVT в сборе
5. Механический регулятор зазора (MLA)
6. Замок фиксатора
7. Фиксатор
8. Уплотнение штока клапана
9. Пружина клапана
10. Седло пружины клапана
11. Впускной клапан
12. Выпускной клапан
13. Впускной масляный регулирующий клапан (OCV)

Регулировка зазора клапана
Проверка и регулировка зазоров клапанов

Осмотрите и отрегулируйте зазор клапанов на холодном двигателе (двигатель температура охлаждающей жидкости: 20°C) и головка блока цилиндров установлена ​​на цилиндр блокировать.

1.

Снимите крышку головки блока цилиндров.

(См. раздел Головка цилиндра в сборе — «Крышка головки цилиндра»)

2.

Установите цилиндр №1 в ВМТ/сжатие.

(1)

Поверните шкив коленчатого вала и совместите его канавку с фазой газораспределения. метка на крышке цепи ГРМ.

(2)

Убедитесь, что метки впускной и выпускной звездочек CVVT находятся на прямой линии на поверхности головки блока цилиндров, как показано на иллюстрация. В противном случае проверните коленчатый вал на один оборот (360°).

Не поворачивайте демпферный шкив коленчатого вала против часовой стрелки.

(3)

Пометьте звенья цепи ГРМ в соответствии с метками ГРМ. на звездочках CVVT несмываемым маркером.

3.

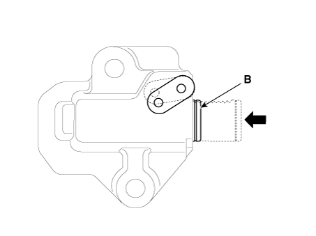
Снимите переходник (А) клапана управления выпускным маслом (OCV).

4.

Осмотрите зазор клапана.

(1)

Проверяйте только впускные клапаны 1-го и 2-го цилиндров и выпускные клапаны 1-го и 3-го цилиндров на предмет их зазора.

С помощью толщиномера измерьте зазор между толкатель и базовый круг распределительного вала.

Запишите значения зазоров клапанов, не соответствующие спецификации. Они будут использованы позже для определения необходимого толкателя. для регулировки.

Спецификация клапанного зазора (температура охлаждающей жидкости двигателя : 20°C [68°F])

Ограничение

Впуск: 0,17–0,23 мм (0,0067–0,0091 дюйма)

Выхлоп: 0,32–0,38 мм (0,0126–0,0150 дюйма)

(2)

Поверните шкив коленчатого вала на один оборот (по часовой стрелке на 360°) и совместите его канавку с установочной меткой на крышке цепи привода ГРМ.

(3)

Проверьте впускные клапаны 3-го и 4-го цилиндров и выпускные клапаны 2-го и 4-го цилиндров на предмет их зазора.

5.

Снимите опорный кронштейн крепления двигателя.

(1)

Ставим домкрат под масляный поддон.

Поместите деревянный брусок между домкратом и масляным поддоном. во избежание повреждения масляного поддона.

(2)

Снимите кабель заземления двигателя (А).

(3)

Снимите опорный кронштейн крепления двигателя (А).

(4)

Слегка приподнимите двигатель с помощью домкрата, чтобы освободить место для высвобождения. натяжитель цепи ГРМ.

6.

Отрегулировать зазор впускного и выпускного клапанов.

(1)

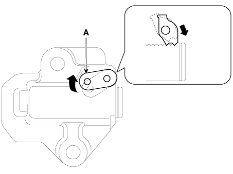
Выверните болт (А) из сервисного отверстия в цепи привода ГРМ. крышка.

(2)

Заблокируйте натяжитель цепи ГРМ в полностью втянутом положении.

Вставьте отмычку в сервисное отверстие в крышке цепи привода ГРМ. и опустите отверстие в левой части храповой пластины (A) на натяжитель, чтобы собачка (B: расположена внутри натяжителя за храповой пластиной) для подъема.

(3)

Снимите крышки подшипников распределительных валов (А) в порядке, указанном ниже.

(4)

Когда собачка поднята, попросите помощника поднять выпускной CVVT. и распределительный вал (A), чтобы позволить плунжеру натяжителя (B) втянуться.

(5)

Когда поршень натяжителя находится в полностью втянутом положении, поднимите отверстие в левой части храповой пластины (A) снова через сервисное отверстие в крышке цепи для совмещения отверстия пластины с храповым механизмом с отверстием в корпусе натяжителя за храповой пластиной, затем заблокируйте натяжитель, вставив отмычку через храповую пластину и отверстия корпуса натяжителя.

(6)

Отделите выпускной распределительный вал (А) от выпускного CVVT, сняв болт.

(7)

Снимите выпускной CVVT (A) с цепи привода ГРМ.

(8)

Снимите впускной CVVT и распределительный вал (A).

Закрепите цепь ГРМ тросом на подвеске двигателя. стяжка или ремень, чтобы цепь ГРМ не спадала при снятии впускного CVVT и распределительного вала.

(9)

Снимите толкатель(и) с клапанным зазором, не соответствующим спецификации. от головки блока цилиндров.

(10)

Измерьте толщину снятого толкателя с помощью микрометра.

(11)

Рассчитайте толщину нового толкателя так, чтобы зазор клапана входит в указанное значение.

Клапанный зазор (температура охлаждающей жидкости двигателя: 20°C)

T : Толщина снятого толкателя.

A : Измеренный зазор клапана

N : Толщина нового толкателя

Впуск: N = T + [A - 0,20 мм (0,0079 дюйма)]

Выхлоп: N = T + [A - 0,25 мм (0,0098 дюйма)]

(12)

Выберите новый толкатель толщиной как можно ближе к расчетное значение.

Прокладки доступны в 41 размере с шагом 0,015 мм. (0,0006 дюйма) от 3,00 мм (0,118 дюйма) до 3,690 мм (0,1417 дюйма). в.)

(13)

Установите новый толкатель на головку блока цилиндров.

(14)

Установите впускной CVVT и распределительный вал (A) с установочной меткой. на впускной звездочке CVVT совмещена с меткой (нарисовано звено) на цепи ГРМ.

(15)

Установите выпускной CVVT (A) с установочной меткой на выпускном клапане. Звездочка CVVT совмещена с меткой (окрашенное звено) на ГРМ. цепь.

(16)

Установите распределительный вал выпускных клапанов (А) на выпускной CVVT.

(17)

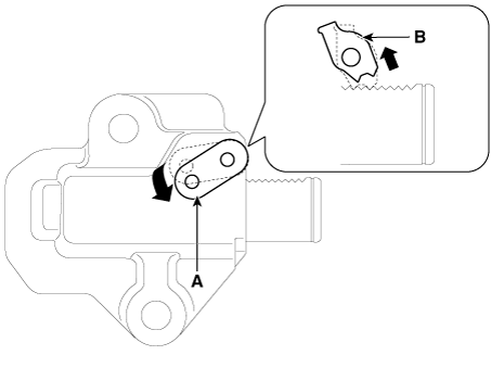
Выньте отмычку из сервисного отверстия в крышке цепи привода ГРМ.

(18)

Убедитесь, что каждая установочная метка на впускной и выпускной звездочках CVVT выравнивается, как показано на картинке.

(19)

Установите болт (А) в сервисное отверстие в цепи привода ГРМ. крышка.

Момент затяжки :

27,5–30,4 Н·м (2,8–3,1 кгс·м, 20,3–22,4 фунт-фут)

(20)

Установите опорный кронштейн крепления двигателя.

(1)

Установите опорный кронштейн крепления двигателя (А).

Момент затяжки

Гайка (В):

88,3 - 107,9 Н·м (9,0 - 11,0 кгс·м, 65,1 - 79,6 фунт·фут)

Болты и гайки (С):

58,8 - 73,5 Н·м (6,0 - 7,5 кгс·м, 43,4 - 54,2 фунт·фут)

(2)

Установите кабель заземления двигателя (А).

(3)

Снимите домкрат с масляного поддона.

(21)

Установите крышки подшипников распределительных валов в порядке, указанном ниже.

Момент затяжки

Болты М6:

11,8–13,7 Н·м (1,2–1,4 кгс·м, 8,7–10,1 фунт·фут)

Болты М8:

18,6–22,6 Н·м (1,9–2,3 кгс·м, 13,7–16,6 фунт-фут)

(22)

Поверните коленчатый вал на два оборота в рабочем направлении (по часовой стрелке). и убедитесь, что метки впускной и выпускной звездочек CVVT находятся на прямой линии на поверхности головки блока цилиндров.

(23)

Перепроверьте зазор клапана.

Клапанный зазор (температура охлаждающей жидкости двигателя: 20°C)

[Спецификация]

Впуск: 0,17–0,23 мм (0,0067–0,0091 дюйма)

Выхлоп: 0,22–0,28 мм (0,0087–0,0110 дюйма)

(24)

Установите переходник (A) клапана управления выпускным маслом (OCV).

Момент затяжки :

9,8–11,8 Н·м (1,0–1,2 кгс·м, 7,2–8,7 фунт-фут)

(25)

Установите крышку головки блока цилиндров.

(См. раздел Головка цилиндра в сборе — «Крышка головки цилиндра»)

Цилиндрический блок
Процедуры ремонта Разборка • Используйте накладки на крылья, чтобы не повредить окрашенные поверхности. ...
Крышку головки блока цилиндров
Компоненты и расположение компонентов Компоненты 1. Крышка головки блока цилиндров 2. Прокладка крышки головки блока цилиндров 3. Масляная крышка 4. Упаковка чашки Процедуры ремонта ...
Дополнительная информация:

Kia Forte 2019-2023 (BD) Руководство по эксплуатации: Кондиционер


Системы кондиционирования Киа заправлен хладагентом R-1234yf. 1. Запустите двигатель. Нажмите на кондиционер кнопка. 2. Установите режим в положение. 3. Установите регулятор забора воздуха наружу. воздушное или рециркуляционное воздушное положение. 4. Отрегулируйте скорость вращения вентилятора и контроль температуры т ...

Kia Forte 2019-2023 (BD) Руководство по ремонту: Регулятор сцепления


Компоненты и расположение компонентов Компоненты [Бензин 2.0] 1. Педаль сцепления в сборе 2. Рычаг педали сцепления 3. Замок зажигания и переключатель сцепления 4. Главный цилиндр сцепления 5. Шланг резервуара 6. Трубка сцепления 7. Регулятор сцепления ...