Kia Forte: система DCT (коробка передач с двойным сцеплением) / система управления коробкой передач с двойным сцеплением

Киа Kia Forte 2019-2023 (БД) Руководство по ремонту / Система DCT (трансмиссия с двойным сцеплением) / Система управления коробкой передач с двойным сцеплением

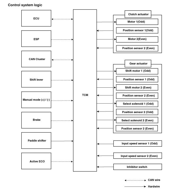
Описание и работа
Описание

Система управления Dual Clutch Transmission (DCT) измеряет данные, необходимые для идентифицируя состояние цели управления и вычисляя соответствующую компенсацию значение, если необходима регулировка.

Привод управляется в соответствии с вычисленным значением компенсации, чтобы получить желаемый результат.

Принцип работы

Логика системы управления

Система DCT (трансмиссия с двойным сцеплением)
Сервисные данные Сервисные данные Трансмиссия с двойным сцеплением Модель трансмиссии Д7УФ1 Инженерная модель Гамма 1.6 Т-ГДИ Схватить ...
Модуль управления DCT (TCM)
Принципиальные диаграммы Разъем ТСМ Функция терминала TCM Соединитель [А] Приколоть Описание Приколоть Описание ...
Дополнительная информация:

Руководство по эксплуатации Kia Forte 2019-2023 (BD): Тип предупреждения


Если автомобиль обнаружен датчиками приближается к вашему автомобилю, предупреждение прозвучит сигнал предупреждения свет на наружном зеркале заднего вида будет мигать и появится сообщение на ЖК-дисплее. ✽ УВЕДОМЛЕНИЕ Предупреждающий звуковой сигнал отключится: - Когда обнаруженное транспортное средство движется ...

Kia Forte 2019-2023 (BD) Руководство по обслуживанию: Регулятор температуры воды в сборе


Компоненты и расположение компонентов Компоненты 1. Контроль температуры воды сборка 2. Датчик температуры охлаждающей жидкости двигателя 3. Уплотнительное кольцо 4. водопровод 5. прокладка водопроводной трубы Процедуры ремонта Снятие и установка Водяная темпера...